新浪财经

神州数码:2023年净利11.72亿元 同比增长16.66% 拟10派4.46元

中证网

关注

中证智能财讯 神州数码(000034)3月29日披露2023年年报。2023年,公司实现营业总收入1196.24亿元,同比增长3.23%;归母净利润11.72亿元,同比增长16.66%;扣非净利润12.63亿元,同比增长37.22%;经营活动产生的现金流量净额为-1.51亿元,上年同期为8.36亿元;报告期内,神州数码基本每股收益为1.7937元,加权平均净资产收益率为14.65%。公司2023年年度利润分配预案为:拟向全体股东每10股派4.46元(含税)。

以3月28日收盘价计算,神州数码目前市盈率(TTM)约为17.77倍,市净率(LF)约为2.43倍,市销率(TTM)约为0.17倍。

公司近年市盈率(TTM)、市净率(LF)、市销率(TTM)历史分位图如下所示:

数据统计显示,神州数码近三年营业总收入复合增长率为9.12%,在IT服务Ⅲ行业已披露2023年数据的7家公司中排名第3。近三年净利润复合年增长率为21.60%,排名2/7。

资料显示,公司展开自主品牌全新布局,以客户为中心,以多样性算力为核心,打造覆盖数据计算、数据存储、数据传输、数据安全在内的全线自主品牌产品和方案服务能力。

分产品来看,2023年公司主营业务中,消费电子业务收入738.86亿元,同比增长10.03%,占营业收入的61.77%;企业增值业务收入349.67亿元,同比下降14.97%,占营业收入的29.23%;云计算及数字化转型收入69.31亿元,同比增长37.98%,占营业收入的5.79%。

截至2023年末,公司员工总数为6174人,人均创收1937.54万元,人均创利18.98万元,人均薪酬24.96万元,较上年同期分别下降11.73%、0.25%、11.87%。

2023年,公司毛利率为3.99%,同比上升0.07个百分点;净利率为1.01%,较上年同期上升0.12个百分点。从单季度指标来看,2023年第四季度公司毛利率为4.11%,同比上升0.28个百分点,环比下降0.28个百分点;净利率为0.93%,较上年同期下降0.13个百分点,较上一季度下降0.57个百分点。

分产品看,消费电子业务、企业增值业务、云计算及数字化转型2023年毛利率分别为2.17%、5.54%、11.72%。

报告期内,公司前五大客户合计销售金额467.06亿元,占总销售金额比例为39.04%,公司前五名供应商合计采购金额646.04亿元,占年度采购总额比例为57.01%。

数据显示,2023年公司加权平均净资产收益率为14.65%,较上年同期下降0.32个百分点;公司2023年投入资本回报率为6.54%,较上年同期增长0.19个百分点。

2023年,公司经营活动现金流净额为-1.51亿元,同比减少9.88亿元,主要系本报告期信创业务规模上涨,资金需求增加所致;筹资活动现金流净额26.27亿元,同比增加32.36亿元,主要系本年发行可转债及借款净额增加所致;投资活动现金流净额-10.80亿元,上年同期为-1.61亿元,主要系本报告期投资山石等公司所致。

进一步统计发现,2023年公司自由现金流为-14.25亿元,上年同期为-2.32亿元。

2023年,公司营业收入现金比为115.68%,净现比为-12.92%。

营运能力方面,2023年,公司公司总资产周转率为2.81次,上年同期为2.93次(2022年行业平均值为0.47次,公司位居同行业1/135);公司应收账款周转率、存货周转率分别为11.95次、9.25次。

2023年,公司期间费用为31.05亿元,较上年同期增加1.17亿元;期间费用率为2.60%,较上年同期上升0.02个百分点。其中,销售费用同比增长4.56%,管理费用同比增长8.47%,研发费用同比增长18.1%,财务费用同比下降11.83%。

资产重大变化方面,截至2023年年末,公司存货较上年末减少1.26%,占公司总资产比重下降3.58个百分点;应收账款较上年末增加29.34%,占公司总资产比重上升3.45个百分点;预付款项较上年末减少8.32%,占公司总资产比重下降2.56个百分点;货币资金较上年末增加30.61%,占公司总资产比重上升1.83个百分点。

负债重大变化方面,截至2023年年末,公司短期借款较上年末增加32.21%,占公司总资产比重上升3.83个百分点,主要系业务增长,资金需求增加;应付票据较上年末减少16.06%,占公司总资产比重下降4.13个百分点;应付账款较上年末增加10.24%,占公司总资产比重下降0.20个百分点;长期借款较上年末增加7.04%,占公司总资产比重下降0.42个百分点。

从存货变动来看,截至2023年年末,公司存货账面价值为123.38亿元,占净资产的144.18%,较上年末减少1.57亿元。其中,存货跌价准备为3.68亿元,计提比例为2.9%。

2023年全年,公司研发投入金额为3.76亿元,同比增长29.16%;研发投入占营业收入比例为0.31%,相比上年同期上升0.06个百分点。此外,公司全年研发投入资本化率为8.77%。

在偿债能力方面,公司2023年年末资产负债率为79.37%,相比上年末下降0.19个百分点;有息资产负债率为38.27%,相比上年末上升5.85个百分点。

2023年,公司流动比率为1.21,速动比率为0.80。

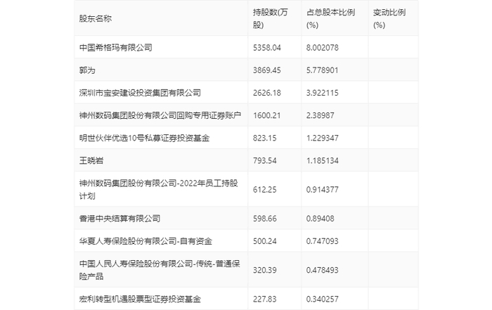
年报显示,2023年年末公司十大流通股东中,新进股东为神州数码集团股份有限公司回购专用证券账户、中国人民人寿保险股份有限公司-传统-普通保险产品。在具体持股比例上,中国希格玛有限公司、香港中央结算有限公司、华夏人寿保险股份有限公司-自有资金、宏利转型机遇股票型证券投资基金持股有所下降。

筹码集中度方面,截至2023年年末,公司股东总户数为7.11万户,较三季度末增长了1.2万户,增幅20.29%;户均持股市值由三季度末的31.29万元下降至28.18万元,降幅为9.94%。

指标注解:

市盈率

=总市值/净利润。当公司亏损时市盈率为负,此时用市盈率估值没有实际意义,往往用市净率或市销率做参考。

市净率

=总市值/净资产。市净率估值法多用于盈利波动较大而净资产相对稳定的公司。

市销率

=总市值/营业收入。市销率估值法通常用于亏损或微利的成长型公司。

文中市盈率和市销率采用TTM方式,即以截至最近一期财报(含预报)12个月的数据计算。市净率采用LF方式,即以最近一期财报数据计算。

市盈率为负时,不显示当期分位数,会导致折线图中断。

加载中...