新浪财经

生益科技:2023年净利润同比下降23.96% 拟10派4.5元

中证网

关注

中证智能财讯 生益科技(600183)3月29日披露2023年年报。2023年,公司实现营业总收入165.86亿元,同比下降7.93%;归母净利润11.64亿元,同比下降23.96%;扣非净利润10.92亿元,同比下降23.57%;经营活动产生的现金流量净额为27.43亿元,同比下降2.73%;报告期内,生益科技基本每股收益为0.5元,加权平均净资产收益率为8.57%。公司2023年年度利润分配预案为:拟向全体股东每10股派4.5元(含税)。

以3月28日收盘价计算,生益科技目前市盈率(TTM)约为35.48倍,市净率(LF)约为2.95倍,市销率(TTM)约为2.49倍。

公司近年市盈率(TTM)、市净率(LF)、市销率(TTM)历史分位图如下所示:

数据统计显示,生益科技近三年营业总收入复合增长率为4.14%,在印制电路板行业已披露2023年数据的10家公司中排名第8。近三年净利润复合年增长率为-11.52%,排名7/10。

资料显示,公司从事的主要业务为:设计、生产和销售覆铜板和粘结片、印制线路板。

分产品来看,2023年公司主营业务中,覆铜板业务收入127.74亿元,占营业收入的77.02%;线路板业务收入32.50亿元,占营业收入的19.60%。

截至2023年末,公司员工总数为11551人,人均创收143.59万元,人均创利10.08万元,人均薪酬16.66万元,较上年同期分别下降7.28%、23.42%、8.15%。

2023年,公司毛利率为19.24%,同比下降2.79个百分点;净利率为6.93%,较上年同期下降2.13个百分点。从单季度指标来看,2023年第四季度公司毛利率为18.38%,同比下降3.68个百分点,环比下降1.58个百分点;净利率为6.15%,较上年同期下降2.08个百分点,较上一季度下降1.42个百分点。

报告期内,公司前五大客户合计销售金额25.94亿元,占总销售金额比例为15.93%,公司前五名供应商合计采购金额27.74亿元,占年度采购总额比例为23.22%。

数据显示,2023年公司加权平均净资产收益率为8.57%,较上年同期下降3.14个百分点;公司2023年投入资本回报率为6.31%,较上年同期下降2.61个百分点。

2023年,公司经营活动现金流净额为27.43亿元,同比下降2.73%;筹资活动现金流净额-19.19亿元,同比减少12.71亿元;投资活动现金流净额-11.62亿元,上年同期为-11.93亿元。

进一步统计发现,2023年公司自由现金流为10.61亿元,相比上年同期下降33.35%。

2023年,公司营业收入现金比为83.27%,净现比为235.67%。

营运能力方面,2023年,公司公司总资产周转率为0.66次,上年同期为0.73次(2022年行业平均值为0.64次,公司位居同行业14/41);固定资产周转率为1.96次,上年同期为2.41次(2022年行业平均值为2.18次,公司位居同行业15/41);公司应收账款周转率、存货周转率分别为2.99次、3.21次。

2023年,公司期间费用为19.08亿元,较上年同期减少1.85亿元;期间费用率为11.50%,较上年同期下降0.12个百分点。其中,销售费用同比增长8.74%,管理费用同比下降11.97%,研发费用同比下降10.86%,财务费用同比下降6.76%。

资产重大变化方面,截至2023年年末,公司在建工程较上年末减少83.62%,占公司总资产比重下降5.73个百分点;固定资产较上年末增加15.23%,占公司总资产比重上升5.10个百分点;货币资金较上年末减少10.66%,占公司总资产比重下降1.21个百分点;存货较上年末增加4.59%,占公司总资产比重上升0.90个百分点。

负债重大变化方面,截至2023年年末,公司应付票据较上年末增加292.62%,占公司总资产比重上升3.41个百分点;应付账款较上年末减少19.03%,占公司总资产比重下降2.46个百分点;长期借款较上年末减少31.44%,占公司总资产比重下降1.43个百分点,主要系长期借款转一年内到期的非流动负债;应付债券较上年末减少37.50%,占公司总资产比重下降1.18个百分点,主要系本期应付债券转一年内到期的非流动负债。

从存货变动来看,截至2023年年末,公司存货账面价值为42.71亿元,占净资产的30.54%,较上年末增加1.87亿元。其中,存货跌价准备为1.83亿元,计提比例为4.12%。

2023年全年,公司研发投入金额为8.41亿元,同比下降10.86%;研发投入占营业收入比例为5.07%,相比上年同期下降0.13个百分点。此外,公司全年研发投入资本化率为0。

在偿债能力方面,公司2023年年末资产负债率为37.09%,相比上年末下降2.20个百分点;有息资产负债率为15.38%,相比上年末下降3.55个百分点。

2023年,公司流动比率为1.92,速动比率为1.33。

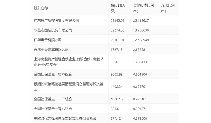
年报显示,2023年年末公司十大流通股东中,新进股东为景顺长城策略精选灵活配置混合型证券投资基金、中欧时代先锋股票型发起式证券投资基金,取代了三季度末的东莞市科创资本产业发展投资有限公司、国泰基金管理有限公司-社保基金1102组合。在具体持股比例上,广东省广新控股集团有限公司、东莞市国弘投资有限公司、上海高毅资产管理合伙企业(有限合伙)-高毅邻山1号远望基金持股有所上升,伟华电子有限公司、香港中央结算有限公司、全国社保基金一零六组合、全国社保基金一一二组合、全国社保基金一零八组合持股有所下降。

筹码集中度方面,截至2023年年末,公司股东总户数为10.48万户,较三季度末下降了1.14万户,降幅9.81%;户均持股市值由三季度末的31.08万元上升至41.14万元,增幅为32.37%。

指标注解:

市盈率

=总市值/净利润。当公司亏损时市盈率为负,此时用市盈率估值没有实际意义,往往用市净率或市销率做参考。

市净率

=总市值/净资产。市净率估值法多用于盈利波动较大而净资产相对稳定的公司。

市销率

=总市值/营业收入。市销率估值法通常用于亏损或微利的成长型公司。

文中市盈率和市销率采用TTM方式,即以截至最近一期财报(含预报)12个月的数据计算。市净率采用LF方式,即以最近一期财报数据计算。

市盈率为负时,不显示当期分位数,会导致折线图中断。

加载中...