新浪财经

金力永磁:2023年净利同比下降19.78% 拟10派2.6元

中证网

关注

中证智能财讯 金力永磁(300748)3月29日披露2023年年报。2023年,公司实现营业总收入66.88亿元,同比下降6.66%;归母净利润5.64亿元,同比下降19.78%;扣非净利润4.93亿元,同比下降27.68%;经营活动产生的现金流量净额为15.18亿元,同比增长389.41%;报告期内,金力永磁基本每股收益为0.42元,加权平均净资产收益率为8.11%。公司2023年年度利润分配预案为:拟向全体股东每10股派2.6元(含税)。

以3月28日收盘价计算,金力永磁目前市盈率(TTM)约为36.76倍,市净率(LF)约为2.95倍,市销率(TTM)约为3.1倍。

公司近年市盈率(TTM)、市净率(LF)、市销率(TTM)历史分位图如下所示:

数据统计显示,金力永磁近三年营业总收入复合增长率为40.38%,近三年净利润复合年增长率为32.11%。

资料显示,公司是集研发、生产和销售高性能钕铁硼永磁材料于一体的高新技术企业,是新能源和节能环保领域高性能稀土永磁材料的领先供应商。

分产品来看,2023年公司主营业务中,钕铁硼磁钢收入57.65亿元,同比下降5.23%,占营业收入的86.20%。

截至2023年末,公司员工总数为5461人,人均创收122.47万元,人均创利10.32万元,人均薪酬10.77万元,较上年同期分别变化-14.49%、-26.51%、11.64%。

2023年,公司毛利率为16.07%,同比下降0.11个百分点;净利率为8.48%,较上年同期下降1.35个百分点。从单季度指标来看,2023年第四季度公司毛利率为14.48%,同比上升4.72个百分点,环比下降3.95个百分点;净利率为4.27%,较上年同期上升3.41个百分点,较上一季度下降5.79个百分点。

报告期内,公司前五大客户合计销售金额31.12亿元,占总销售金额比例为46.54%,公司前五名供应商合计采购金额44.61亿元,占年度采购总额比例为81.81%。

数据显示,2023年公司加权平均净资产收益率为8.11%,较上年同期下降3.24个百分点;公司2023年投入资本回报率为6.71%,较上年同期下降4.52个百分点。

2023年,公司经营活动现金流净额为15.18亿元,同比增长389.41%;筹资活动现金流净额-8.16亿元,同比减少32.52亿元;投资活动现金流净额-9.42亿元,上年同期为-7.54亿元。

进一步统计发现,2023年公司自由现金流为6.47亿元,上年同期为-0.24亿元。

2023年,公司营业收入现金比为127.53%,净现比为269.25%。

营运能力方面,2023年,公司公司总资产周转率为0.58次,上年同期为0.83次(2022年行业平均值为0.77次,公司位居同行业6/13);固定资产周转率为4.43次,上年同期为7.18次(2022年行业平均值为4.79次,公司位居同行业2/13);公司应收账款周转率、存货周转率分别为3.21次、2.71次。

2023年,公司期间费用为4.88亿元,较上年同期增加1.21亿元;期间费用率为7.30%,较上年同期上升2.17个百分点。其中,销售费用同比下降2.84%,管理费用同比增长5.56%,研发费用同比增长4.86%,财务费用由去年同期的-1.54亿元变为-5696.06万元。

资产重大变化方面,截至2023年年末,公司货币资金较上年末减少5.92%,占公司总资产比重下降3.95个百分点;应收票据较上年末减少72.34%,占公司总资产比重下降3.61个百分点;在建工程较上年末增加93.64%,占公司总资产比重上升2.94个百分点;应收账款较上年末减少9.65%,占公司总资产比重下降2.79个百分点。

负债重大变化方面,截至2023年年末,公司短期借款较上年末减少57.60%,占公司总资产比重下降5.04个百分点,主要系报告期归还到期借款;长期借款较上年末增加172.11%,占公司总资产比重上升2.82个百分点,主要系报告期增加长期借款;一年内到期的非流动负债较上年末减少97.55%,占公司总资产比重下降2.66个百分点;合同负债较上年末增加1104.03%,占公司总资产比重上升2.22个百分点,主要系报告期收到客户预付款项。

从存货变动来看,截至2023年年末,公司存货账面价值为22.13亿元,占净资产的31.52%,较上年末增加2.82亿元。其中,存货跌价准备为813.18万元,计提比例为0.37%。

2023年全年,公司研发投入金额为3.54亿元,同比增长4.86%;研发投入占营业收入比例为5.29%,相比上年同期上升0.58个百分点。此外,公司全年研发投入资本化率为0。

年报显示,在技术研发方面,公司已掌握以晶界渗透技术为核心的自主核心技术及专利体系,包括晶界渗透技术、配方体系、晶粒细化技术、一次成型技术、生产工艺自动化技术以及耐高温耐高腐蚀性新型涂层技术。截至2023年12月31日,包括欧、美、日等海外地区,公司共拥有已授权和在审中的发明及实用新型专利115件。

在偿债能力方面,公司2023年年末资产负债率为40.49%,相比上年末上升0.98个百分点;有息资产负债率为8.05%,相比上年末下降4.87个百分点。

2023年,公司流动比率为2.22,速动比率为1.66。

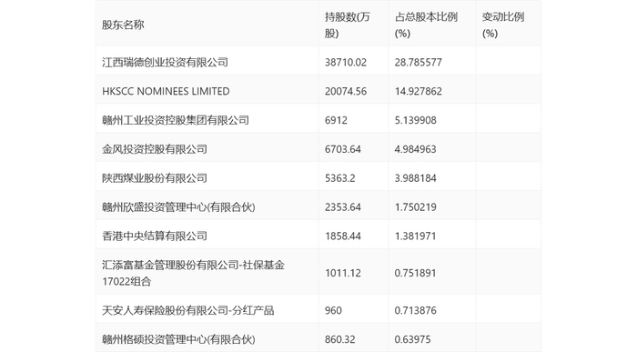
年报显示,2023年年末公司十大流通股东中,持股最多的为江西瑞德创业投资有限公司,占比28.79%。十大流通股东名单相比2023年三季报维持不变。在具体持股比例上,汇添富基金管理股份有限公司-社保基金17022组合持股有所上升,江西瑞德创业投资有限公司、HKSCC NOMINEES LIMITED、赣州工业投资控股集团有限公司、金风投资控股有限公司、陕西煤业股份有限公司、赣州欣盛投资管理中心(有限合伙)、香港中央结算有限公司、天安人寿保险股份有限公司-分红产品、赣州格硕投资管理中心(有限合伙)持股有所下降。

指标注解:

市盈率

=总市值/净利润。当公司亏损时市盈率为负,此时用市盈率估值没有实际意义,往往用市净率或市销率做参考。

市净率

=总市值/净资产。市净率估值法多用于盈利波动较大而净资产相对稳定的公司。

市销率

=总市值/营业收入。市销率估值法通常用于亏损或微利的成长型公司。

文中市盈率和市销率采用TTM方式,即以截至最近一期财报(含预报)12个月的数据计算。市净率采用LF方式,即以最近一期财报数据计算。

市盈率为负时,不显示当期分位数,会导致折线图中断。

加载中...