新浪财经

大亚圣象:2023年净利同比下降20.84% 拟10派1.9元

中证网

关注

中证智能财讯 大亚圣象(000910)3月29日披露2023年年报。2023年,公司实现营业总收入65.32亿元,同比下降11.29%;归母净利润3.33亿元,同比下降20.84%;扣非净利润2.98亿元,同比下降12.70%;经营活动产生的现金流量净额为6.59亿元,同比增长1.34%;报告期内,大亚圣象基本每股收益为0.61元,加权平均净资产收益率为5.06%。公司2023年年度利润分配预案为:拟向全体股东每10股派1.9元(含税)。

以3月28日收盘价计算,大亚圣象目前市盈率(TTM)约为11.96倍,市净率(LF)约为0.59倍,市销率(TTM)约为0.61倍。

公司近年市盈率(TTM)、市净率(LF)、市销率(TTM)历史分位图如下所示:

数据统计显示,大亚圣象近三年营业总收入复合增长率为-3.48%,近三年净利润复合年增长率为-18.98%。

年报显示,公司主要从事地板和人造板的生产销售业务。

分产品来看,2023年公司主营业务中,木地板收入43.31亿元,同比下降7.44%,占营业收入的66.31%;中高密度板收入15.43亿元,同比下降4.35%,占营业收入的23.62%;竹、石塑地板等收入5.64亿元,同比下降42.25%,占营业收入的8.64%。

截至2023年末,公司员工总数为5793人,人均创收112.75万元,人均创利5.74万元,人均薪酬13.47万元,较上年同期分别变化0.29%、-10.51%、14.10%。

2023年,公司毛利率为25.91%,同比上升1.77个百分点;净利率为5.24%,较上年同期下降0.57个百分点。从单季度指标来看,2023年第四季度公司毛利率为24.83%,同比上升0.72个百分点,环比下降1.71个百分点;净利率为4.51%,较上年同期下降0.21个百分点,较上一季度下降3.75个百分点。

分产品看,木地板、中高密度板、竹、石塑地板等2023年毛利率分别为31.84%、9.17%、25.60%。

报告期内,公司前五大客户合计销售金额5.05亿元,占总销售金额比例为7.79%,公司前五名供应商合计采购金额3.66亿元,占年度采购总额比例为8.35%。

数据显示,2023年公司加权平均净资产收益率为5.06%,较上年同期下降1.64个百分点;公司2023年投入资本回报率为4.58%,较上年同期下降1.74个百分点。

2023年,公司经营活动现金流净额为6.59亿元,同比增长1.34%;筹资活动现金流净额-2.21亿元,同比减少4477.37万元;投资活动现金流净额-2.99亿元,上年同期为-1.11亿元。

进一步统计发现,2023年公司自由现金流为3.76亿元,相比上年同期下降25.99%。

2023年,公司营业收入现金比为104.74%,净现比为198.19%。

营运能力方面,2023年,公司公司总资产周转率为0.68次,上年同期为0.78次(2022年行业平均值为0.61次,公司位居同行业4/10);固定资产周转率为3.98次,上年同期为4.30次(2022年行业平均值为2.35次,公司位居同行业2/10);公司应收账款周转率、存货周转率分别为3.58次、2.28次。

2023年,公司期间费用为12.34亿元,较上年同期减少3478.98万元;但期间费用率为18.89%,较上年同期上升1.66个百分点。其中,销售费用同比下降7.09%,管理费用同比增长1.27%,研发费用同比下降2.16%,财务费用由去年同期的-2534.62万元变为-2426.45万元。

资产重大变化方面,截至2023年年末,公司存货较上年末减少15.96%,占公司总资产比重下降3.76个百分点;货币资金较上年末增加5.54%,占公司总资产比重上升1.59个百分点;交易性金融资产较上年末增加130.22%,占公司总资产比重上升1.39个百分点;固定资产较上年末减少5.21%,占公司总资产比重下降0.85个百分点。

负债重大变化方面,截至2023年年末,公司应付账款较上年末减少7.58%,占公司总资产比重下降1.22个百分点;短期借款较上年末减少44.77%,占公司总资产比重下降0.73个百分点;其他应付款(含利息和股利)较上年末减少9.98%,占公司总资产比重下降0.32个百分点;租赁负债较上年末减少28.36%,占公司总资产比重下降0.27个百分点。

从存货变动来看,截至2023年年末,公司存货账面价值为19.34亿元,占净资产的28.85%,较上年末减少3.67亿元。其中,存货跌价准备为5590.6万元,计提比例为2.81%。

2023年全年,公司研发投入金额为1.28亿元,同比下降2.16%;研发投入占营业收入比例为1.95%,相比上年同期上升0.18个百分点。此外,公司全年研发投入资本化率为0。

在偿债能力方面,公司2023年年末资产负债率为27.94%,相比上年末下降2.85个百分点;有息资产负债率为1.02%,相比上年末下降0.66个百分点。

2023年,公司流动比率为2.76,速动比率为1.99。

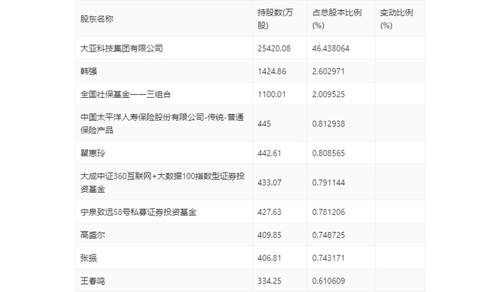
年报显示,2023年年末公司十大流通股东中,新进股东为大成中证360互联网+大数据100指数型证券投资基金、高盛尔、王春鸣,取代了三季度末的香港中央结算有限公司、立本成长2号私募证券投资基金、宁泉致远59号私募证券投资基金。在具体持股比例上,韩强、中国太平洋人寿保险股份有限公司-传统-普通保险产品、瞿惠玲持股有所上升。

值得注意的是,根据年报数据,大亚圣象35.81%股份处于质押状态。其中,第一大股东大亚科技集团有限公司质押1.96亿股公司股份,占其全部持股的77.10%。

筹码集中度方面,截至2023年年末,公司股东总户数为2.41万户,较三季度末下降了293户,降幅1.20%;户均持股市值由三季度末的17.84万元上升至18.18万元,增幅为1.91%。

指标注解:

市盈率

=总市值/净利润。当公司亏损时市盈率为负,此时用市盈率估值没有实际意义,往往用市净率或市销率做参考。

市净率

=总市值/净资产。市净率估值法多用于盈利波动较大而净资产相对稳定的公司。

市销率

=总市值/营业收入。市销率估值法通常用于亏损或微利的成长型公司。

文中市盈率和市销率采用TTM方式,即以截至最近一期财报(含预报)12个月的数据计算。市净率采用LF方式,即以最近一期财报数据计算。

市盈率为负时,不显示当期分位数,会导致折线图中断。

加载中...