新浪财经

新华制药:2023年净利润同比增长20.79% 拟10派2.5元

中证网

关注

中证智能财讯 新华制药(000756)3月29日披露2023年年报。2023年,公司实现营业总收入81.01亿元,同比增长7.97%;归母净利润4.97亿元,同比增长20.79%;扣非净利润4.62亿元,同比增长21.94%;经营活动产生的现金流量净额为2.65亿元,同比下降65.01%;报告期内,新华制药基本每股收益为0.74元,加权平均净资产收益率为11.41%。公司2023年年度利润分配预案为:拟向全体股东每10股派2.5元(含税)。

以3月28日收盘价计算,新华制药目前市盈率(TTM)约为22.84倍,市净率(LF)约为2.49倍,市销率(TTM)约为1.4倍。

公司近年市盈率(TTM)、市净率(LF)、市销率(TTM)历史分位图如下所示:

数据统计显示,新华制药近三年营业总收入复合增长率为10.49%,近三年净利润复合年增长率为15.19%。

资料显示,公司主要从事开发、制造和销售化学原料药、制剂、医药中间体及其他产品。

分产品来看,2023年公司主营业务中,片剂、针剂、胶囊剂等制剂收入36.39亿元,同比增长13.94%,占营业收入的44.92%;解热镇痛类等原料药收入31.20亿元,同比下降1.62%,占营业收入的38.52%。

2023年,公司毛利率为29.52%,同比上升2.37个百分点;净利率为6.25%,较上年同期上升0.57个百分点。从单季度指标来看,2023年第四季度公司毛利率为31.28%,同比上升1.12个百分点,环比上升3.95个百分点;净利率为6.60%,较上年同期上升0.60个百分点,较上一季度下降0.23个百分点。

分产品看,片剂、针剂、胶囊剂等制剂、解热镇痛类等原料药2023年毛利率分别为29.66%、39.61%。

报告期内,公司前五大客户合计销售金额11.21亿元,占总销售金额比例为13.85%,公司前五名供应商合计采购金额3.91亿元,占年度采购总额比例为21.29%。

数据显示,2023年公司加权平均净资产收益率为11.41%,较上年同期增长0.80个百分点;公司2023年投入资本回报率为8.99%,较上年同期增长0.13个百分点。

2023年,公司经营活动现金流净额为2.65亿元,同比下降65.01%;筹资活动现金流净额-1.96亿元,同比减少6545.32万元;投资活动现金流净额-3.05亿元,上年同期为-2.29亿元。

进一步统计发现,2023年公司自由现金流为2.36亿元,相比上年同期下降74.73%。

2023年,公司营业收入现金比为87.12%,净现比为53.43%。

营运能力方面,2023年,公司公司总资产周转率为0.98次,上年同期为0.96次(2022年行业平均值为0.49次,公司位居同行业4/47);公司应收账款周转率、存货周转率分别为11.09次、4.52次。

2023年,公司期间费用为17.30亿元,较上年同期增加2.40亿元;期间费用率为21.35%,较上年同期上升1.50个百分点。其中,销售费用同比增长18.51%,管理费用同比增长13.3%,研发费用同比增长21.29%,财务费用同比下降48.93%。

资产重大变化方面,截至2023年年末,公司货币资金较上年末减少20.75%,占公司总资产比重下降2.94个百分点;在建工程较上年末增加33.83%,占公司总资产比重上升2.21个百分点;固定资产较上年末减少3.54%,占公司总资产比重下降1.58个百分点;存货较上年末增加8.33%,占公司总资产比重上升1.19个百分点。

负债重大变化方面,截至2023年年末,公司合同负债较上年末减少74.86%,占公司总资产比重下降5.38个百分点;一年内到期的非流动负债较上年末减少61.84%,占公司总资产比重下降5.38个百分点;长期借款较上年末增加46.50%,占公司总资产比重上升3.05个百分点;短期借款较上年末增加140.60%,占公司总资产比重上升2.00个百分点。

从存货变动来看,截至2023年年末,公司存货账面价值为13.13亿元,占净资产的28.84%,较上年末增加1.01亿元。其中,存货跌价准备为6957.39万元,计提比例为5.03%。

2023年全年,公司研发投入金额为4.06亿元,同比增长15.44%;研发投入占营业收入比例为5.01%,相比上年同期上升0.32个百分点。

在偿债能力方面,公司2023年年末资产负债率为42.36%,相比上年末下降5.01个百分点;有息资产负债率为16.38%,相比上年末下降0.33个百分点。

2023年,公司流动比率为1.33,速动比率为0.81。

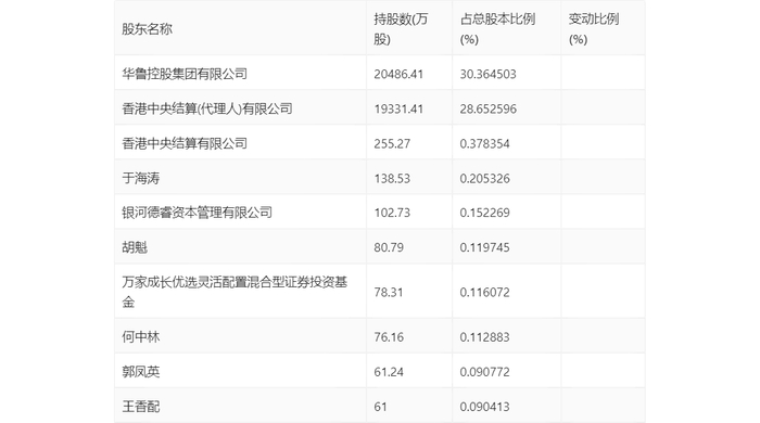
年报显示,2023年年末公司十大流通股东中,新进股东为胡魁、万家成长优选灵活配置混合型证券投资基金、何中林、郭凤英、王香配,取代了三季度末的方威、李丞、徐阳、华泰证券股份有限公司、光大证券股份有限公司。在具体持股比例上,银河德睿资本管理有限公司持股有所上升,香港中央结算(代理人)有限公司、香港中央结算有限公司、于海涛持股有所下降。

筹码集中度方面,截至2023年末,公司股东总户数为9.76万户,较三季度末下降了4383户,降幅4.3%;户均持股市值由三季度末的13.32万元上升至14.09万元,增幅为5.79%。

指标注解:

市盈率

=总市值/净利润。当公司亏损时市盈率为负,此时用市盈率估值没有实际意义,往往用市净率或市销率做参考。

市净率

=总市值/净资产。市净率估值法多用于盈利波动较大而净资产相对稳定的公司。

市销率

=总市值/营业收入。市销率估值法通常用于亏损或微利的成长型公司。

文中市盈率和市销率采用TTM方式,即以截至最近一期财报(含预报)12个月的数据计算。市净率采用LF方式,即以最近一期财报数据计算。

市盈率为负时,不显示当期分位数,会导致折线图中断。

加载中...