新浪财经

中联重科:2023年净利润同比增长52.04% 拟10派3.2元

中证网

关注

中证智能财讯 中联重科(000157)3月29日披露2023年年报。2023年,公司实现营业总收入470.75亿元,同比增长13.08%;归母净利润35.06亿元,同比增长52.04%;扣非净利润27.08亿元,同比增长109.51%;经营活动产生的现金流量净额为27.13亿元,同比增长11.87%;报告期内,中联重科基本每股收益为0.43元,加权平均净资产收益率为6.41%。公司2023年年度利润分配预案为:拟向全体股东每10股派3.2元(含税)。

以3月28日收盘价计算,中联重科目前市盈率(TTM)约为19.88倍,市净率(LF)约为1.24倍,市销率(TTM)约为1.48倍。

公司近年市盈率(TTM)、市净率(LF)、市销率(TTM)历史分位图如下所示:

数据统计显示,中联重科近三年营业总收入复合增长率为-10.25%,在工程机械整机行业已披露2023年数据的5家公司中排名第5。近三年净利润复合年增长率为-21.62%,排名5/5。

分产品来看,2023年公司主营业务中,起重机械收入192.91亿元,同比增长1.64%,占营业收入的40.98%;混凝土机械收入85.98亿元,同比增长1.63%,占营业收入的18.27%;土方机械收入66.48亿元,同比增长89.32%,占营业收入的14.12%。

截至2023年末,公司员工总数为30563人,同比增加20.88%;人均创收154.03万元,人均创利11.47万元,人均薪酬17.32万元,较上年同期分别变化-6.46%、25.77%、3.46%。

2023年,公司毛利率为27.54%,同比上升5.71个百分点;净利率为8.01%,较上年同期上升2.28个百分点。从单季度指标来看,2023年第四季度公司毛利率为26.89%,同比上升2.66个百分点,环比下降0.57个百分点;净利率为6.13%,较上年同期上升4.59个百分点,较上一季度下降1.24个百分点。

分产品看,起重机械、混凝土机械、土方机械2023年毛利率分别为31.04%、22.92%、27.93%。

报告期内,公司前五大客户合计销售金额23.18亿元,占总销售金额比例为4.92%,公司前五名供应商合计采购金额43.54亿元,占年度采购总额比例为12.96%。

数据显示,2023年公司加权平均净资产收益率为6.41%,较上年同期增长2.28个百分点;公司2023年投入资本回报率为4.43%,较上年同期增长1.46个百分点。

2023年,公司经营活动现金流净额为27.13亿元,同比增长11.87%;筹资活动现金流净额-26.43亿元,同比减少1.49亿元;投资活动现金流净额-2.78亿元,上年同期为5.67亿元。

进一步统计发现,2023年公司自由现金流为43.08亿元,相比上年同期增长756.96%。

2023年,公司营业收入现金比为119.84%,净现比为77.37%。

营运能力方面,2023年,公司公司总资产周转率为0.37次,上年同期为0.34次(2022年行业平均值为0.60次,公司位居同行业17/19);固定资产周转率为4.41次,上年同期为4.84次(2022年行业平均值为5.84次,公司位居同行业13/19);公司应收账款周转率、存货周转率分别为1.79次、1.86次。

2023年,公司期间费用为86.41亿元,较上年同期增加21.89亿元;期间费用率为18.36%,较上年同期上升2.86个百分点。其中,销售费用同比增长34.99%,管理费用同比增长20.93%,研发费用同比增长37.22%,财务费用由去年同期的-2.65亿元变为-2.60亿元。

资产重大变化方面,截至2023年年末,公司存货较上年末增加58.45%,占公司总资产比重上升5.70个百分点;应收账款较上年末减少11.83%,占公司总资产比重下降3.78个百分点;交易性金融资产较上年末减少55.94%,占公司总资产比重下降1.90个百分点;长期应收款较上年末减少7.02%,占公司总资产比重下降1.81个百分点。

负债重大变化方面,截至2023年年末,公司长期借款较上年末增加36.64%,占公司总资产比重上升2.57个百分点;应付票据较上年末增加45.06%,占公司总资产比重上升2.44个百分点;其他流动负债较上年末增加52.69%,占公司总资产比重上升2.26个百分点;一年内到期的非流动负债较上年末减少62.11%,占公司总资产比重下降2.60个百分点。

从存货变动来看,截至2023年年末,公司存货账面价值为225.04亿元,占净资产的39.89%,较上年末增加83.01亿元。其中,存货跌价准备为3.31亿元,计提比例为1.45%。

2023年全年,公司研发投入金额为40.34亿元,同比增长17.13%;研发投入占营业收入比例为8.57%,相比上年同期上升0.30个百分点。此外,公司全年研发投入资本化率为10.63%。

在偿债能力方面,公司2023年年末资产负债率为54.79%,相比上年末上升0.90个百分点;有息资产负债率为17.19%,相比上年末下降0.74个百分点。

2023年,公司流动比率为1.56,速动比率为1.11。

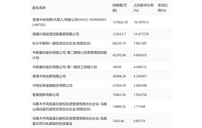
年报显示,2023年末的公司十大流通股东中,新进股东为第二期核心经营管理层持股计划,取代了三季度末的宁琛。在具体持股比例上,香港中央结算(代理人)有限公司(HKSCC NOMINEES LIMITED)、香港中央结算有限公司持股有所上升。

指标注解:

市盈率

=总市值/净利润。当公司亏损时市盈率为负,此时用市盈率估值没有实际意义,往往用市净率或市销率做参考。

市净率

=总市值/净资产。市净率估值法多用于盈利波动较大而净资产相对稳定的公司。

市销率

=总市值/营业收入。市销率估值法通常用于亏损或微利的成长型公司。

文中市盈率和市销率采用TTM方式,即以截至最近一期财报(含预报)12个月的数据计算。市净率采用LF方式,即以最近一期财报数据计算。

市盈率为负时,不显示当期分位数,会导致折线图中断。

加载中...