新浪财经

中国中免:2023年净利润同比增长33.46% 拟10派16.5元

中证网

关注

中证智能财讯 中国中免(601888)3月28日披露2023年年报。2023年,公司实现营业总收入675.40亿元,同比增长24.08%;归母净利润67.14亿元,同比增长33.46%;扣非净利润66.52亿元,同比增长35.71%;经营活动产生的现金流量净额为151.26亿元,上年同期为-34.15亿元;报告期内,中国中免基本每股收益为3.2451元,加权平均净资产收益率为13.12%。公司2023年年度利润分配预案为:拟向全体股东每10股派16.5元(含税)。

以3月27日收盘价计算,中国中免目前市盈率(TTM)约为25.63倍,市净率(LF)约为3.2倍,市销率(TTM)约为2.55倍。

公司近年市盈率(TTM)、市净率(LF)、市销率(TTM)历史分位图如下所示:

数据统计显示,中国中免近三年营业总收入复合增长率为8.69%,在商贸零售行业已披露2023年数据的13家公司中排名第7。近三年净利润复合年增长率为3.02%,排名8/13。

分产品来看,2023年公司主营业务中,免税商品销售收入442.31亿元,同比增长69.91%,占营业收入的65.49%;有税商品销售收入223.44亿元,同比下降20.12%,占营业收入的33.08%。

2023年,公司毛利率为31.82%,同比上升3.43个百分点;净利率为10.76%,较上年同期下降0.61个百分点。从单季度指标来看,2023年第四季度公司毛利率为32.04%,同比上升11.05个百分点,环比下降2.42个百分点;净利率为11.03%,较上年同期上升6.60个百分点,较上一季度上升2.16个百分点。

分产品看,免税商品销售、有税商品销售2023年毛利率分别为39.49%、15.25%。

报告期内,公司前五大客户合计销售金额0.97亿元,占总销售金额比例为0.14%,公司前五名供应商合计采购金额187.70亿元,占年度采购总额比例为44.22%。

数据显示,2023年公司加权平均净资产收益率为13.12%,较上年同期下降0.83个百分点;公司2023年投入资本回报率为10.57%,较上年同期下降1.48个百分点。

2023年,公司经营活动现金流净额为151.26亿元,同比增加185.42亿元;筹资活动现金流净额-46.28亿元,同比减少200.82亿元;投资活动现金流净额-47.16亿元,上年同期为-38.07亿元。

进一步统计发现,2023年公司自由现金流为91.90亿元,上年同期为-43.97亿元。

2023年,公司营业收入现金比为108.71%,净现比为225.31%。

营运能力方面,2023年,公司公司总资产周转率为0.87次,上年同期为0.83次(2022年行业平均值为0.59次,公司位居同行业40/105);公司应收账款周转率、存货周转率分别为465.57次、1.88次。

2023年,公司期间费用为108.19亿元,较上年同期增加43.18亿元;期间费用率为16.02%,较上年同期上升4.08个百分点。其中,销售费用同比增长133.65%,管理费用同比下降0.04%,研发费用同比增长49.69%,财务费用由去年同期的2.20亿元变为-8.69亿元。

资产重大变化方面,截至2023年年末,公司存货较上年末减少24.60%,占公司总资产比重下降10.09个百分点;货币资金较上年末增加18.39%,占公司总资产比重上升4.94个百分点;其他流动资产较上年末增加279.40%,占公司总资产比重上升3.40个百分点;其他非流动资产较上年末增加237.11%,占公司总资产比重上升1.69个百分点。

负债重大变化方面,截至2023年年末,公司短期借款较上年末减少80.88%,占公司总资产比重下降2.08个百分点;应付账款较上年末减少16.89%,占公司总资产比重下降2.02个百分点;其他应付款(含利息和股利)较上年末增加37.08%,占公司总资产比重上升1.04个百分点;合同负债较上年末减少19.28%,占公司总资产比重下降0.44个百分点。

2023年全年,公司研发投入金额为6122.14万元,同比增长49.64%;研发投入占营业收入比例为0.09%,相比上年同期上升0.01个百分点。此外,公司全年研发投入资本化率为4.57%。

在偿债能力方面,公司2023年年末资产负债率为24.96%,相比上年末下降3.73个百分点;有息资产负债率为4.60%,相比上年末下降2.14个百分点。

2023年,公司流动比率为3.81,速动比率为2.44。

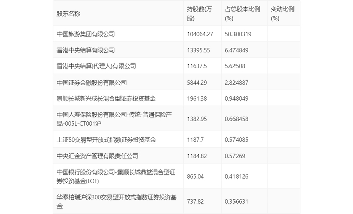
年报显示,2023年年末公司十大流通股东中,持股最多的为中国旅游集团有限公司,占比50.30%。十大流通股东名单相比2023年三季报维持不变。在具体持股比例上,上证50交易型开放式指数证券投资基金、华泰柏瑞沪深300交易型开放式指数证券投资基金持股有所上升,香港中央结算有限公司、香港中央结算(代理人)有限公司持股有所下降。

指标注解:

市盈率

=总市值/净利润。当公司亏损时市盈率为负,此时用市盈率估值没有实际意义,往往用市净率或市销率做参考。

市净率

=总市值/净资产。市净率估值法多用于盈利波动较大而净资产相对稳定的公司。

市销率

=总市值/营业收入。市销率估值法通常用于亏损或微利的成长型公司。

文中市盈率和市销率采用TTM方式,即以截至最近一期财报(含预报)12个月的数据计算。市净率采用LF方式,即以最近一期财报数据计算。

市盈率为负时,不显示当期分位数,会导致折线图中断。

加载中...