新浪财经

北斗星通:2023年净利润同比增长10.96% 拟10派1.5元

中证网

关注

中证智能财讯 北斗星通(002151)3月28日披露2023年年报。2023年,公司实现营业总收入40.82亿元,同比增长6.97%;归母净利润1.61亿元,同比增长10.96%;扣非净利润亏损3.63亿元,上年同期盈利6818.38万元;经营活动产生的现金流量净额为-2.13亿元,上年同期为-2.39亿元;报告期内,北斗星通基本每股收益为0.31元,加权平均净资产收益率为3.33%。公司2023年年度利润分配预案为:拟向全体股东每10股派1.5元(含税)。

报告期内,公司合计非经常性损益为5.24亿元,其中非流动性资产处置损益(包括已计提资产减值准备的冲销部分)为4.44亿元。

以3月27日收盘价计算,北斗星通目前市盈率(TTM)约为101.12倍,市净率(LF)约为2.93倍,市销率(TTM)约为3.99倍。

公司近年市盈率(TTM)、市净率(LF)、市销率(TTM)历史分位图如下所示:

数据统计显示,北斗星通近三年营业总收入复合增长率为4.05%,近三年净利润复合年增长率为3.22%。

资料显示,公司从事的主要业务涵盖卫星导航、5G陶瓷元器件和汽车智能网联三个行业领域,主营业务分类包括芯片及数据服务、导航产品、陶瓷元器件、汽车电子。

分产品来看,2023年公司主营业务中,产品销售收入37.82亿元,同比增长9.27%,占营业收入的92.64%;服务收入1.70亿元,同比增长8.45%,占营业收入的4.17%;系统应用收入1.30亿元,同比下降34.20%,占营业收入的3.20%。

截至2023年末,公司员工总数为2205人,人均创收185.13万元,人均创利7.31万元,人均薪酬47.01万元,较上年同期分别增长107.06%、114.78%、122.36%。

2023年,公司毛利率为21.70%,同比下降8.53个百分点;净利率为-1.37%,较上年同期下降3.29个百分点。从单季度指标来看,2023年第四季度公司毛利率为17.56%,同比下降14.22个百分点,环比下降4.34个百分点;净利率为1.97%,较上年同期上升0.95个百分点,较上一季度上升5.87个百分点。

分产品看,产品销售、服务收入、系统应用2023年毛利率分别为21.69%、29.73%、11.64%。

报告期内,公司前五大客户合计销售金额20.84亿元,占总销售金额比例为51.04%,公司前五名供应商合计采购金额13.97亿元,占年度采购总额比例为44.87%。

数据显示,2023年公司加权平均净资产收益率为3.33%,较上年同期增长0.01个百分点;公司2023年投入资本回报率为-1.56%,较上年同期下降3.27个百分点。

2023年,公司经营活动现金流净额为-2.13亿元,同比增加2569.17万元;筹资活动现金流净额10.83亿元,同比增加12.49亿元;投资活动现金流净额-7.13亿元,上年同期为-3.46亿元。

进一步统计发现,2023年公司自由现金流为-7.38亿元,上年同期为-7.42亿元。

2023年,公司营业收入现金比为106.53%,净现比为-132.15%。

营运能力方面,2023年,公司公司总资产周转率为0.58次,上年同期为0.52次(2022年行业平均值为0.34次,公司位居同行业11/60);固定资产周转率为5.19次,上年同期为4.59次(2022年行业平均值为4.55次,公司位居同行业32/60);公司应收账款周转率、存货周转率分别为3.71次、3.40次。

2023年,公司期间费用为12.53亿元,较上年同期增加1.17亿元;期间费用率为30.69%,较上年同期上升0.93个百分点。其中,销售费用同比增长9.15%,管理费用同比增长10.93%,研发费用同比增长11.32%,财务费用同比下降32.34%。

资产重大变化方面,截至2023年年末,公司交易性金融资产较上年末增加27150.29%,占公司总资产比重上升9.37个百分点;存货较上年末减少46.09%,占公司总资产比重下降5.90个百分点;应收账款较上年末减少38.83%,占公司总资产比重下降5.07个百分点;长期股权投资较上年末增加100.00%,占公司总资产比重上升5.04个百分点。

负债重大变化方面,截至2023年年末,公司应付账款较上年末减少76.41%,占公司总资产比重下降11.16个百分点;长期应付款合计较上年末减少100.00%,占公司总资产比重下降2.98个百分点;应付票据较上年末减少70.82%,占公司总资产比重下降2.48个百分点;一年内到期的非流动负债较上年末减少90.75%,占公司总资产比重下降1.09个百分点。

从存货变动来看,截至2023年年末,公司存货账面价值为6.58亿元,占净资产的11.83%,较上年末减少5.63亿元。其中,存货跌价准备为4303.48万元,计提比例为6.14%。

2023年全年,公司研发投入金额为6.53亿元,同比增长10.94%;研发投入占营业收入比例为16.00%,相比上年同期上升0.58个百分点。此外,公司全年研发投入资本化率为25.53%。

在偿债能力方面,公司2023年年末资产负债率为13.57%,相比上年末下降23.19个百分点;有息资产负债率为0.13%,相比上年末下降3.98个百分点。

2023年,公司流动比率为5.29,速动比率为4.33。

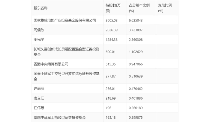
年报显示,2023年年末公司十大流通股东中,持股最多的为国家集成电路产业投资基金股份有限公司,占比6.63%。十大流通股东名单相比2023年三季报维持不变。在具体持股比例上,唐义旺持股有所上升,国家集成电路产业投资基金股份有限公司、香港中央结算有限公司、国泰中证军工交易型开放式指数证券投资基金、任伟芳、富国中证军工指数型证券投资基金持股有所下降。

筹码集中度方面,截至2023年年末,公司股东总户数为12.22万户,较三季度末增长了2630户,增幅2.20%;户均持股市值由三季度末的14.08万元下降至14.06万元,降幅为0.14%。

指标注解:

市盈率

=总市值/净利润。当公司亏损时市盈率为负,此时用市盈率估值没有实际意义,往往用市净率或市销率做参考。

市净率

=总市值/净资产。市净率估值法多用于盈利波动较大而净资产相对稳定的公司。

市销率

=总市值/营业收入。市销率估值法通常用于亏损或微利的成长型公司。

文中市盈率和市销率采用TTM方式,即以截至最近一期财报(含预报)12个月的数据计算。市净率采用LF方式,即以最近一期财报数据计算。

市盈率为负时,不显示当期分位数,会导致折线图中断。

加载中...