新浪财经

印度人口,即将突破14亿!赶超中国,升至全球第一,为期不远了哦

南生今世说

关注

印度国家统计局在公布2023年第四季度经济成绩单的同时,还发布了另外一组“并未引起媒体关注的数据”,即预计:2023-24财年的经济总规模为293.9万亿卢比(如下图),同比实际增长7.7%。

请注意是2023-24财年,不是2023或2024年

印度的财年是横跨两个自然年份的,2023-24财年(可简写成2024财年)始于2023年10月1日,至于2024年3月31日。这种情况,在巴基斯坦、伊朗等国也存在,只是起止时间不同罢了。

在报告中,印度统计局还预估2024财年的人均GDP为到21.07万卢比,与293.9万亿卢比的总规模对比后,我们可得知:印度当前的人口规模在13.95亿左右,即将实现14亿人口的突破

2023年,我国人口总数量为140967万人,虽跌破了14.1亿大关,但依然在印度之上。换言之,中国继续是全球排名第一的人口大国,印度虽然将在未来一年时间实现赶超,但目前还是第二。

印度人口,不是已经突破14亿了吗?

是的,多家媒体都曾报道印度人口在2022年或2023年突破14亿,甚至是超过中国,升至全球第一的新闻。但这些数据要么是源自联合国,要么是采用世界银行或国际货币基金组织的,而不是印度官方。

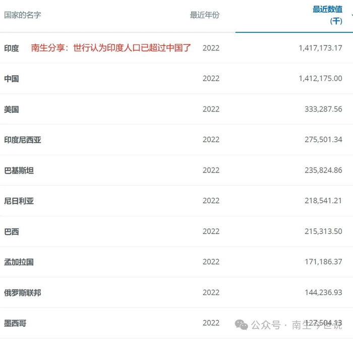
例如世界银行,它的数据库中就显示:印度人口在2022年就超过了14.17亿(如上图),当时我国人口在14.12亿左右,比印度少了500万。而世界人口组织却是在2023年4月10日发布的消息。

声称印度人口数量已达到14.1亿人,超过中国,跃居世界第一。与这些国际机构相比,印度统计局更加保守,他们预计即使是2024财年的人口数量也只是在13.95亿左右,接近14亿,而不是突破了。

虽只是接近14亿,但印度人口增长很快,最近几年的平均“年度增量都较为接近1500万”。预计到2024这个自然年份的年底时,印度人口即可达到14.1亿,从而实现对中国的赶超,为期不远了哈。

各大机构的数据,为何差异这么大呢?

除了数据获取途径不同外——毕竟联合国、世行、国际货币基金组织的统计人员不能大范围在印度采集数据啊,主要依赖推算的办法。核心影响因素是:印度的全国人口普查计划未能如期完成。

按计划,最近一次的全国人口普查理应在2021年启动,但却被新冠肺炎疫情破坏了。而前一次的全国范围内的人口普查还是在2011年举办的,非普查年份人口数据是靠推算来的。

然后再由下一次的全国人口普查数据来纠正、补充。我国也是如此,每次普查后都会修正之前数年的人口数值。但印度2021年的普查没有举办,现在公布的人口数据因为间隔时间过长导致“偏移度较大”。

印度国家统计局、联合国、世界银行、国际货币基金组织等都还在依据2011年的全国普查数据做为基础,然后再根据这些年来的出生人口、死亡人口以及其他信息来推算。

可印度的医疗条件一般,出生人口、死亡人口等信息存在着“隐瞒、漏报、未归档”。对这些数据的不同估量,成为各大机构推算出来的印度人口数值不一样的核心影响因素。换言之,印度人口数量是个谜。

强调:南生自己写的文章有原创标签,有时忘记标原创,文章底部也会加上“本文由南生撰写,严禁转载、抄袭”。

写文章,光依赖流量是无法生存的。会接一些广告,注明是转载的,赚点广告费养家。请粉丝们,分清楚文章类型哈。

加载中...