新浪财经

顺丰控股:2023年净利82.34亿元 同比增长33.38% 拟10派6元

中证网

关注

中证智能财讯 顺丰控股(002352)3月27日披露2023年年报。2023年,公司实现营业总收入2584.09亿元,同比下降3.39%;归母净利润82.34亿元,同比增长33.38%;扣非净利润71.34亿元,同比增长33.67%;经营活动产生的现金流量净额为265.70亿元,同比下降18.75%;报告期内,顺丰控股基本每股收益为1.7元,加权平均净资产收益率为9.19%。公司2023年年度利润分配预案为:拟向全体股东每10股派6元(含税)。

以3月26日收盘价计算,顺丰控股目前市盈率(TTM)约为22.55倍,市净率(LF)约为2.0倍,市销率(TTM)约为0.72倍。

公司近年市盈率(TTM)、市净率(LF)、市销率(TTM)历史分位图如下所示:

数据统计显示,顺丰控股近三年营业总收入复合增长率为18.83%,近三年净利润复合年增长率为3.97%。

资料显示,公司围绕物流生态圈,持续完善服务能力与产品体系,业务拓展至时效快递、经济快递、快运、冷运及医药、同城即时配送、国际快递、国际货运及代理、供应链等物流板块。

分产品来看,2023年公司主营业务中,时效快递收入1154.56亿元,同比增长9.23%,占营业收入的44.68%;供应链及国际收入599.79亿元,同比下降31.74%,占营业收入的23.21%;快运收入330.79亿元,同比增长18.49%,占营业收入的12.80%。

2023年,公司毛利率为12.82%,同比上升0.33个百分点;净利率为3.06%,较上年同期上升0.44个百分点。从单季度指标来看,2023年第四季度公司毛利率为12.37%,同比下降0.34个百分点,环比上升0.39个百分点;净利率为2.76%,较上年同期上升0.58个百分点,较上一季度下降0.49个百分点。

报告期内,公司前五大客户合计销售金额236.54亿元,占总销售金额比例为9.16%,公司前五名供应商合计采购金额574.01亿元,占年度采购总额比例为22.00%。

数据显示,2023年公司加权平均净资产收益率为9.19%,较上年同期增长1.85个百分点;公司2023年投入资本回报率为5.60%,较上年同期增长0.41个百分点。

2023年,公司经营活动现金流净额为265.70亿元,同比下降18.75%;筹资活动现金流净额-129.95亿元,同比增加30.22亿元;投资活动现金流净额-135.06亿元,上年同期为-120.91亿元。

进一步统计发现,2023年公司自由现金流为-30.93亿元,上年同期为238.22亿元。

2023年,公司营业收入现金比为141.30%,净现比为322.66%。

营运能力方面,2023年,公司公司总资产周转率为1.18次,上年同期为1.25次(2022年行业平均值为1.25次,公司位居同行业26/46);公司应收账款周转率、存货周转率分别为10.19次、102.66次。

2023年,公司期间费用为247.76亿元,较上年同期增加4.83亿元;期间费用率为9.59%,较上年同期上升0.51个百分点。其中,销售费用同比增长7.45%,管理费用同比增长0.33%,研发费用同比增长2.81%,财务费用同比增长9.03%。

资产重大变化方面,截至2023年年末,公司固定资产较上年末增加23.53%,占公司总资产比重上升4.22个百分点;在建工程较上年末减少63.83%,占公司总资产比重下降3.32个百分点;其他权益工具投资合计较上年末增加28.83%,占公司总资产比重上升0.88个百分点;使用权资产较上年末减少8.79%,占公司总资产比重下降0.77个百分点。

负债重大变化方面,截至2023年年末,公司短期借款较上年末增加41.94%,占公司总资产比重上升2.31个百分点;其他流动负债较上年末减少96.73%,占公司总资产比重下降2.28个百分点;长期借款较上年末增加51.97%,占公司总资产比重上升1.68个百分点;其他应付款(含利息和股利)较上年末减少13.87%,占公司总资产比重下降0.96个百分点。

2023年全年,公司研发投入金额为33.63亿元,同比下降4.67%;研发投入占营业收入比例为1.30%,相比上年同期下降0.02个百分点。此外,公司全年研发投入资本化率为32.05%。

在偿债能力方面,公司2023年年末资产负债率为53.37%,相比上年末下降1.30个百分点;有息资产负债率为26.12%,相比上年末上升2.87个百分点。

2023年,公司流动比率为1.23,速动比率为1.20。

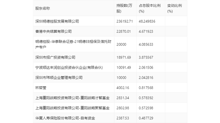
年报显示,2023年年末公司十大流通股东中,新进股东为上海重阳战略投资有限公司-重阳战略才智基金、上海重阳战略投资有限公司-重阳战略聚智基金,取代了三季度末的全国社保基金一一二组合、远海投资有限公司。在具体持股比例上,林哲莹、华夏人寿保险股份有限公司-自有资金持股有所上升,香港中央结算有限公司持股有所下降。

值得注意的是,中登公司数据显示,截至2024年3月22日,顺丰控股16.54%股份处于质押状态。其中,第一大股东深圳明德控股发展有限公司质押7.39亿股公司股份,占其全部持股的31.27%。

筹码集中度方面,截至2023年年末,公司股东总户数为19.98万户,较三季度末下降了8211户,降幅3.95%;户均持股市值由三季度末的96.00万元上升至98.96万元,增幅为3.08%。

指标注解:

市盈率

=总市值/净利润。当公司亏损时市盈率为负,此时用市盈率估值没有实际意义,往往用市净率或市销率做参考。

市净率

=总市值/净资产。市净率估值法多用于盈利波动较大而净资产相对稳定的公司。

市销率

=总市值/营业收入。市销率估值法通常用于亏损或微利的成长型公司。

文中市盈率和市销率采用TTM方式,即以截至最近一期财报(含预报)12个月的数据计算。市净率采用LF方式,即以最近一期财报数据计算。

市盈率为负时,不显示当期分位数,会导致折线图中断。

加载中...