骏鼎达遭供应商断供发起专利战,中信建投保荐工作马虎错误多
作者 | 赵书涵
3月20日,深圳市骏鼎达新材料股份有限公司(下称“骏鼎达”)正式登陆深交所创业板,其IPO发行价为55.82元/股,上市首日开盘价98.00元/股,涨幅达75.56%,最高时曾达118.60元/股,今日(3月26日)开盘最新价格为92.68元/股。
骏鼎达此次IPO发行新股数量为1,000.00万股,发行后的总股本为4,000.00万股,共募集资金55,820.00万元,其中发行费用(不含增值税)合计为7,413.32万元;聘请的保荐机构是中信建投,保荐及承销费用为5,023.80万元,不过,从申报文件及问询回复文件的质量来看,中信建投的工作质量待提高,“看门人”责任仍需压实。
申报文件编制潦草,客户分析令人一头雾水
骏鼎达是一家从事高分子改性保护材料生产的企业,在招股书中将必得科技、天普股份、文依电气等8家境内公司列为可比对象。2020年至2022年,骏鼎达各期销售费用率分别为10.29%、9.65%、8.08%,同行可比公司文依电气的各期销售费用率分别为7.25%、7.58%、5.62%。
而招股书仅隔几页,骏鼎达再次披露了其与同行公司近三年的销售费用率区间,自身近三年的销售费用率区间为8.08%-10.04%,文依电气近三年销售费用率区间为5.62%-7.25%,不知为何自身的区间数据比同一材料中之前披露的数据范围缩小,其余7家公司的销售费用率则披露一致。
另在问询回复文件中,骏鼎达的信披再次出现低级错误。
据首轮问询回复文件,保荐机构及申报会计师对骏鼎达的主要客户进行了走访,统计了已走访客户的合计销售金额占当期营业收入的比例,其中主营业务收入以“A”表示,走访金额以“B”表示,走访占比则以“C=A/B”来表示。显然该占比公式在编写中出现错误,应该以“C=B/A”来表示,不过统计的占比结果则是依据正确公式来计算的。
(截图来自首轮问询回复)
此外,还有一供应商的成立时间也在编制文件中搞错。
依据首轮问询回复,海宁市高博特种纤维股份有限公司(下称“海宁高博”)是骏鼎达单丝原料供应商,该公司成立于2000年。但是依据海宁高博的工商登记信息,其成立时间为1996年4月17日,比问询回复披露的成立时间早了约4年。
(截图来自国家企业信用信息公示系统)
招股书披露,骏鼎达2020年至2023年1-6月的主营业务收入分别为32,568.43万元、46,596.05万元、52,099.92万元和26,559.49万元,收入来自于功能性保护套管、功能性单丝、配套商品及其他产品的销售。
深交所在问询中要求骏鼎达按照产品类别、应用领域等多个维度来分析客户及销售情况,但是部分数据的变动却令人摸不着头脑。
首先,骏鼎达分析了主要产品对应的客户情况。在功能性保护套管的销售中,2020年至2022年,其对比亚迪的销售金额分别为196.90万元、971.75万元、3,488.14万元。
(截图来自首轮问询回复)
接着按应用领域列示主要产品的销售情况及对应客户时,骏鼎达表示公司的主要产品为功能性保护套管和功能性单丝,其中功能性保护套管主要应用于汽车、工程机械、轨道交通、通讯电子等四大领域,功能性单丝主要销售至厨卫行业,各领域销售金额如下表列示。
(截图来自首轮问询回复)
之后,骏鼎达开始分析汽车行业的主要客户情况。2020年至2022年,骏鼎达对比亚迪的销售金额分别为224.08万元、1,061.27万元、3,867.01万元,各年度数据均高于前文列示的骏鼎达对比亚迪销售功能性保护套管的同期金额。按照问询回复中分行业披露数据的逻辑,功能性保护套管主要销往汽车等四个行业,各行业下对应客户的销售数据不应高于骏鼎达对同一客户的销售功能性保护套管的总金额。客户沪光股份、鹏翎股份、Zippertubing在部分年度的数据披露中也是类似情况。
(截图来自首轮问询回复)
疑核心员工被限高,供应商断供下“战帖”
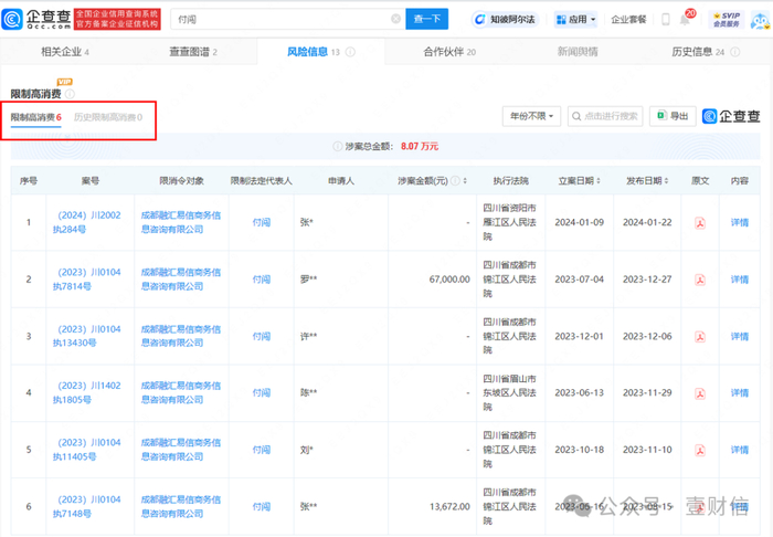
这次发行前,骏鼎达的控股股东及实控人杨凤凯、杨巧云夫妇合计持股占比达80.24%,两个员工持股平台新余博海投资合伙企业(有限合伙,下称“新余博海”)、新余骏博企业管理合伙企业(有限合伙,下称“新余骏博”)合计持股10.39%。《壹财信》在研究时发现,入股员工持股平台的一核心员工在骏鼎达上市前疑似被限高。
据申报材料,原董事付闯在2020年7月因工作地及身体原因辞去董事职务,但仍担任子公司昆山骏鼎达电子科技有限公司市场部经理。作为公司的核心员工,付闯是两个员工持股平台的有限合伙人,持有新余博海的财产份额比例为10%,持有新余骏博的财产份额比例为19.23%。
在企查查上,付闯被关联上6条限制高消费的信息,不知是否属实。根据信息,同名自然人付闯是成都融汇易信商务信息咨询有限公司的法定代表人、实控人,目前该公司被列为失信被执行人且限制高消费,付闯作为法定代表人因而也被限制高消费。
(截图来自企查查)
此外,骏鼎达目前还与供应商陷入了专利权纠纷的拉锯战,相关案件还在审理中。
2022年11月25日,即骏鼎达将参加上市委审议会议公告发布的次日,东莞三联热缩材料有限公司(下称“东莞三联”)针对骏鼎达的多项发明专利向国家知识产权局提出无效宣告请求。
2022年12月1日,骏鼎达过会。2023年7月28日公示的第一版招股书注册稿中,骏鼎达增加披露了专利被宣告无效的风险提示,不过作为无效宣告请求人的东莞三联并未被提及。
随着之后多版招股书的披露,骏鼎达与东莞三联之间的专利纷争渐渐明朗。在所涉专利中,骏鼎达部分专利被国家知识产权局宣告维持有效,部分专利被宣告无效,双方由于对部分审查决定的不满,又步入了行政诉讼的阶段。
2023年6月29日和2023年9月5日,骏鼎达向北京知识产权法院提起案号分别为“(2023)京73行初11214号”、“(2023)京73行初11798号”和“(2023)京73行初14955号”的行政诉讼,请求判令撤销国家知识产权局作出的第561358号、第561549号、第561371号无效宣告请求审查决定。不过,北京知识产权法院驳回了骏鼎达针对第561549号、第561358号无效宣告请求审查决定的诉讼请求,之后骏鼎达针对上述两个判决再次提起上诉。
东莞三联则提起了“(2023)京73行初15166号”和“(2023)京73行初17418号”的行政诉讼,被告为国家知识产权局,第三人为骏鼎达,分别请求判令撤销国家知识产权局作出的第561297号、第561887号无效宣告请求审查决定。截至招股说明书签署日,相关诉讼在审理中。
令人不解的是,东莞三联与骏鼎达之间的合作由来已久。骏鼎达2016年申请在新三板挂牌时,其公开转让说明书披露,东莞三联是其报告期内的前五大供应商之一,彼时尚未收购东莞三联的上市公司深圳市沃尔核材股份有限公司(下称“沃尔核材”)也位列骏鼎达的前五大供应商名单。
2018年,沃尔核材取得东莞三联的控制权。
在骏鼎达这次IPO申报中,其招股书披露,按照合并口径,沃尔核材2020年至2022年均排入前五大供应商名单,双方交易金额分别为1,104.60万元、1,215.07万元、885.01万元。2023年上半年,沃尔核材就没有出现在前五大供应商名单。原来在2022年9月,沃尔核材及其关联方就单方面停止接受骏鼎达新的采购订单,也由此拉开了双方关于专利纷争的序幕。
在重要采购合同的披露中,骏鼎达分别与东莞三联、沃尔核材签订的采购配套商品的合同列示其中。
除了供求关系外,骏鼎达还将沃尔核材列为同行可比公司。沃尔核材是一家从事热缩套管、标识管、双壁管、母排管等高分子核辐射改性新材料及系列电子、电力、电线新产品的研发、制造和销售的企业,其生产的热缩管等产品可用于汽车线束系统的保护。这与骏鼎达自主产品在应用领域及产品功能上具有相似之处,因而也具有一定可比性。
针对上述与核心员工同名的付闯是否同一人以及与供应商之间的专利纠纷,本刊曾向骏鼎达的公开邮箱求证,但截至发稿未有回复。针对其与供应商之间的专利纠纷走向,《壹财信》将持续关注。