新浪财经

锋龙股份:2023年亏损704.02万元

中证网

关注

中证智能财讯 锋龙股份(002931)3月26日披露2023年年报。2023年,公司实现营业总收入4.33亿元,同比下降26.22%;归母净利润亏损704.02万元,上年同期盈利4859.24万元;扣非净利润亏损1085.90万元,上年同期盈利3848.09万元;经营活动产生的现金流量净额为7254.10万元,同比下降49.06%;报告期内,锋龙股份基本每股收益为-0.04元,加权平均净资产收益率为-0.98%。

报告期内,公司合计非经常性损益为381.88万元,其中计入当期损益的政府补助(与公司正常经营业务密切相关,符合国家政策规定、按照确定的标准享有、对公司损益产生持续影响的政府补助除外)为240.33万元,非流动性资产处置损益(包括已计提资产减值准备的冲销部分)为-30.09万元。

以3月25日收盘价计算,锋龙股份目前市盈率(TTM)约为-434.86倍,市净率(LF)约为3.99倍,市销率(TTM)约为7.07倍。

公司近年市盈率(TTM)、市净率(LF)、市销率(TTM)历史分位图如下所示:

数据统计显示,锋龙股份近三年营业总收入复合增长率为-7.53%,近三年净利润复合年增长率为-145.02%。

年报称,公司主要从事园林机械零部件、汽车零部件和液压零部件的研发、生产和销售,产品主要包括点火器、飞轮、汽缸15等园林机械关键零部件,多种品规的精密铝压铸及铁件汽车零部件和工程、工业及半导体设备用高端液压控制零部件,广泛应用于割草机、油锯、绿篱机等园林机械终端产品,汽车传动、制动、调温系统及新能源汽车领域和工程机械、工业机械及半导体设备的精密控制单元。按行业分,主要分布于园林机械、汽车和液压零部件行业,按产品类型分,则主要分为电控类和机械类。依靠着年产千万套级别点火控制技术和铝压铸、机加工制造工艺方面十几年的开拓与积累,公司长年严格遵照IATF16949、ISO9001质量管理和ISO14001环境管理体系的规范运营。公司始终坚持过程控制,确保客户需求及时响应,大批量生产高质稳定。

分产品来看,2023年公司主营业务中,机械类产品收入2.70亿元,同比下降26.62%,占营业收入的62.22%;电控类产品收入1.62亿元,同比下降24.35%,占营业收入的37.37%。

截至2023年末,公司员工总数为737人,人均创收58.80万元,人均创利-0.96万元,人均薪酬12.61万元,较上年同期分别变化-17.61%、-116.18%、0.77%。

2023年,公司毛利率为18.73%,同比下降4.23个百分点;净利率为-1.62%,较上年同期下降9.89个百分点。从单季度指标来看,2023年第四季度公司毛利率为18.44%,同比下降4.19个百分点,环比上升3.16个百分点;净利率为-10.32%,较上年同期下降16.25个百分点,较上一季度下降4.69个百分点。

分产品看,机械类产品、电控类产品2023年毛利率分别为17.07%、21.36%。

报告期内,公司前五大客户合计销售金额2.19亿元,占总销售金额比例为50.54%,公司前五名供应商合计采购金额0.67亿元,占年度采购总额比例为28.50%。

数据显示,2023年公司加权平均净资产收益率为-0.98%,较上年同期下降8.07个百分点;公司2023年投入资本回报率为-0.05%,较上年同期下降5.47个百分点。

2023年,公司经营活动现金流净额为7254.10万元,同比下降49.06%;筹资活动现金流净额-4980.04万元,同比增加7810.78万元;投资活动现金流净额-4698.11万元,上年同期为1651.49万元。

进一步统计发现,2023年公司自由现金流为802.82万元,相比上年同期下降94.37%。

2023年,公司营业收入现金比为115.07%,净现比为-1030.39%。

营运能力方面,2023年,公司公司总资产周转率为0.38次,上年同期为0.49次(2022年行业平均值为0.56次,公司位居同行业53/78);固定资产周转率为1.72次,上年同期为3.12次(2022年行业平均值为2.65次,公司位居同行业31/78);公司应收账款周转率、存货周转率分别为3.67次、2.29次。

2023年,公司期间费用为7795.68万元,较上年同期减少1802.28万元;但期间费用率为17.99%,较上年同期上升1.65个百分点。其中,销售费用同比下降7.72%,管理费用同比下降15.82%,研发费用同比下降27.73%,财务费用由去年同期的-77.46万元变为32.89万元。

资产重大变化方面,截至2023年年末,公司固定资产较上年末增加71.79%,占公司总资产比重上升12.26个百分点;在建工程较上年末减少32.01%,占公司总资产比重下降5.86个百分点;存货较上年末减少23.18%,占公司总资产比重下降3.21个百分点;货币资金较上年末减少14.40%,占公司总资产比重下降1.79个百分点。

负债重大变化方面,截至2023年年末,公司应付债券较上年末减少24.70%,占公司总资产比重下降3.95个百分点;短期借款较上年末减少52.79%,占公司总资产比重下降3.99个百分点;应付账款较上年末增加22.32%,占公司总资产比重上升2.05个百分点;其他应付款(含利息和股利)较上年末减少37.98%,占公司总资产比重下降0.68个百分点。

2023年全年,公司研发投入金额为2808.95万元,同比下降27.73%;研发投入占营业收入比例为6.48%,相比上年同期下降0.14个百分点。此外,公司全年研发投入资本化率为0。

年报显示,截至2023年12月31日,公司现行有效专利总计204项,其中美国发明专利6项,日本发明专利1项,国内发明专利34项和国内实用新型专利163项。同时,公司子公司还拥有5项软件著作权和1项作品著作权。

在偿债能力方面,公司2023年年末资产负债率为31.50%,相比上年末下降7.01个百分点;有息资产负债率为17.33%,相比上年末下降7.91个百分点。

2023年,公司流动比率为2.91,速动比率为2.23。

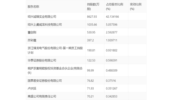
年报显示,2023年年末公司十大流通股东中,新进股东为华泰证券股份有限公司、国泰君安证券股份有限公司、卢庆延、高盛公司有限责任公司,取代了三季度末的易谋建、UBS AG、国金量化多因子股票型证券投资基金、李宇红。在具体持股比例上,绍兴诚锋实业有限公司、绍兴上虞威龙科技有限公司、董剑刚、厉彩霞、浙江锋龙电气股份有限公司-第一期员工持股计划、桐庐浙富桐君股权投资基金合伙企业(有限合伙)持股有所下降。

值得注意的是,根据年报数据,锋龙股份17.47%股份处于质押状态。其中,第一大股东绍兴诚锋实业有限公司质押3578.20万股公司股份,占其全部持股的41.47%。

筹码集中度方面,截至2023年年末,公司股东总户数为3.11万户,较三季度末增长了1.76万户,增幅131.03%;户均持股市值由三季度末的17.08万元下降至10.09万元,降幅为40.93%。

指标注解:

市盈率

=总市值/净利润。当公司亏损时市盈率为负,此时用市盈率估值没有实际意义,往往用市净率或市销率做参考。

市净率

=总市值/净资产。市净率估值法多用于盈利波动较大而净资产相对稳定的公司。

市销率

=总市值/营业收入。市销率估值法通常用于亏损或微利的成长型公司。

文中市盈率和市销率采用TTM方式,即以截至最近一期财报(含预报)12个月的数据计算。市净率采用LF方式,即以最近一期财报数据计算。

市盈率为负时,不显示当期分位数,会导致折线图中断。

加载中...