新浪财经

中国石油:2023年净利同比增长8.34% 拟10派2.3元

中证网

关注

中证智能财讯 中国石油(601857)3月26日披露2023年年报。2023年,公司实现营业总收入30110.12亿元,同比下降7.04%;归母净利润1611.44亿元,同比增长8.34%;扣非净利润1871.30亿元,同比增长9.91%;经营活动产生的现金流量净额为4565.96亿元,同比增长15.96%;报告期内,中国石油基本每股收益为0.88元,加权平均净资产收益率为11.40%。公司2023年年度利润分配预案为:拟向全体股东每10股派2.3元(含税)。

以3月25日收盘价计算,中国石油目前市盈率(TTM)约为10.54倍,市净率(LF)约为1.17倍,市销率(TTM)约为0.56倍。

公司近年市盈率(TTM)、市净率(LF)、市销率(TTM)历史分位图如下所示:

数据统计显示,中国石油近三年营业总收入复合增长率为15.90%,近三年净利润复合年增长率为103.93%。

分产品来看,2023年公司主营业务中,炼油产品收入22800.43亿元,占营业收入的75.72%;原油收入13558.92亿元,占营业收入的45.03%;天然气收入10744.39亿元,占营业收入的35.68%。

2023年,公司毛利率为23.53%,同比上升1.57个百分点;净利率为5.99%,较上年同期上升0.95个百分点。从单季度指标来看,2023年第四季度公司毛利率为29.28%,同比上升4.70个百分点,环比上升6.87个百分点;净利率为4.66%,较上年同期上升0.83个百分点,较上一季度下降1.79个百分点。

数据显示,2023年公司加权平均净资产收益率为11.40%,较上年同期增长0.10个百分点;公司2023年投入资本回报率为9.54%,较上年同期增长0.39个百分点。

2023年,公司经营活动现金流净额为4565.96亿元,同比增长15.96%;筹资活动现金流净额-1465.72亿元,同比减少328.59亿元;投资活动现金流净额-2557.89亿元,上年同期为-2329.71亿元。

进一步统计发现,2023年公司自由现金流为1519.97亿元,相比上年同期增长14.48%。

2023年,公司营业收入现金比为110.74%,净现比为283.35%。

营运能力方面,2023年,公司公司总资产周转率为1.11次,上年同期为1.25次(2022年行业平均值为1.13次,公司位居同行业5/10);固定资产周转率为6.47次,上年同期为7.35次(2022年行业平均值为4.04次,公司位居同行业1/10);公司应收账款周转率、存货周转率分别为42.77次、13.22次。

2023年,公司期间费用为1653.50亿元,较上年同期增加68.45亿元;期间费用率为5.49%,较上年同期上升0.60个百分点。其中,销售费用同比增长2.79%,管理费用同比增长8.91%,研发费用同比增长9.7%,财务费用同比下降7.67%。

资产重大变化方面,截至2023年年末,公司货币资金较上年末增加19.92%,占公司总资产比重上升1.37个百分点;其他应收款(含利息和股利)较上年末减少32.19%,占公司总资产比重下降0.59个百分点;使用权资产较上年末减少5.51%,占公司总资产比重下降0.41个百分点;固定资产较上年末增加1.11%,占公司总资产比重下降0.33个百分点。

负债重大变化方面,截至2023年年末,公司一年内到期的非流动负债较上年末增加66.97%,占公司总资产比重上升1.64个百分点;长期借款较上年末减少25.62%,占公司总资产比重下降1.77个百分点;应付债券较上年末减少67.77%,占公司总资产比重下降1.36个百分点;应交税费较上年末增加38.12%,占公司总资产比重上升0.69个百分点。

2023年全年,公司研发投入金额为304.77亿元,同比增长6.13%;研发投入占营业收入比例为1.00%,相比上年同期上升0.10个百分点。此外,公司全年研发投入资本化率为28.00%。

在偿债能力方面,公司2023年年末资产负债率为40.76%,相比上年末下降1.79个百分点;有息资产负债率为10.90%,相比上年末下降1.51个百分点。

2023年,公司流动比率为0.96,速动比率为0.69。

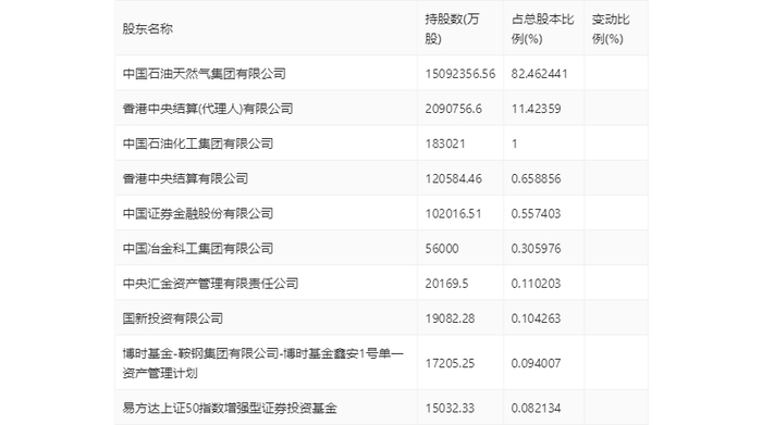
年报显示,2023年年末公司十大流通股东中,持股最多的为中国石油天然气集团有限公司,占比82.46%。十大流通股东名单相比2023年三季报维持不变。在具体持股比例上,香港中央结算(代理人)有限公司、国新投资有限公司、易方达上证50指数增强型证券投资基金持股有所上升,香港中央结算有限公司持股有所下降。

筹码集中度方面,截至2023年年末,公司A股股东总户数为47.37万户,较三季度末增长了5042户,增幅1.08%;户均持股市值由三季度末的307.97万元下降至269.62万元,降幅为12.45%。

指标注解:

市盈率

=总市值/净利润。当公司亏损时市盈率为负,此时用市盈率估值没有实际意义,往往用市净率或市销率做参考。

市净率

=总市值/净资产。市净率估值法多用于盈利波动较大而净资产相对稳定的公司。

市销率

=总市值/营业收入。市销率估值法通常用于亏损或微利的成长型公司。

文中市盈率和市销率采用TTM方式,即以截至最近一期财报(含预报)12个月的数据计算。市净率采用LF方式,即以最近一期财报数据计算。

市盈率为负时,不显示当期分位数,会导致折线图中断。

加载中...