山推股份:2023年净利润同比增长21.16% 拟10派1.5元
中证网
中证智能财讯 山推股份(000680)3月26日披露2023年年报。2023年,公司实现营业总收入105.41亿元,同比增长5.43%;归母净利润7.65亿元,同比增长21.16%;扣非净利润7.02亿元,同比增长176.53%;经营活动产生的现金流量净额为3.49亿元,同比下降8.08%;报告期内,山推股份基本每股收益为0.5099元,加权平均净资产收益率为14.67%。公司2023年年度利润分配预案为:拟向全体股东每10股派1.5元(含税)。
以3月25日收盘价计算,山推股份目前市盈率(TTM)约为12.92倍,市净率(LF)约为1.78倍,市销率(TTM)约为0.94倍。
公司近年市盈率(TTM)、市净率(LF)、市销率(TTM)历史分位图如下所示:
截至2023年末,山推股份三年营业总收入复合年增长率为13.01%,三年净利润复合年增长率为125.86%。
分产品来看,2023年公司主营业务中,工程机械主机产品收入67.66亿元,同比增长8.78%,占营业收入的64.18%;工程机械配件及其他收入27.49亿元,同比增长0.85%,占营业收入的26.08%。
截至2023年末,公司员工总数为5657人,人均创收186.33万元,人均创利13.53万元,人均薪酬16.11万元,较上年同期分别增长5.04%、20.71%、7.67%。
2023年,公司毛利率为18.44%,同比上升3.75个百分点;净利率为7.29%,较上年同期上升0.93个百分点。从单季度指标来看,2023年第四季度公司毛利率为19.42%,同比上升5.05个百分点,环比上升0.54个百分点;净利率为8.73%,较上年同期上升4.53个百分点,较上一季度上升1.18个百分点。
报告期内,公司前五大客户合计销售金额30.46亿元,占总销售金额比例为28.89%,公司前五名供应商合计采购金额26.96亿元,占年度采购总额比例为38.19%。
数据显示,2023年公司加权平均净资产收益率为14.67%,较上年同期增长1.91个百分点;公司2023年投入资本回报率为11.82%,较上年同期增长1.28个百分点。
2023年,公司经营活动现金流净额为3.49亿元,同比下降8.08%;筹资活动现金流净额-4.82亿元,同比增加1.23亿元;投资活动现金流净额1.28亿元,上年同期为-1.48亿元。
进一步统计发现,2023年公司自由现金流为10.36亿元,相比上年同期增长62.31%。
2023年,公司营业收入现金比为90.53%,净现比为45.66%。
营运能力方面,2023年,公司公司总资产周转率为0.85次,上年同期为0.87次(2022年行业平均值为0.60次,公司位居同行业5/19);固定资产周转率为7.72次,上年同期为7.63次(2022年行业平均值为5.84次,公司位居同行业7/19);公司应收账款周转率、存货周转率分别为3.35次、4.83次。
2023年,公司期间费用为12.08亿元,较上年同期增加1.31亿元;期间费用率为11.46%,较上年同期上升0.68个百分点。其中,销售费用同比下降8.43%,管理费用同比增长14.96%,研发费用同比增长14.9%,财务费用由去年同期的-5898.37万元变为-480.35万元。
资产重大变化方面,截至2023年年末,公司存货较上年末增加56.03%,占公司总资产比重上升4.09个百分点;固定资产较上年末减少6.63%,占公司总资产比重下降2.44个百分点;投资性房地产较上年末增加234.93%,占公司总资产比重上升2.43个百分点;无形资产较上年末减少31.14%,占公司总资产比重下降2.12个百分点。
负债重大变化方面,截至2023年年末,公司应付票据较上年末增加43.19%,占公司总资产比重上升5.41个百分点;合同负债较上年末增加97.30%,占公司总资产比重上升1.36个百分点;短期借款较上年末减少12.95%,占公司总资产比重下降1.56个百分点;一年内到期的非流动负债较上年末减少33.25%,占公司总资产比重下降0.55个百分点。
从存货变动来看,截至2023年年末,公司存货账面价值为21.7亿元,占净资产的38.96%,较上年末增加7.79亿元。其中,存货跌价准备为8055.44万元,计提比例为3.58%。
2023年全年,公司研发投入金额为4.58亿元,同比增长14.90%;研发投入占营业收入比例为4.34%,相比上年同期上升0.36个百分点。此外,公司全年研发投入资本化率为0。
在偿债能力方面,公司2023年年末资产负债率为56.34%,相比上年末上升1.29个百分点;有息资产负债率为5.73%,相比上年末下降1.74个百分点。
2023年,公司流动比率为1.40,速动比率为1.10。
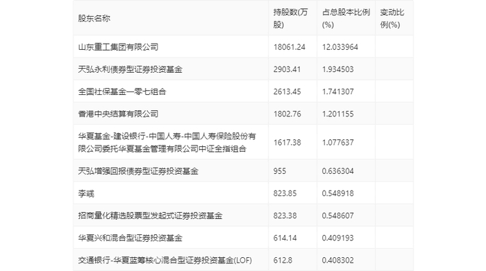
年报显示,2023年年末公司十大流通股东中,新进股东为全国社保基金一零七组合、招商量化精选股票型发起式证券投资基金,取代了三季度末的汇添富成长焦点混合型证券投资基金、华夏新能源车龙头混合型发起式证券投资基金。在具体持股比例上,华夏基金-建设银行-中国人寿-中国人寿保险股份有限公司委托华夏基金管理有限公司中证全指组合持股有所上升,天弘永利债券型证券投资基金、香港中央结算有限公司、天弘增强回报债券型证券投资基金、李彧、华夏兴和混合型证券投资基金、交通银行-华夏蓝筹核心混合型证券投资基金(LOF)持股有所下降。
筹码集中度方面,截至2023年年末,公司股东总户数为7.86万户,较三季度末下降了154户,降幅0.20%;户均持股市值由三季度末的9.14万元上升至9.43万元,增幅为3.17%。
指标注解:
市盈率
=总市值/净利润。当公司亏损时市盈率为负,此时用市盈率估值没有实际意义,往往用市净率或市销率做参考。
市净率
=总市值/净资产。市净率估值法多用于盈利波动较大而净资产相对稳定的公司。
市销率
=总市值/营业收入。市销率估值法通常用于亏损或微利的成长型公司。
文中市盈率和市销率采用TTM方式,即以截至最近一期财报(含预报)12个月的数据计算。市净率采用LF方式,即以最近一期财报数据计算。
市盈率为负时,不显示当期分位数,会导致折线图中断。