新浪财经

恒生电子:2023年净利同比增长30.50% 拟10派1.3元

中证网

关注

中证智能财讯 恒生电子(600570)3月25日披露2023年年报。2023年,公司实现营业总收入72.81亿元,同比增长11.98%;归母净利润14.24亿元,同比增长30.50%;扣非净利润14.48亿元,同比增长26.51%;经营活动产生的现金流量净额为12.61亿元,同比增长10.82%;报告期内,恒生电子基本每股收益为0.75元,加权平均净资产收益率为19.27%。公司2023年年度利润分配预案为:拟向全体股东每10股派1.3元(含税)。

以3月25日收盘价计算,恒生电子目前市盈率(TTM)约为31.92倍,市净率(LF)约为5.66倍,市销率(TTM)约为6.24倍。

公司近年市盈率(TTM)、市净率(LF)、市销率(TTM)历史分位图如下所示:

数据统计显示,恒生电子近三年营业总收入复合增长率为20.39%,在垂直应用软件行业已披露2023年数据的10家公司中排名第2。近三年净利润复合年增长率为2.52%,排名4/10。

资料显示,公司是国内领先的金融科技产品与服务提供商,聚焦金融行业,侧重资本市场业务,主要面向证券、基金、银行、期货、保险资管、信托、私募、企业金融、保险、金融基础等客户提供一站式金融科技解决方案。

分产品来看,2023年公司主营业务中,软件业收入收入72.71亿元,占营业收入的99.86%;科技园收入收入0.05亿元,同比下降67.37%,占营业收入的0.06%。

截至2023年末,公司员工总数为13189人,人均创收55.21万元,人均创利10.80万元,人均薪酬35.52万元,较上年同期分别增长13.32%、32.07%、12.61%。

2023年,公司毛利率为74.84%,同比上升1.28个百分点;净利率为19.82%,较上年同期上升2.59个百分点。从单季度指标来看,2023年第四季度公司毛利率为79.28%,同比上升3.08个百分点,环比上升7.59个百分点;净利率为28.01%,较上年同期下降11.83个百分点,较上一季度上升17.03个百分点。

分产品看,软件业收入、科技园收入2023年毛利率分别为74.85%、76.42%。

报告期内,公司前五大客户合计销售金额3.98亿元,占总销售金额比例为5.47%,公司前五名供应商合计采购金额1.39亿元,占年度采购总额比例为21.50%。

数据显示,2023年公司加权平均净资产收益率为19.27%,较上年同期增长1.91个百分点;公司2023年投入资本回报率为16.76%,较上年同期增长1.41个百分点。

2023年,公司经营活动现金流净额为12.61亿元,同比增长10.82%;筹资活动现金流净额-263.86万元,同比增加4.79亿元;投资活动现金流净额-15.03亿元,上年同期为2.86亿元。

进一步统计发现,2023年公司自由现金流为-1.33亿元,上年同期为12.43亿元。

2023年,公司营业收入现金比为108.61%,净现比为88.56%。

营运能力方面,2023年,公司公司总资产周转率为0.53次,上年同期为0.52次(2022年行业平均值为0.44次,公司位居同行业39/103);固定资产周转率为4.57次,上年同期为3.94次(2022年行业平均值为12.57次,公司位居同行业82/103);公司应收账款周转率、存货周转率分别为7.32次、3.22次。

2023年,公司期间费用为41.90亿元,较上年同期增加3.41亿元;但期间费用率为57.55%,较上年同期下降1.65个百分点。其中,销售费用同比下降4.33%,管理费用同比增长9.53%,研发费用同比增长13.42%,财务费用由去年同期的1589.47万元变为-1462.96万元。

资产重大变化方面,截至2023年年末,公司货币资金较上年末减少15.69%,占公司总资产比重下降5.21个百分点;其他流动资产较上年末增加2282.81%,占公司总资产比重上升3.47个百分点;无形资产较上年末增加129.42%,占公司总资产比重上升3.35个百分点;交易性金融资产较上年末减少21.39%,占公司总资产比重下降3.31个百分点。

负债重大变化方面,截至2023年年末,公司合同负债较上年末减少8.49%,占公司总资产比重下降3.96个百分点;短期借款较上年末增加456.02%,占公司总资产比重上升1.71个百分点;应付职工薪酬较上年末减少5.50%,占公司总资产比重下降0.96个百分点;应付账款较上年末减少6.31%,占公司总资产比重下降0.65个百分点。

从存货变动来看,截至2023年年末,公司存货账面价值为5.95亿元,占净资产的7.41%,较上年末增加5373.45万元。其中,存货跌价准备为3571.48万元,计提比例为5.66%。

2023年全年,公司研发投入金额为26.61亿元,同比增长13.42%;研发投入占营业收入比例为36.55%,相比上年同期上升0.47个百分点。此外,公司全年研发投入资本化率为0。

在偿债能力方面,公司2023年年末资产负债率为38.38%,相比上年末下降4.17个百分点;有息资产负债率为3.21%,相比上年末上升1.77个百分点。

2023年,公司流动比率为1.16,速动比率为1.05。

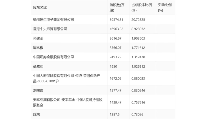
年报显示,2023年年末公司十大流通股东中,新进股东为安本亚洲有限公司-安本基金-中国A股可持续股票基金,取代了三季度末的安本亚洲有限公司-安本标准-中国A股股票基金。在具体持股比例上,中国人寿保险股份有限公司-传统-普通保险产品-005L-CT001沪持股有所上升,香港中央结算有限公司持股有所下降。

筹码集中度方面,截至2023年年末,公司股东总户数为14.21万户,较三季度末增长了1.23万户,增幅9.44%;户均持股市值由三季度末的47.48万元下降至38.45万元,降幅为19.02%。

指标注解:

市盈率

=总市值/净利润。当公司亏损时市盈率为负,此时用市盈率估值没有实际意义,往往用市净率或市销率做参考。

市净率

=总市值/净资产。市净率估值法多用于盈利波动较大而净资产相对稳定的公司。

市销率

=总市值/营业收入。市销率估值法通常用于亏损或微利的成长型公司。

文中市盈率和市销率采用TTM方式,即以截至最近一期财报(含预报)12个月的数据计算。市净率采用LF方式,即以最近一期财报数据计算。

市盈率为负时,不显示当期分位数,会导致折线图中断。

加载中...