新浪财经

海螺水泥:净利润连降三年 2023年拟10派9.6元

腾讯美股

关注

中证智能财讯海螺水泥(600585)3月20日披露2023年年报。2023年,公司实现营业总收入1409.99亿元,同比增长6.80%;归母净利润104.30亿元,同比下降33.40%;扣非净利润99.66亿元,同比下降33.72%;经营活动产生的现金流量净额为201.06亿元,同比增长108.36%;报告期内,海螺水泥基本每股收益为1.97元,加权平均净资产收益率为5.65%。公司2023年年度利润分配预案为:拟向全体股东每10股派9.6元(含税)。

值得注意的是,公司归母净利润已连续三年下降,较2020年累计降幅达70.34%。此外,加权平均净资产收益率自2019年起连续五年下降,较2018年的29.66%降至2023年的5.65%。

以3月19日收盘价计算,海螺水泥目前市盈率(TTM)约为11.79倍,市净率(LF)约为0.66倍,市销率(TTM)约为0.87倍。

公司近年市盈率(TTM)、市净率(LF)、市销率(TTM)历史分位图如下所示:

数据统计显示,海螺水泥近三年营业总收入复合增长率为-7.18%,近三年净利润复合年增长率为-33.31%。

资料显示,公司主营业务为水泥、商品熟料、骨料及混凝土的生产、销售。

分产品来看,2023年公司主营业务中,建材行业(自产品销售)-42.5级水泥收入609.17亿元,占营业收入的43.20%;建材行业(自产品销售)-32.5级水泥收入102.76亿元,同比下降11.24%,占营业收入的7.29%;建材行业(自产品销售)-熟料收入67.41亿元,同比下降31.74%,占营业收入的4.78%。

2023年,公司毛利率为16.57%,同比下降4.73个百分点;净利率为7.62%,较上年同期下降4.61个百分点。从单季度指标来看,2023年第四季度公司毛利率为12.42%,同比下降1.46个百分点,环比下降3.76个百分点;净利率为3.99%,较上年同期下降3.25个百分点,较上一季度下降2.75个百分点。

分产品看,建材行业(自产品销售)-42.5级水泥、建材行业(自产品销售)-32.5级水泥、建材行业(自产品销售)-熟料2023年毛利率分别为25.23%、30.33%、15.06%。

报告期内,公司前五大客户合计销售金额99.76亿元,占总销售金额比例为7.08%,公司前五名供应商合计采购金额214.30亿元,占年度采购总额比例为18.22%。

数据显示,2023年公司加权平均净资产收益率为5.65%,较上年同期下降2.85个百分点;公司2023年投入资本回报率为4.43%,较上年同期下降2.57个百分点。

2023年,公司经营活动现金流净额为201.06亿元,同比增长108.36%;筹资活动现金流净额-54.36亿元,同比增加2.87亿元;投资活动现金流净额-193.07亿元,上年同期为-52.81亿元。

进一步统计发现,2023年公司自由现金流为175.61亿元,上年同期为-5.66亿元。

2023年,公司营业收入现金比为122.77%,净现比为192.76%。

营运能力方面,2023年,公司公司总资产周转率为0.58次,上年同期为0.56次(2022年行业平均值为0.52次,公司位居同行业8/16);固定资产周转率为1.69次,上年同期为1.79次(2022年行业平均值为1.51次,公司位居同行业6/16);公司应收账款周转率存货周转率分别为28.10次、10.80次。

2023年,公司期间费用为98.16亿元,较上年同期增加5.67亿元;但期间费用率为6.96%,较上年同期下降0.05个百分点。其中,销售费用同比增长2.89%,管理费用同比增长1.62%,研发费用同比下降7.55%,财务费用由去年同期的-16.51亿元变为-11.19亿元。

资产重大变化方面,截至2023年年末,公司货币资金较上年末增加18.14%,占公司总资产比重上升4.05个百分点;交易性金融资产较上年末减少79.44%,占公司总资产比重下降3.51个百分点;固定资产较上年末增加5.40%,占公司总资产比重上升1.49个百分点;在建工程较上年末增加29.27%,占公司总资产比重上升0.96个百分点。

负债重大变化方面,截至2023年年末,公司长期借款较上年末增加61.14%,占公司总资产比重上升2.37个百分点;短期借款较上年末减少55.37%,占公司总资产比重下降2.29个百分点;合同负债较上年末减少19.26%,占公司总资产比重下降0.30个百分点;一年内到期的非流动负债较上年末增加21.87%,占公司总资产比重上升0.20个百分点。

从存货变动来看,截至2023年年末,公司存货账面价值为101.0亿元,占净资产的5.45%,较上年末减少15.79亿元。其中,存货跌价准备为256.09万元,计提比例为0.03%。

2023年全年,公司研发投入金额为18.60亿元,同比下降7.55%;研发投入占营业收入比例为1.32%,相比上年同期下降0.20个百分点。此外,公司全年研发投入资本化率为0。

在偿债能力方面,公司2023年年末资产负债率为19.59%,相比上年末下降0.08个百分点;有息资产负债率为9.33%,相比上年末上升0.28个百分点。

2023年,公司流动比率为3.41,速动比率为3.07。

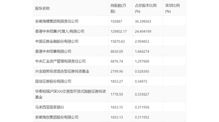
年报显示,2023年年末公司十大流通股东中,持股最多的为安徽海螺集团有限责任公司,占比36.40%。十大流通股东名单相比2023年三季报维持不变。在具体持股比例上,国信证券股份有限公司、华泰柏瑞沪深300交易型开放式指数证券投资基金持股有所上升,香港中央结算(代理人)有限公司、香港中央结算有限公司持股有所下降。

筹码集中度方面,截至2023年末,公司股东总户数为30.71万户,较三季度末增长了7840户,增幅2.62%;户均持股市值由三季度末的46.1万元下降至38.93万元,降幅为15.54%。

指标注解:

市盈率

=总市值/净利润。当公司亏损时市盈率为负,此时用市盈率估值没有实际意义,往往用市净率或市销率做参考。

市净率

=总市值/净资产。市净率估值法多用于盈利波动较大而净资产相对稳定的公司。

市销率

=总市值/营业收入。市销率估值法通常用于亏损或微利的成长型公司。

文中市盈率和市销率采用TTM方式,即以截至最近一期财报(含预报)12个月的数据计算。市净率采用LF方式,即以最近一期财报数据计算。

市盈率为负时,不显示当期分位数,会导致折线图中断。

(文章来源:中国证券报·中证网)

加载中...