新浪财经

美利云:2023年亏损1776.69万元

中证网

关注

中证智能财讯 美利云(000815)3月19日披露2023年年报。2023年,公司实现营业总收入10.82亿元,同比下降1.71%;归母净利润亏损1776.69万元,上年同期亏损2.32亿元;扣非净利润亏损3586.61万元,上年同期亏损2.47亿元;经营活动产生的现金流量净额为3895.96万元,同比下降32.07%;报告期内,美利云基本每股收益为-0.03元,加权平均净资产收益率为-0.95%。

报告期内,公司合计非经常性损益为1809.93万元,其中计入当期损益的政府补助为918.36万元。

以3月18日收盘价计算,美利云目前市盈率(TTM)约为-404.24倍,市净率(LF)约为3.85倍,市销率(TTM)约为6.64倍。

公司近年市盈率(TTM)、市净率(LF)、市销率(TTM)历史分位图如下所示:

数据统计显示,美利云近三年营业总收入复合增长率为-2.36%,近三年净利润复合年增长率为-171.54%。

资料显示,公司从事的主要业务数据中心业务、光伏业务、文化用纸及彩色纸的生产与销售。

分产品来看,2023年公司主营业务中,文化纸收入3.99亿元,同比下降10.13%,占营业收入的36.88%;彩色纸收入3.78亿元,同比下降7.27%,占营业收入的34.93%;数据中心业务收入2.50亿元,同比增长27.31%,占营业收入的23.14%。

截至2023年末,公司员工总数为1069人,人均创收101.18万元,人均创利-1.66万元,人均薪酬11.22万元,较上年同期分别变化-0.51%、92.26%、20.29%。

2023年,公司毛利率为8.42%,同比上升6.02个百分点;净利率为-1.51%,较上年同期上升19.53个百分点。从单季度指标来看,2023年第四季度公司毛利率为11.38%,同比上升14.53个百分点,环比上升3.52个百分点;净利率为-0.38%,较上年同期上升50.99个百分点,较上一季度上升3.12个百分点。

报告期内,公司前五大客户合计销售金额5.99亿元,占总销售金额比例为55.35%,公司前五名供应商合计采购金额3.81亿元,占年度采购总额比例为56.15%。

数据显示,2023年公司加权平均净资产收益率为-0.95%,较上年同期增长10.67个百分点;公司2023年投入资本回报率为0.38%,较上年同期增长8.87个百分点。

2023年,公司经营活动现金流净额为3895.96万元,同比下降32.07%;筹资活动现金流净额-8073.49万元,同比减少1.13亿元;投资活动现金流净额6004.87万元,上年同期为-3013.12万元。

进一步统计发现,2023年公司自由现金流为-258.83万元,上年同期为5234.71万元。

2023年,公司营业收入现金比为85.66%,净现比为-219.28%。

营运能力方面,2023年,公司公司总资产周转率为0.37次,上年同期为0.35次(2022年行业平均值为0.72次,公司位居同行业11/11);固定资产周转率为0.90次,上年同期为1.06次(2022年行业平均值为2.01次,公司位居同行业10/11);公司应收账款周转率、存货周转率分别为5.08次、1.60次。

2023年,公司期间费用为1.21亿元,较上年同期增加837.91万元;期间费用率为11.21%,较上年同期上升0.95个百分点。其中,销售费用同比增长11.27%,管理费用同比增长27.39%,研发费用同比下降26.59%,财务费用同比下降26.11%。

资产重大变化方面,截至2023年年末,公司固定资产较上年末增加2.52%,占公司总资产比重上升5.27个百分点;在建工程较上年末减少38.03%,占公司总资产比重下降2.72个百分点;存货较上年末减少2.93%,占公司总资产比重上升1.57个百分点;预付款项较上年末增加76.56%,占公司总资产比重上升1.49个百分点。

负债重大变化方面,截至2023年年末,公司应付账款较上年末减少57.80%,占公司总资产比重下降3.76个百分点;应付票据较上年末减少73.67%,占公司总资产比重下降3.80个百分点;一年内到期的非流动负债较上年末减少47.48%,占公司总资产比重下降0.91个百分点;其他流动负债较上年末增加50.76%,占公司总资产比重上升1.33个百分点。

从存货变动来看,截至2023年年末,公司存货账面价值为6.08亿元,占净资产的32.61%,较上年末减少1835.5万元。其中,存货跌价准备为2848.27万元,计提比例为4.47%。

2023年全年,公司研发投入金额为1533.23万元,同比下降26.59%;研发投入占营业收入比例为1.42%,相比上年同期下降0.48个百分点。此外,公司全年研发投入资本化率为0。

在偿债能力方面,公司2023年年末资产负债率为31.96%,相比上年末下降6.15个百分点;有息资产负债率为11.85%,相比上年末下降1.46个百分点。

2023年,公司流动比率为1.85,速动比率为0.97。

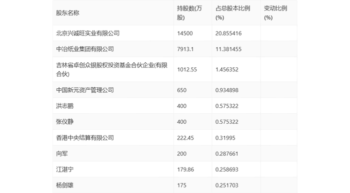
年报显示,2023年年末公司十大流通股东中,新进股东为洪志鹏、张仪静、向军、江湛宁,取代了三季度末的赛伯乐投资集团有限公司、朱小杰、程久虎、吕相男。在具体持股比例上,香港中央结算有限公司持股有所下降。

筹码集中度方面,截至2023年年末,公司股东总户数为8.76万户,较三季度末增长了4182户,增幅5.01%;户均持股市值由三季度末的8.67万元上升至8.78万元,增幅为1.27%。

指标注解:

市盈率

=总市值/净利润。当公司亏损时市盈率为负,此时用市盈率估值没有实际意义,往往用市净率或市销率做参考。

市净率

=总市值/净资产。市净率估值法多用于盈利波动较大而净资产相对稳定的公司。

市销率

=总市值/营业收入。市销率估值法通常用于亏损或微利的成长型公司。

文中市盈率和市销率采用TTM方式,即以截至最近一期财报(含预报)12个月的数据计算。市净率采用LF方式,即以最近一期财报数据计算。

市盈率为负时,不显示当期分位数,会导致折线图中断。

加载中...