新浪财经

深天马A:盈转亏 2023年亏损20.98亿元

中证网

关注

中证智能财讯 深天马A(000050)3月15日披露2023年年报。2023年,公司实现营业总收入322.71亿元,同比增长2.62%;归母净利润亏损20.98亿元,上年同期盈利1.12亿元;扣非净利润亏损38.31亿元,上年同期亏损13.59亿元;经营活动产生的现金流量净额为39.58亿元,同比增长1.15%;报告期内,深天马A基本每股收益为-0.8535元,加权平均净资产收益率为-7.23%。

以3月14日收盘价计算,深天马A目前市盈率(TTM)约为-10.59倍,市净率(LF)约为0.79倍,市销率(TTM)约为0.69倍。

公司近年市盈率(TTM)、市净率(LF)、市销率(TTM)历史分位图如下所示:

数据统计显示,深天马A近三年营业总收入复合增长率为2.02%,近三年净利润复合年增长率为-270.83%。

资料显示,公司持续深耕中小尺寸显示领域,将手机显示、车载显示作为核心业务,将IT显示作为快速增长的关键业务,将工业品、横向细分市场、非显、生态拓展等作为增值业务,不断提升技术、产品和服务能力,为客户提供全方位的客制化显示解决方案和快速服务支持。

分产品来看,2023年公司主营业务中,显示屏及显示模组收入319.97亿元,同比增长3.28%,占营业收入的99.15%。

截至2023年末,公司员工总数为24376人,人均创收132.39万元,人均创利-8.61万元,人均薪酬17.27万元,较上年同期分别变化8.54%、-2086.35%、2.68%。

2023年,公司毛利率为6.78%,同比下降6.12个百分点;净利率为-6.54%,较上年同期下降6.88个百分点。从单季度指标来看,2023年第四季度公司毛利率为11.26%,同比上升0.99个百分点,环比上升6.33个百分点;净利率为-4.11%,较上年同期下降0.61个百分点,较上一季度上升0.16个百分点。

报告期内,公司前五大客户合计销售金额122.25亿元,占总销售金额比例为38.21%,公司前五名供应商合计采购金额43.72亿元,占年度采购总额比例为20.45%。

数据显示,2023年公司加权平均净资产收益率为-7.23%,较上年同期下降7.60个百分点;公司2023年投入资本回报率为-1.61%,较上年同期下降2.57个百分点。

2023年,公司经营活动现金流净额为39.58亿元,同比增长1.15%;筹资活动现金流净额6.84亿元,同比减少36.18亿元;投资活动现金流净额-54.28亿元,上年同期为-34.67亿元。

进一步统计发现,2023年公司自由现金流为1.81亿元,相比上年同期下降91.17%。

2023年,公司营业收入现金比为119.95%,净现比为-188.68%。

营运能力方面,2023年,公司公司总资产周转率为0.40次,上年同期为0.40次(2022年行业平均值为0.55次,公司位居同行业34/42);固定资产周转率为0.93次,上年同期为1.33次(2022年行业平均值为2.94次,公司位居同行业34/42);公司应收账款周转率、存货周转率分别为4.64次、7.06次。

2023年,公司期间费用为51.24亿元,较上年同期增加4.11亿元;期间费用率为15.88%,较上年同期上升0.89个百分点。其中,销售费用同比下降8.94%,管理费用同比下降22.79%,研发费用同比增长12.08%,财务费用同比增长78.99%。

资产重大变化方面,截至2023年年末,公司在建工程较上年末减少85.33%,占公司总资产比重下降28.66个百分点;固定资产较上年末增加99.90%,占公司总资产比重上升27.72个百分点;应收账款较上年末增加28.10%,占公司总资产比重上升2.00个百分点;长期股权投资较上年末增加41.52%,占公司总资产比重上升1.73个百分点。

负债重大变化方面,截至2023年年末,公司应付债券较上年末增加45.15%,占公司总资产比重上升3.62个百分点;一年内到期的非流动负债较上年末减少18.87%,占公司总资产比重下降2.00个百分点;长期借款较上年末增加4.18%,占公司总资产比重上升0.74个百分点;应付账款较上年末增加11.04%,占公司总资产比重上升0.75个百分点。

从存货变动来看,截至2023年末,公司存货账面价值为36.66亿元,占净资产的13.11%,较上年末减少11.87亿元。其中,存货跌价准备为3.6亿元,计提比例为8.95%。

2023年全年,公司研发投入金额为33.45亿元,同比增长12.13%;研发投入占营业收入比例为10.37%,相比上年同期上升0.88个百分点。此外,公司全年研发投入资本化率为9.27%。

在偿债能力方面,公司2023年年末资产负债率为64.63%,相比上年末上升2.00个百分点;有息资产负债率为46.04%,相比上年末上升2.11个百分点。

2023年,公司流动比率为1.05,速动比率为0.88。

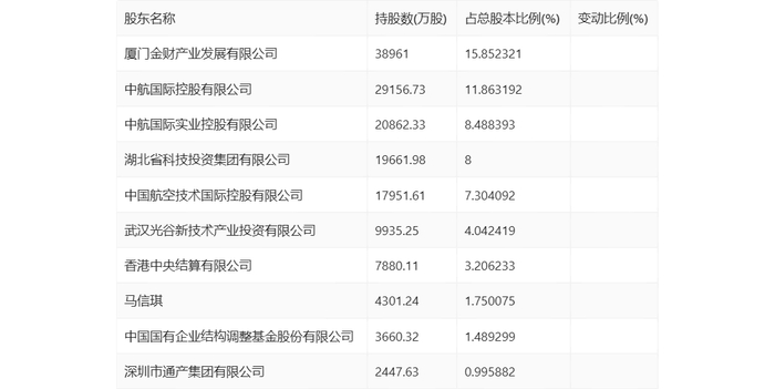
年报显示,2023年年末公司十大流通股东中,持股最多的为厦门金财产业发展有限公司,占比15.85%。十大流通股东名单相比2023年三季报维持不变。在具体持股比例上,香港中央结算有限公司持股有所上升。

值得注意的是,根据年报数据,深天马A12.11%股份处于质押状态。其中,第一大股东厦门金财产业发展有限公司质押1.90亿股公司股份,占其全部持股的48.77%。

筹码集中度方面,截至2023年年末,公司股东总户数为7.24万户,较三季度末下降了7217户,降幅9.07%;户均持股市值由三季度末的28.47万元上升至36.16万元,增幅为27.01%。

指标注解:

市盈率

=总市值/净利润。当公司亏损时市盈率为负,此时用市盈率估值没有实际意义,往往用市净率或市销率做参考。

市净率

=总市值/净资产。市净率估值法多用于盈利波动较大而净资产相对稳定的公司。

市销率

=总市值/营业收入。市销率估值法通常用于亏损或微利的成长型公司。

文中市盈率和市销率采用TTM方式,即以截至最近一期财报(含预报)12个月的数据计算。市净率采用LF方式,即以最近一期财报数据计算。

市盈率为负时,不显示当期分位数,会导致折线图中断。

加载中...