新浪财经

金地集团:2023年净利润同比下降85.48% 拟10派0.197元

中证网

关注

中证智能财讯 金地集团(600383)3月15日披露2023年年报。2023年,公司实现营业总收入981.25亿元,同比下降18.37%;归母净利润8.88亿元,同比下降85.48%;扣非净利润亏损10.99亿元,上年同期盈利57.03亿元;经营活动产生的现金流量净额为21.93亿元,同比下降88.99%;报告期内,金地集团基本每股收益为0.2元,加权平均净资产收益率为1.36%。公司2023年年度利润分配预案为:拟向全体股东每10股派0.197元(含税)。

报告期内,公司合计非经常性损益为19.87亿元,其中非流动资产处置损益,包括已计提资产减值准备的冲销部分为19.35亿元,少数股东权益影响额(税后)为-7.29亿元。

以3月14日收盘价计算,金地集团目前市盈率(TTM)约为20.79倍,市净率(LF)约为0.28倍,市销率(TTM)约为0.19倍。

公司近年市盈率(TTM)、市净率(LF)、市销率(TTM)历史分位图如下所示:

资料显示,公司的主营业务为房地产开发与销售,经营模式以自主开发销售为主。

数据统计显示,金地集团近三年营业总收入复合增长率为5.32%,近三年净利润复合年增长率为-55.96%。

分产品来看,2023年公司主营业务中,房地产开发收入854.69亿元,同比下降21.72%,占营业收入的87.10%;物业管理收入77.48亿元,同比增长16.31%,占营业收入的7.90%;物业出租收入15.88亿元,同比增长29.22%,占营业收入的1.62%。

截至2023年末,公司员工总数为39750人,人均创收246.86万元,人均创利2.23万元,人均薪酬20.60万元,较上年同期分别变化-11.67%、-84.28%、11.47%。

2023年,公司毛利率为17.41%,同比下降3.25个百分点;净利率为3.26%,较上年同期下降4.39个百分点。从单季度指标来看,2023年第四季度公司毛利率为17.92%,同比下降2.91个百分点,环比下降0.37个百分点;净利率为5.51%,较上年同期下降0.20个百分点,较上一季度上升15.94个百分点。

报告期内,公司前五大客户合计销售金额3.24亿元,占总销售金额比例为0.33%,公司前五名供应商合计采购金额2.26亿元,占年度采购总额比例为10.14%。

数据显示,2023年公司加权平均净资产收益率为1.36%,较上年同期下降8.20个百分点;公司2023年投入资本回报率为1.66%,较上年同期下降2.42个百分点。

2023年,公司经营活动现金流净额为21.93亿元,同比下降88.99%;筹资活动现金流净额-312.15亿元,同比减少34.72亿元;投资活动现金流净额33.16亿元,上年同期为-24.07亿元。

进一步统计发现,2023年公司自由现金流为-7.67亿元,上年同期为121.18亿元。

2023年,公司营业收入现金比为124.23%,净现比为246.87%。

营运能力方面,2023年,公司公司总资产周转率为0.25次,上年同期为0.27次(2022年行业平均值为0.18次,公司位居同行业19/86);固定资产周转率为94.83次,上年同期为82.94次(2022年行业平均值为22.72次,公司位居同行业9/86);公司应收账款周转率、存货周转率分别为61.88次、0.57次。

2023年,公司期间费用为88.28亿元,同比减少8784.71万元;但期间费用率为9.01%,同比增长1.58个百分点。其中,销售费用同比增长5.06%,管理费用同比下降8.88%,研发费用同比下降32.66%,财务费用同比增长32.92%。

资产重大变化方面,截至2023年年末,公司货币资金较上年末减少45.44%,占公司总资产比重下降5.05个百分点;其他应收款(含利息和股利)较上年末增加3.06%,占公司总资产比重上升3.40个百分点;投资性房地产较上年末增加8.02%,占公司总资产比重上升1.27个百分点;存货较上年末减少11.98%,占公司总资产比重下降0.45个百分点。

负债重大变化方面,截至2023年年末,公司应付债券较上年末减少87.83%,占公司总资产比重下降4.59个百分点;合同负债较上年末减少14.30%,占公司总资产比重下降0.71个百分点;应付账款较上年末减少15.05%,占公司总资产比重下降0.38个百分点;长期借款较上年末减少6.19%,占公司总资产比重上升0.64个百分点。

从存货变动来看,截至2023年年末,公司存货账面价值为1329.12亿元,占净资产的204.29%,较上年末减少180.91亿元。其中,存货跌价准备为64.96亿元,计提比例为4.66%。

2023年全年,公司研发投入金额为1.25亿元,同比下降32.66%;研发投入占营业收入比例为0.13%,相比上年同期下降0.02个百分点。此外,公司全年研发投入资本化率为0。

在偿债能力方面,公司2023年年末资产负债率为68.73%,相比上年末下降3.54个百分点;有息资产负债率为24.77%,相比上年末下降3.00个百分点。

2023年,公司流动比率为1.37,速动比率为0.70。

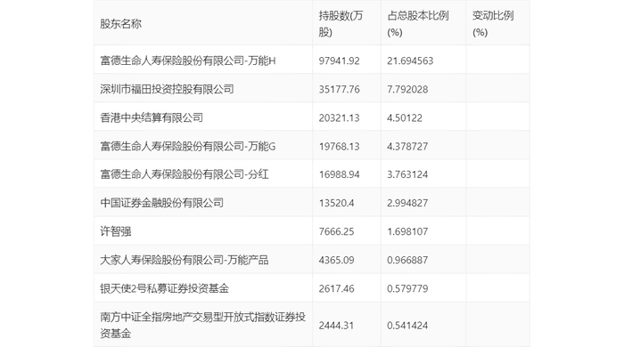
年报显示,2023年年末公司十大流通股东中,新进股东为许智强、银天使2号私募证券投资基金、南方中证全指房地产交易型开放式指数证券投资基金,取代了三季度末的华夏人寿保险股份有限公司-自有资金、中信证券股份有限公司-社保基金1106组合、易方达稳健收益债券型证券投资基金。在具体持股比例上,香港中央结算有限公司持股有所上升,大家人寿保险股份有限公司-万能产品持股有所下降。

筹码集中度方面,截至2023年年末,公司股东总户数为11.95万户,较三季度末增长了5571户,增幅4.89%;户均持股市值由三季度末的27.02万元下降至16.47万元,降幅为39.05%。

指标注解:

市盈率

=总市值/净利润。当公司亏损时市盈率为负,此时用市盈率估值没有实际意义,往往用市净率或市销率做参考。

市净率

=总市值/净资产。市净率估值法多用于盈利波动较大而净资产相对稳定的公司。

市销率

=总市值/营业收入。市销率估值法通常用于亏损或微利的成长型公司。

文中市盈率和市销率采用TTM方式,即以截至最近一期财报(含预报)12个月的数据计算。市净率采用LF方式,即以最近一期财报数据计算。

市盈率为负时,不显示当期分位数,会导致折线图中断。

加载中...