新浪财经

英洛华:2023年净利润同比下降66.46% 拟10派0.27元

中证网

关注

中证智能财讯 英洛华(000795)3月15日披露2023年年报。2023年,公司实现营业总收入38.49亿元,同比下降18.67%;归母净利润8671.22万元,同比下降66.46%;扣非净利润1.26亿元,同比下降40.91%;经营活动产生的现金流量净额为4.28亿元,同比增长559.73%;报告期内,英洛华基本每股收益为0.0776元,加权平均净资产收益率为3.26%。公司2023年年度利润分配预案为:拟向全体股东每10股派0.27元(含税)。

报告期内,公司合计非经常性损益为-3880.11万元,其中委托他人投资或管理资产的损益为-1.20亿元,计入当期损益的政府补助为6667.68万元。

以3月14日收盘价计算,英洛华目前市盈率(TTM)约为71.25倍,市净率(LF)约为2.36倍,市销率(TTM)约为1.61倍。

公司近年市盈率(TTM)、市净率(LF)、市销率(TTM)历史分位图如下所示:

数据统计显示,英洛华近三年营业总收入复合增长率为13.95%,近三年净利润复合年增长率为-5.31%。

分产品来看,2023年公司主营业务中,钕铁硼收入22.24亿元,同比下降28.73%,占营业收入的57.79%;电机系列收入8.23亿元,同比下降15.26%,占营业收入的21.39%;电动轮椅及代步车收入5.43亿元,同比增长41.06%,占营业收入的14.10%。

截至2023年末,公司员工总数为4687人,同比增加9.13%,人均创收82.12万元,人均创利1.85万元,人均薪酬13.72万元,较上年同期分别下降25.47%、69.27%、5.15%。

2023年,公司毛利率为18.17%,同比下降0.06个百分点;净利率为2.40%,较上年同期下降2.70个百分点。从单季度指标来看,2023年第四季度公司毛利率为22.32%,同比上升4.49个百分点,环比上升6.11个百分点;净利率为0.34%,较上年同期下降4.04个百分点,较上一季度下降3.01个百分点。

报告期内,公司前五大客户合计销售金额7.16亿元,占总销售金额比例为18.58%,公司前五名供应商合计采购金额11.33亿元,占年度采购总额比例为42.27%。

数据显示,2023年公司加权平均净资产收益率为3.26%,较上年同期下降6.73个百分点;公司2023年投入资本回报率为2.39%,较上年同期下降5.08个百分点。

2023年,公司经营活动现金流净额为4.28亿元,同比增长559.73%;筹资活动现金流净额-3.90亿元,同比减少8.57亿元;投资活动现金流净额-1.95亿元,上年同期为-6162.61万元。

进一步统计发现,2023年公司自由现金流为7.32亿元,上年同期为-2.59亿元。

2023年,公司营业收入现金比为121.71%,净现比为493.28%。

营运能力方面,2023年,公司公司总资产周转率为0.84次,上年同期为1.00次(2022年行业平均值为0.77次,公司位居同行业2/13);固定资产周转率为4.95次,上年同期为6.52次(2022年行业平均值为4.79次,公司位居同行业3/13);公司应收账款周转率、存货周转率分别为3.64次、3.69次。

2023年,公司期间费用为4.48亿元,较上年同期减少8087.51万元;但期间费用率为11.63%,较上年同期上升0.46个百分点。其中,销售费用同比下降14.17%,管理费用同比下降12.48%,研发费用同比下降17.74%,财务费用由去年同期的-1280.77万元变为-1247.09万元。

资产重大变化方面,截至2023年年末,公司固定资产较上年末增加0.18%,占公司总资产比重上升2.90个百分点;货币资金较上年末减少5.49%,占公司总资产比重上升2.01个百分点;其他流动资产较上年末减少27.82%,占公司总资产比重下降1.90个百分点;应收票据较上年末增加292.25%,占公司总资产比重上升1.48个百分点。

负债重大变化方面,截至2023年年末,公司短期借款较上年末减少44.95%,占公司总资产比重下降8.22个百分点;应付账款较上年末减少17.96%,占公司总资产比重下降0.36个百分点;长期借款较上年末减少75.30%,占公司总资产比重下降1.17个百分点;应付票据较上年末增加197.21%,占公司总资产比重上升1.01个百分点。

从存货变动来看,截至2023年年末,公司存货账面价值为7.63亿元,占净资产的29.1%,较上年末减少1.8亿元。其中,存货跌价准备为1.18亿元,计提比例为13.43%。

2023年全年,公司研发投入金额为1.83亿元,同比下降17.74%;研发投入占营业收入比例为4.77%,相比上年同期上升0.06个百分点。此外,公司全年研发投入资本化率为0。

在偿债能力方面,公司2023年年末资产负债率为37.17%,相比上年末下降7.76个百分点;有息资产负债率为15.91%,相比上年末下降9.40个百分点。

2023年,公司流动比率为2.13,速动比率为1.62。

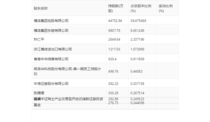
年报显示,2023年年末公司十大流通股东中,新进股东为中信证券股份有限公司,取代了三季度末的王无忧。在具体持股比例上,香港中央结算有限公司、俞播、嘉实中证稀土产业交易型开放式指数证券投资基金持股有所上升,林仁平持股有所下降。

值得注意的是,中登公司数据显示,截至2024年3月8日,英洛华15.97%股份处于质押状态。年报显示,第一大股东横店集团控股有限公司质押1.81亿股公司股份,占其全部持股的40.44%。

筹码集中度方面,截至2023年年末,公司股东总户数为9万户,较三季度末下降了6310户,降幅6.55%;户均持股市值由三季度末的7.37万元上升至7.85万元,增幅为6.51%。

指标注解:

市盈率

=总市值/净利润。当公司亏损时市盈率为负,此时用市盈率估值没有实际意义,往往用市净率或市销率做参考。

市净率

=总市值/净资产。市净率估值法多用于盈利波动较大而净资产相对稳定的公司。

市销率

=总市值/营业收入。市销率估值法通常用于亏损或微利的成长型公司。

文中市盈率和市销率采用TTM方式,即以截至最近一期财报(含预报)12个月的数据计算。市净率采用LF方式,即以最近一期财报数据计算。

市盈率为负时,不显示当期分位数,会导致折线图中断。

加载中...