新浪财经

飞亚达:2023年净利润同比增长24.93% 拟10派4元

中证网

关注

中证智能财讯 飞亚达(000026)3月14日披露2023年年报。2023年,公司实现营业总收入45.70亿元,同比增长4.95%;归母净利润3.33亿元,同比增长24.93%;扣非净利润3.17亿元,同比增长26.83%;经营活动产生的现金流量净额为6.32亿元,同比增长32.79%;报告期内,飞亚达基本每股收益为0.8082元,加权平均净资产收益率为10.28%。公司2023年年度利润分配预案为:拟向全体股东每10股派4元(含税)。

以3月13日收盘价计算,飞亚达目前市盈率(TTM)约为12.45倍,市净率(LF)约为1.24倍,市销率(TTM)约为0.91倍。

公司近年市盈率(TTM)、市净率(LF)、市销率(TTM)历史分位图如下所示:

数据统计显示,飞亚达近三年营业总收入复合增长率为2.50%,近三年净利润复合年增长率为4.24%。

分产品来看,2023年公司主营业务中,手表零售服务业务收入34.70亿元,同比增长4.56%,占营业收入的75.94%;手表品牌业务收入7.97亿元,同比增长9.88%,占营业收入的17.44%;租赁业务收入1.50亿元,同比增长16.32%,占营业收入的3.29%。

截至2023年末,公司员工总数为4238人,人均创收107.83万元,人均创利7.86万元,人均薪酬15.08万元,较上年同期分别变化7.01%、27.38%、-1.02%。

2023年,公司毛利率为36.42%,同比下降0.67个百分点;净利率为7.29%,较上年同期上升1.17个百分点。从单季度指标来看,2023年第四季度公司毛利率为37.74%,同比下降0.25个百分点,环比上升1.72个百分点;净利率为6.49%,较上年同期上升2.68个百分点,较上一季度下降0.23个百分点。

报告期内,公司前五大客户合计销售金额8.39亿元,占总销售金额比例为18.35%,公司前五名供应商合计采购金额22.64亿元,占年度采购总额比例为80.19%。

数据显示,2023年公司加权平均净资产收益率为10.28%,较上年同期增长1.60个百分点;公司2023年投入资本回报率为9.36%,较上年同期增长1.42个百分点。

2023年,公司经营活动现金流净额为6.32亿元,同比增长32.79%;筹资活动现金流净额-3.52亿元,同比减少9123.79万元;投资活动现金流净额-8932.65万元,上年同期为-1.14亿元。

进一步统计发现,2023年公司自由现金流为4.53亿元,相比上年同期增长25.98%。

2023年,公司营业收入现金比为111.52%,净现比为189.81%。

营运能力方面,2023年,公司公司总资产周转率为1.10次,上年同期为1.06次(2022年行业平均值为1.24次,公司位居同行业8/14);固定资产周转率为12.69次,上年同期为12.19次(2022年行业平均值为80.57次,公司位居同行业13/14);公司应收账款周转率、存货周转率分别为14.54次、1.37次。

资产重大变化方面,截至2023年年末,公司货币资金较上年末增加60.84%,占公司总资产比重上升4.38个百分点;存货较上年末减少1.90%,占公司总资产比重下降2.04个百分点;长期待摊费用较上年末减少15.34%,占公司总资产比重下降0.60个百分点;投资性房地产较上年末减少3.93%,占公司总资产比重下降0.54个百分点。

负债重大变化方面,截至2023年年末,公司其他应付款(含利息和股利)较上年末减少26.13%,占公司总资产比重下降1.11个百分点;短期借款较上年末减少13.80%,占公司总资产比重下降1.10个百分点;应付职工薪酬较上年末减少12.08%,占公司总资产比重下降0.46个百分点;预收款项较上年末减少39.46%,占公司总资产比重下降0.17个百分点。

2023年全年,公司研发投入金额为5780.22万元,同比下降5.38%;研发投入占营业收入比例为1.26%,相比上年同期下降0.14个百分点。此外,公司全年研发投入资本化率为0。

在偿债能力方面,公司2023年年末资产负债率为20.70%,相比上年末下降3.12个百分点;有息资产负债率为7.53%,相比上年末下降1.26个百分点。

2023年,公司流动比率为3.76,速动比率为1.20。

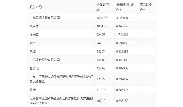
年报显示,2023年年末公司十大流通股东中,新进股东为中信证券股份有限公司、广发中证国新央企股东回报交易型开放式指数证券投资基金,取代了三季度末的融通动力先锋混合型证券投资基金、融通蓝筹成长证券投资基金。在具体持股比例上,中航国际控股有限公司、裘宏、朱瑞、屈永杰、陈浩持股有所上升,吴吉林、徐国亮、汇添富中证国新央企股东回报交易型开放式指数证券投资基金持股有所下降。

指标注解:

市盈率

=总市值/净利润。当公司亏损时市盈率为负,此时用市盈率估值没有实际意义,往往用市净率或市销率做参考。

市净率

=总市值/净资产。市净率估值法多用于盈利波动较大而净资产相对稳定的公司。

市销率

=总市值/营业收入。市销率估值法通常用于亏损或微利的成长型公司。

文中市盈率和市销率采用TTM方式,即以截至最近一期财报(含预报)12个月的数据计算。市净率采用LF方式,即以最近一期财报数据计算。

市盈率为负时,不显示当期分位数,会导致折线图中断。

加载中...