新浪财经

国光电气、思科瑞同日公告 董事长张亚被实施留置

财联社APP

关注

《科创板日报》3月13日讯(记者 黄修眉) 3月12日晚间,国光电气、思科瑞公告称,公司于2024年3月11日收到公司董事长张亚家属通知,张亚家属收到永清县监察委员会签发的《留置通知书》和《立案通知书》,张亚被实施留置。截至公告披露日,公司未收到有权机关向公司发出的关于前述事项的任何文件。

国光电气表示,张亚在留置期间暂时无法履行董事长职责。根据公司章程规定,董事长无法履职期间由副董事长吴常念代为履行公司董事长的相关职责。

思科瑞则表示,公司拥有完善的治理结构、内控机制及专业的经营管理团队,已对相关事项做了妥善安排,公司的日常经营管理由公司专业团队负责。

《科创板日报》记者查询发现,国光电气为我国微波电子器件主要科研生产基地之一,法人代表为李泞,公司实际控制人之一、董事长为张亚;思科瑞提供军用电子元器件检测筛选服务,法人代表、董事长与实际控制人均为张亚。

针对上述情况,《科创板日报》记者致电两家公司进行询问。

国光电气证代办人士表示,“公司查询后发现被留置的地点可能是河北廊坊市永清县,搜索出来只有一个永清县。但目前公司仍未收到有权机关的任何文件说明,公司的信息来源也是根据董事长家属(即配偶周文梅)沟通的。”

“董事长家属是昨日晚间到公司来通知的,但具体的立案通知书内容,家属暂未告知。公司在第一时间与监管方和交易所进行了沟通,拟发公告等事宜,但具体因何事被留置,目前仍不清楚。”

“本来公司法人代表和总经理是要出差的,但现在只能先取消。目前公司方面没有派人前往,还是董事长家属在进行沟通。公司是总经理负责制,董事长主要负责战略方向等,对公司经营不会产生影响。”上述证代办人士称。

思科瑞方面电话则一直无法拨通。

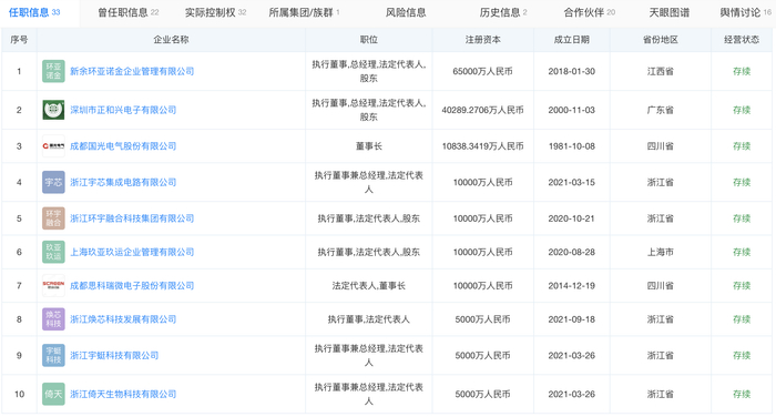
天眼查显示,新余环亚诺金企业管理有限公司为国光电气控股股东,张亚通过持有新余环亚诺金企业管理有限公司80%股份,并最终持有国光电气50.79%股份。

此外,建水县铨钧企业管理中心(有限合伙)为思科瑞控股股东,张亚通过持有建水县铨钧企业管理中心(有限合伙)49.43%股份,最终持有思科瑞54.91%股份。张亚最终成为两家公司实控人。

公开资料显示,张亚1969年出生,硕士研究生学历,2000年10月至今任深圳市正和兴电子有限公司执行董事、总经理,2014年1月至今在深圳国防科技工业协会担任常务副会长。

从历史资料来看,张亚并非国光电气与思科瑞创始人。2018年5月,新余环亚完成对国光电气的收购,张亚成功进入董事会,至今担任国光电气董事长。

思科瑞也非张亚创立。招股书显示,其是在2017年8月以货币认缴2000万元成为持股40%的大股东,从2020年6月至今,担任思科瑞董事长。

天眼查数据也显示,张亚目前总共在33家企业担任法人代表、高管或股东职位,涉及电子元器件、通信工程技术、房地产开发、物业、教育咨询等多个领域。

尤为注意的是,张亚有自身风险0条,周边风险有831条,历史风险2条,预警提醒也有478条。董事长张亚一人有超过1300条的风险及预警。

为此,张亚也一度被市场质疑,在同时控制较多企业、担任较多职位的情形下,是否有足够精力参与发行人的经营活动。国光电气2021年在接受机构调研时就被问到,张亚是否只是公司进行财务投资,公司控制权是否长期稳定?

对此,国光电气回复称,张亚是一位在行业拥有超过20年经验的资深人士,对国光的投资除了是对行业的看好和热爱外,也看重国光以技术和研发为基础的的长期发展。

上述两家公司业绩方面。国光电气2023年度业绩快报显示,其2023年度实现营收7.4亿元,同比下降18.35%。实现归母净利润9010.08万元,同比下降45.74%;实现扣非净利润8258.1万元,同比下降48.92%。

思科瑞2023年度业绩快报显示,该公司实现营收2亿元,同比下降17.49%;实现营业利润4927.61万元,同比下降53.69%;实现归母净利润4711.15万元,同比下降51.64%;实现扣非净利润4175.27万元,同比下降52.19%。

对于业绩下降的原因,由于两家公司均属军工行业,其在2023年业绩快报中均提到,多因素影响下军工行业增速放缓,叠加行业用户需求的特殊属性,以及军品税制改革等因素,公司业绩有所下滑。

对于张亚被实施留置后续情况以及是否会对两家公司造成影响,《科创板日报》将继续保持关注并及时报道。

加载中...