新浪财经

南钢股份:2023年净利润同比下降1.67% 拟10派2.5元

中证网

关注

中证智能财讯 南钢股份(600282)3月9日披露2023年年报。2023年,公司实现营业总收入725.43亿元,同比增长2.65%;归母净利润21.25亿元,同比下降1.67%;扣非净利润18.91亿元,同比下降6.79%;经营活动产生的现金流量净额为26.75亿元,同比下降28.71%;报告期内,南钢股份基本每股收益为0.3447元,加权平均净资产收益率为8.12%。公司2023年年度利润分配预案为:拟向全体股东每10股派2.5元(含税)。

以3月8日收盘价计算,南钢股份目前市盈率(TTM)约为13.37倍,市净率(LF)约为1.07倍,市销率(TTM)约为0.39倍。

公司近年市盈率(TTM)、市净率(LF)、市销率(TTM)历史分位图如下所示:

数据统计显示,南钢股份近三年营业总收入复合增长率为10.47%,近三年净利润复合年增长率为-10.32%。

资料显示,公司是全球规模效益领先的中厚板生产基地及国内具有竞争力的特钢长材生产基地,工艺装备水平先进,主体装备已实现大型化、自动化和信息化。

分产品来看,2023年公司主营业务中,专用板材收入273.75亿元,同比下降1.15%,占营业收入的37.74%;特钢长材收入134.16亿元,同比下降3.57%,占营业收入的18.49%;建筑螺纹收入74.16亿元,同比下降5.27%,占营业收入的10.22%。

截至2023年末,公司员工总数为13166人,同比减少8.41%,人均创收550.99万元,人均创利16.14万元,人均薪酬31.45万元,较上年同期分别增长12.08%、7.36%、33.17%。

2023年,公司毛利率为10.60%,同比下降0.15个百分点;净利率为3.09%,较上年同期下降0.20个百分点。从单季度指标来看,2023年第四季度公司毛利率为10.50%,同比上升3.47个百分点,环比下降0.28个百分点;净利率为2.62%,较上年同期上升1.85个百分点,较上一季度下降1.09个百分点。

报告期内,公司前五大客户合计销售金额69.91亿元,占总销售金额比例为9.66%,公司前五名供应商合计采购金额96.31亿元,占年度采购总额比例为12.60%。

数据显示,2023年公司加权平均净资产收益率为8.12%,较上年同期增长0.18个百分点;公司2023年投入资本回报率为5.16%,较上年同期下降0.59个百分点。

2023年,公司经营活动现金流净额为26.75亿元,同比下降28.71%;筹资活动现金流净额-9.35亿元,同比减少41.20亿元;投资活动现金流净额-33.10亿元,上年同期为-46.41亿元。

进一步统计发现,2023年公司自由现金流为-10.05亿元,上年同期为21.59亿元。

2023年,公司营业收入现金比为108.65%,净现比为125.87%。

营运能力方面,2023年,公司公司总资产周转率为0.98次,上年同期为1.04次(2022年行业平均值为1.09次,公司位居同行业10/17);固定资产周转率为2.66次,上年同期为3.07次(2022年行业平均值为2.21次,公司位居同行业4/17);公司应收账款周转率、存货周转率分别为25.22次、8.24次。

2023年,公司期间费用为50.36亿元,同比增长4.63亿元;期间费用率为6.94%,同比增长0.47个百分点。其中,销售费用同比增长29.38%,管理费用同比增长12.15%,研发费用同比增长3.95%,财务费用同比增长20.63%。

资产重大变化方面,截至2023年年末,公司固定资产较上年末增加6.56%,占公司总资产比重上升3.10个百分点;货币资金较上年末减少20.99%,占公司总资产比重下降3.05个百分点;存货较上年末增加23.69%,占公司总资产比重上升2.47个百分点;其他应收款(含利息和股利)较上年末增加1083.38%,占公司总资产比重上升2.25个百分点。

负债重大变化方面,截至2023年年末,公司长期借款较上年末增加69.78%,占公司总资产比重上升4.96个百分点;短期借款较上年末减少17.23%,占公司总资产比重下降2.65个百分点;一年内到期的非流动负债较上年末减少52.87%,占公司总资产比重下降1.48个百分点;合同负债较上年末增加24.24%,占公司总资产比重上升1.38个百分点。

从存货变动来看,截至2023年年末,公司存货账面价值为87.0亿元,占净资产的32.78%,较上年末增加16.66亿元。其中,存货跌价准备为2.09亿元,计提比例为2.35%。

2023年全年,公司研发投入金额为24.02亿元,同比下降1.80%;研发投入占营业收入比例为3.31%,相比上年同期下降0.15个百分点。此外,公司全年研发投入资本化率为0。

资料显示,截至报告期末,有效授权专利1848件,其中,发明专利644件,并获中国专利优秀奖2项;拥有国外有效授权专利38件,其中,国外发明专利34件(单体口径)。

在偿债能力方面,公司2023年年末资产负债率为61.28%,相比上年末上升2.45个百分点;有息资产负债率为27.54%,相比上年末上升0.83个百分点。

2023年,公司流动比率为0.93,速动比率为0.67。

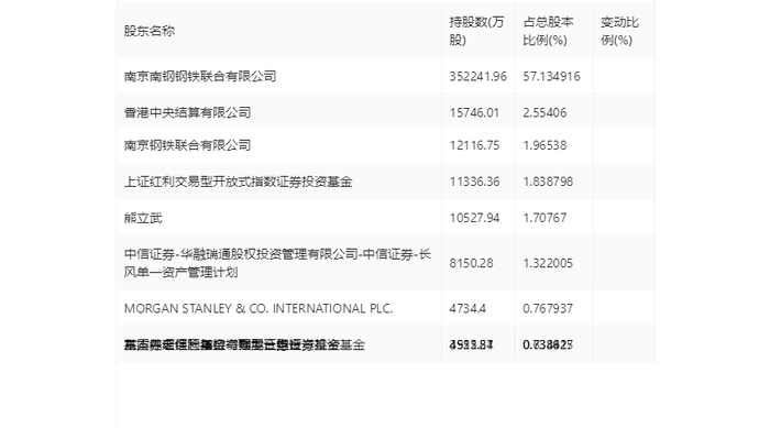
年报显示,2023年年末公司十大流通股东中,新进股东为MORGAN STANLEY & CO. INTERNATIONAL PLC.,取代了三季度末的华泰柏瑞富利灵活配置混合型证券投资基金。在具体持股比例上,熊立武、富国中证红利指数增强型证券投资基金、基本养老保险基金一零零三组合持股有所上升,香港中央结算有限公司、上证红利交易型开放式指数证券投资基金持股有所下降。

筹码集中度方面,截至2023年年末,公司股东总户数为7.34万户,较三季度末下降了1980户,降幅2.63%;户均持股市值由三季度末的30.26万元上升至31.07万元,增幅为2.68%。

指标注解:

市盈率

=总市值/净利润。当公司亏损时市盈率为负,此时用市盈率估值没有实际意义,往往用市净率或市销率做参考。

市净率

=总市值/净资产。市净率估值法多用于盈利波动较大而净资产相对稳定的公司。

市销率

=总市值/营业收入。市销率估值法通常用于亏损或微利的成长型公司。

文中市盈率和市销率采用TTM方式,即以截至最近一期财报(含预报)12个月的数据计算。市净率采用LF方式,即以最近一期财报数据计算。

市盈率为负时,不显示当期分位数,会导致折线图中断。

加载中...