新浪财经

更多细节被扒出!李格平PE型腐败,达诚基金卷入风波...

市场资讯 2024.03.10 00:01

来源  金石杂谈

2023年5月29日,中信建投原执行董事兼总经理李格平被带走,6月1日中信建投就公告称李格平因个人原因辞任一干职务。对其落马,金石杂谈曾多次进行过解读,本文再做简单梳理,尤其对李格平涉及紫晶存储欺诈发行和违规持有私募进行分析解读。

12月22日,据中央纪委国家监委驻中信集团纪检监察组、北京市监委消息:中信建投原党委副书记、总经理李格平严重违纪违法问题进行了纪律审查和监察调查。

根据通报,李格平除了贪污受贿,为他人谋利。核心的问题就是“靠金融吃金融”,违规持有私募股权基金。文中还提到,他在党的十八大乃至十九大后仍不收敛、不收手。

金石杂谈分析认为,李格平被查至少涉及四方面问题:一是在监管系统工作多年,和落马官员陈共炎、朱从玖、安青松等关系密切;二是很多落马官员都和发行工作有关,不排除和发行贪腐产业链有关,李格平自身也曾担任长江证券保荐董事长,还在券商业协会、证监会有任职经历;三是在爆出紫晶存储重大欺诈案之后,仅仅过去5天,他就被爆出从办公室被带走;四是违规持有私募,靠金融吃金融,公募基金隐现其影子股东情况。

根据wind数据库,李格平92年毕业于中南财经政法大学,硕士学位;2000年加入长江证券,2007年12月出任长江证券总裁一职,2010年11月卸任长江证券总裁。

自2008年3月至2011年,兼任长江证券承销保荐有限公司董事长、诺德基金董事长。2011年6月至2012年4月任中国证券业协会秘书长;自2012年4月至2014年2月任证券业协会党委委员、秘书长。

1)十八大前后,李格平主要有两段重要经历:①在长江证券长达10年,在其临危受命之前,长江证券可谓风波断:前脚原湖北证券首任董事长陈浩武因个人经济问题被湖北省纪委双规后脚更名后的首任总裁陶树生又因挪用公款锒铛入狱。就在2007年长江证券借壳上市,李格平也因此升任总裁,并在此后左手保荐董事长,右手诺德基金董事长。

②2011年6月李格平开始从事监管工作,11年至14年2月一直担任券业协会秘书长。在李格平落马后的大约半年,中国银河原董事长陈共炎也落马了。彼时,也就是从2011年6月至2021年5月,陈共炎一直担任中国证券业协会会长。也就是说,李格平当时是陈共炎的下属,且交集高达五六年以上。就在16年到18年,两人还同时在中央汇金工作。

2)分析指事涉证监系统,或和新股发行有关。自2011年进入券商业协会,他开始陆续和陈共炎、安青松、朱从玖等产生交集。

其中,陈共炎是李格平在协会和汇金公司的顶头上司;安青松则在担任协会副会长的2018年至2021年,也是陈共炎的下属,且在2021年5月接任陈共炎担任协会会长;

安青松毕业后进入中国证监会发行部工作,两年后就成为证监会主席助理朱从玖的秘书;而陈共炎和朱从玖是老乡,在朱从玖被查后牵出了多位大虎都是安徽人。

李格平任职长江证券期间该券商上市;而他也因此成为长江证券总裁,安青松在浙商期间浙商证券上市;陈共炎上任董事长不久,银河证券在A股上市;朱从玖在监管任职期间,实现了太平洋违规上市。

此前金石杂谈分析,从冯鹤年王宗成曾长虹到包凡、丛林再到王青山、朱从玖,所有的事情都在剑指一件事,那就是监管机构的发行工作。而李格平2014年2月至2016年12月也曾在证监会证券基金机构担任监管部副主任。

3)或涉紫晶存储欺诈发行。随着去年A股阴跌,股民、基民投资亏损惨重,上市公司欺诈发行的问题被全民关注。今年年初,证监会发声:对于欺诈发行等严重损害投资者利益的违法行为,坚决重拳打击,让其“倾家荡产、牢底坐穿”。对参与造假的中介机构一体追责,让其痛到不敢再为。

其中,最为知名的就是中信建投保荐的紫晶存储,谁能想到1年1.56亿的利润,它能虚增1.45亿...上市后的2020年它能变态的虚增利润的150%,真的是丧心病狂。很明显,这种明目张胆的欺诈行为,中介机构难辞其咎,发行费1.39亿,直接罚款+承诺金12.75亿,是他们盈利的近10倍。

其中,10.86亿用于赔付股民。中信建投为紫晶存储的保荐机构和主承销商,拿到了1.19亿,如果按比例承担,本次要赔偿股民9.3亿,加上承诺金要拿出10.9亿,可谓真的打痛了。此后箭头也是负面缠身,降薪、年终奖脚底折,近期又被爆裁员。

正是在中信建投赔付公告出来仅仅5天后,市场就传出李格平从办公室被带走协查的消息。李格平则是从2018年2月入职中信建投,4月担任总经理,23年6月1日辞职,作为有保荐经历的李格平自然对欺诈发行套路了然于心。而紫晶存储则是19年4月提交招股书,20年2月上市,造假贯穿2017年至2020年。

4)李格平违规持有私募,或涉隐形腐败。在李格平的通报中有这样一句话:违规持有私募股权基金;“靠金融吃金融”,利用职务上的便利为他人谋取利益,并非法收受巨额财物。李格平甚至被业内称作贪腐界违规持有私募股权基金第一人。

大家都知道,私募股权基金其实就是大家所熟知的PE,它是上市前投资。在过往AH股票市场,有太多大佬是通过上市前投资,上市后套现从而实现财富爆涨的。过往5年也是中国PE市场的大繁荣时代,因为仅仅过去5年时间IPO募资就有2万亿,上市了1800家企业。

而且私募有多重优势,可以空仓、可以满仓,毫无限制;可以加杠杆、可以中途退出。关键是私募基金的难以穿透性,“借道”私募基金进行监管套利,已成为一种隐性腐败手段,成为IPO权利寻租的重要手段。

至于李格平到底持有哪家私募,很长时间内无人报道。最近,据财新报道,通报中所谓的“违规持有私募股权基金”,是指李格平私下通过他人代持股权,暗地里充当一家个人系公募基金的“影子股东”。

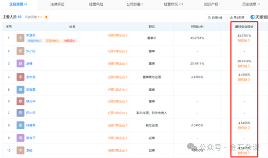
这家个人系公募基金正是达诚基金,这家公募2019年8月成立于上海,股东均为个人,持股5%以上的股东包括:宋宜农持股43.68%,赵楠持股20.49%,章月平持股22.29%。

由于找人代持,股权架构中并未发现李格平到底通过哪个个人股东持股。据悉,李格平在达诚成立时出资1500万元,按当时注册资本1亿来算,持股15%。

天眼查显示,2019年成立之初时,公司总经理赵楠持股22.52%,董事长宋宜农持股43%,并未任职的章月平持股24.5%,这三大股东都是持股超过1500万的。

在财新报道中有这么一句话:知情人士称,达诚基金创始股东苦于搞个人公募不赚钱,早有脱身之意,一直寻找买家,于2023年冬天悄然将股权转让。

这说的应该就是赵楠、章月平、徐曼青、李俊等原始股东。在2023年11月的股权转让过程中,宋宜农进行了追缴,但赵楠和章月平持股都减少总股本的2%,副总的徐曼青和监事的李俊均减少了0.45%的股本。

那到底是谁在代持李格平的股份?金石杂谈认为,由于在李格平被带走后,交代了违规事实,其投资款也已退回。这就意味着代持股东要么是减持股份,要么补缴资本。在2023年冬天这波转让过程中,董事长宋宜农可能性不大,因为一直在追缴。

至于其他四位股东,笔者不得而知。但是有一点,在李格平被调查的过程中,达诚基金也有人员被要求配合调查。就在李格平5月底被爆出带走调查之前的关键档口,5月11日,达诚基金总经理赵楠突然辞职,达诚给出的理由是公司经营管理需要。

本次引入的股东则是李宇龙,认缴490万,持股4.46%,这也是公司的新任总经理。李宇龙可谓金融从业经验丰富,既在美国有多年基金管理经验,又曾在上交所担任执行经理。后来在嘉合基金担任副总和投资总监,在国融基金更是担任总经理,还是中天友山的拟任总经理。

也正是在李宇龙加入后,达诚基金规模一飞冲天,从2023年Q1的3.78亿爆发式增长至目前的55亿。此前业绩连年亏损,如今近1年录得了正收益。达诚基金从2021年Q2的7.47亿一路缩水至23年Q1的3.78亿,不足两年规模缩水一半,这也难怪创始股东纷纷想着跑路。

至于新任总经理归来后,为何规模突然爆发。金石杂谈认为,一是赵楠离职,李格平的投资也已退出,剥离负面资产后迎来新春;二是该公募对权益资产的规避,ALL in固收,完全配债自然收益很难亏损。

加载中...