万亿央企下属公司,成失信被执行人!被地方国企起诉追债,公司法定代表人被限制高消费……回应来了
每日经济新闻
3月4日晚间,华控赛格(000068.SZ)公告称,全资子公司作为原告,就其与中铁三局集团第六工程有限公司签署的《中铁三局集团第六工程有限公司太原滨河东路南延二期工程施工五标段项目经理部沥青混凝土买卖合同》货款问题,向山西省晋中市榆次区人民法院提起诉讼。华控赛格要求被告支付货款及利息合计1353.3万元。
记者注意到,华控赛格实际控制人是山西省国有资本运营有限公司,是山西国企。
而中铁三局集团第六工程有限公司是中铁三局集团有限公司的子公司,中铁三局集团有限公司则是总资产超过1.7万亿元的央企巨头中国中铁(601390.SH)的全资子公司。中国执行信息公开网显示,中铁三局集团第六工程有限公司还是失信被执行人,去年还被法院出具限制消费令。
拖欠货款1300多万
中铁三局子公司被起诉
3月4日晚间,华控赛格公告称,全资子公司深圳市华控凯迪投资发展有限公司(以下简称华控凯迪)作为原告,就华控凯迪与中铁三局集团第六工程有限公司签署的《中铁三局集团第六工程有限公司太原滨河东路南延二期工程施工五标段项目经理部沥青混凝土买卖合同》货款问题,向山西省晋中市榆次区人民法院提起诉讼。
被告为:中铁三局集团第六工程有限公司(被告一)、中铁三局集团有限公司(被告二)。华控凯迪要求被告一支付原告货款1314.8万元、截至2023年9月20日的资金占用利息38.5万元,合计1353.3万元以及实际支付前产生的利息。判令被告二对上述全部债务承担连带清偿责任。
根据华控赛格的公告,2022年8月10日,原告与被告一中铁三局集团第六工程有限公司签署《中铁三局集团第六工程有限公司太原滨河东路南延二期工程施工五标段项目经理部沥青混凝土买卖合同》,被告一向原告采购沥青混凝土。合同签署后,原告依约向被告一交付了价值为1314.8万元的货物,但被告一未按照合同约定支付相应货款,原告多次催要未果,只能向法院提起诉讼。被告二中铁三局集团有限公司系被告一中铁三局集团第六工程有限公司的一人股东,根据公司法第六十三条的规定,被告二不能证明被告一财产独立于股东被告二财产的,应当对被告一公司债务承担连带责任。
综上所述,被告拒不履行合同约定的付款义务,严重违反合同约定,给原告造成巨大经济损失,为维护原告合法权益,特诉至法院,请求法院依法裁决。
华控赛格表示,目前案件尚未开庭审理,该诉讼事项对公司本期利润或期后利润的具体影响尚存在不确定性。
3月4日晚间,记者致电华控赛格公开电话,对方表示这是有关工程款的合同纠纷,合同约定的付款时间是最近,但被告一中铁三局集团第六工程有限公司尚没有支付货款。
被列入失信被执行人名单
还被限制高消费
《每日经济新闻》记者查询中铁三局集团有限公司官网发现,中铁三局集团第六工程有限公司是其子公司。中铁三局集团有限公司是全球500强企业中国中铁的全资子公司。根据中国中铁2022年年报,中铁三局集团有限公司2022年净利润为16.59亿元,截至2022年末,中铁三局集团有限公司总资产为483.2亿元,净资产为111亿元。
图片来源:中铁三局集团第六工程有限公司官网
根据中铁三局集团第六工程有限公司官网介绍,中铁三局集团第六工程有限公司的前身是铁道部(现为国家铁路局)第三工程局机械筑路工程处,创建于1972年,2000年12月25日改制为有限责任公司。公司注册资本5亿元,总资产48亿元,在册员工1800余人,设备台数1000多台套,公司年施工能力80亿元。在今年1月3日,中铁三局集团第六工程有限公司还在官网公开了《欠薪欠款维权告知书》,针对分供(包)商、职民工专门设立了维权热线以及网上维权平台。
另外,查询中国执行信息公开网,中铁三局集团第六工程有限公司是失信被执行人,涉及案号为(2022)晋0702执60号,立案时间是2022年1月10日,生效法律文书确定的义务为664.7222万元,被执行人无正当理由拒不履行执行和解协议。因未按执行通知书指定的期间履行生效法律文书确定的给付义务,该公司于2023年3月23日收到消费限制令,公司法定代表人、党委书记、执行董事蔡景亮也同时被限制高消费。
图片来源:网页截图
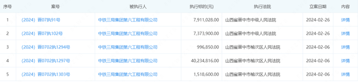
企查查显示,中铁三局集团第六工程有限公司名下有大量被执行信息,涉案金额达1.18亿元。最近的是2月26日新增的两条,
此外,该公司名下还有20多个限制消费令。最近的是去年12月29日,晋中市榆次区人民法院为中铁三局集团第六工程有限公司出具限制消费令,原因是未按执行通知书指定的期间履行生效法律文书确定的给付义务。
图片来源:网页截图
3月4日至3月6日期间,记者多次致电中铁三局集团第六工程有限公司欠薪欠款维权电话,对方表示他只负责记录信息,不清楚“失信被执行人”一事。中铁投资者热线工作人员则回复,被列入失信被执行人一事确实存在,但她并不清楚具体情况。