自动驾驶大佬单飞,A轮拿了1亿美金
投资界
2024年,自动驾驶赛道似乎重新燃起信心。
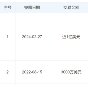
今年以来,先是1月份全球场景物流无人驾驶公司斯年智驾宣布完成数亿元B轮融资,再有2月下旬,自动驾驶明星独角兽毫末智行拿下超亿元融资,最近,自动驾驶城配车公司九识智能也在A轮融资获得近一亿美元。而后者,仅是一家成立两年半的初创企业。
据了解,九识智能此轮融资由美团领投,BV百度风投、Unicorn、闲庭基金、索道基金以及部分老股东跟投。能够被美团、百度等业内无人驾驶研发历程更长的互联网大厂青睐,九识智能自然不是无名之辈。
公开信息显示,九识智能于2021年8月落户苏州,创始人孔旗在AI及无人驾驶领域深耕了20年。公司团队成员履历丰富,从2013年国内开始布局自动驾驶,到国内首 个Robotaxi项目常态化试运营、国内首 个L4级重卡项目落地、全球首 个城市级无人配送项目落地……在自动驾驶领域前进的众多里程碑中从未缺席。
如今,九识智能已成为自动驾驶赛道商业化中的一颗新星,在行业规模落地的转折点上,九识智能走出了自己的节奏。
曾在百度、京东物流任职,行业大佬离职后藏在苏州创业
在三年前,九识智能创始人孔旗还是京东物流自动驾驶首席科学家,2021年下半年,从京东物流离职后,一段时间内毫无消息,去向未知。
直到近两年,才在苏州“发现”了他。
苏州,在业内被称作“自动驾驶之城”,起源或落地苏州的自动驾驶企业,基本在此地有所受益。孔旗“隐藏”在苏州做自动驾驶,现在看来是一个不错的选择。
孔旗在人工智能和无人驾驶领域待了20年。2004年,孔旗考进上海交通大学计算机系,师从AI大牛吕宝粮教授,本科和硕士的7年一直主攻人工智能方向。2011年毕业后,孔旗加入百度上海研发中心。
2014年,百度决定在硅谷建立技术研发中心,并从谷歌挖来了全球人工智能权威学者吴恩达出任百度首席科学家。孔旗作为百度中国选派的2位骨干人才之一,被派往硅谷在吴恩达带领下参与技术中心的搭建。
在这期间,百度自动驾驶项目加速,孔旗成为其中的参与者之一。2017年,百度发起Apollo项目,从0到1搭建了中国 第 一个自动驾驶技术体系,推进了Apollo开源计划。同时研发了目前自动驾驶主流使用的EM路径决策规划算法,使得百度MPI从17年的41.6提升至19年的18050。
但当时的百度,在无人驾驶布局的重心在乘用车领域,或许是孔旗在物流方向的决心,与百度无人驾驶商业化方向有些出入,才让当时的孔旗有了离开的想法。
有了在百度的技术积累,孔旗在2018年从百度硅谷来到京东物流,承担智能驾驶的研发与运营工作。而在离开百度前,孔旗已经是百度技术委员会委员。
根据孔旗在京东物流任职时的公开言论,他认为那时的干线物流自动驾驶的价值量,并不高于末端无人配送。在技术层面,干线物流自动驾驶的技术难度并不是很大,但是面临的政策风险却很高;在经营层面,末端配送的成本占到整个物流环节的40%-50%,拥有更大的价值空间。
孔旗也坦言,来京东物流的原因是感觉末端配送具备巨大的潜力。
在京东,孔旗开始验证自动驾驶的商业化成效。作为京东物流自动驾驶首席科学家,孔旗帮助京东重构了无人配送车全新L4级自动驾驶技术框架,将产品迭代为无人配送车4.0,并在2019年底实现无安全员跟车,从2020年开始公开道路的常态化运营。
值得注意的是,武汉疫情期间,孔旗所率队研发的京东无人配送车“大白”在往返行驶6800公里、运送包裹约1.3万件后被国家博物馆永 久收藏。
随着自动驾驶技术沉淀,与市场环境和需求的变化,在孔旗心中逐渐有了商业化落地的思路,即搭建一张科幻感十足的“无人城配网”。
于是,带着心中的自动驾驶技术价值推广落地的决心,孔旗走向了创业征程。2021年8月,九识智能在苏州成立。创立之初立下的愿景是“让物流更简单”。
最初,九识智能站在台前的两位核心成员是朱伟铖与庄立。其中,朱伟铖是百度自动驾驶运动规划团队的创始成员之一,2014年曾在百度的美国研究院工作,2019年3月,入职京东物流。庄立在2014年同样在百度美国研发中心任职,2019年1月离开百度加入京东物流。
两位核心成员的工作履历与孔旗基本重合,也意味着三人合伙创业已经有了相当的默契。
让自动驾驶“强落地”
九识智能创立至今仅有两年半,但产品迭代进展相当迅速。其中一个原因,便是九识智能“非零起始”的团队。
在团队的组建过程中,九识智能的团队覆盖软件、硬件、运力运营,各专业板块负责人也均是在全球*自动驾驶企业平均从业十年以上的资深专家,多人曾主导或参与国内多个*影响力的自动驾驶项目从搭建到落地的完整闭环。
据九识智能方面介绍,其团队历程追溯至2013年百度在国内布局自动驾驶时,并将这段时间称作技术积累期,2018年下半年开始,九识智能团队进入商业化验证期。而2021年8月九识智能创建后,公司团队直接进入落地阶段,开启规模化商业化运营。
2022年2月,九识智能的第 一款无人车产品实现量产,在九识智能成立后的7个月时间,已经有四款九识无人车相继落地。
在业务方面,九识智能并非单纯进行自动驾驶技术开发和场景应用。据介绍,九识智能专注于人工智能和芯片技术的研发及规模化应用,并具备开放道路纯无人驾驶标准化产品及应用落地能力。
围绕芯片技术以及应用这两大方向,九识智能注册了两家全资主体:江苏春鲜生供应链有限公司,主要做城市配送运输服务;上海九识智芯,则主打芯片。此外,目前九识智能已经规划和搭建起面向市场需求的整车生产体系。
目前,九识智能无人城配车已在50多个城市上路,L4累计运营里程超过200万公里。在新加坡,九识智能已经完成封闭场景测试,正在积极准备下一阶段的公开道路纯无人试运行。
九识智能在落地应用方面放开了格局,聚焦于城配物流场景,定位在全球市场。与过去几年,低速无人驾驶物流车企业针对G端、园区等客户不同,九识智能的客户方向在B端,为客户提供可规模化的低成本运力及无安全员的自动驾驶运输服务,在快递快运等传统物流业务到社区团购、商超零售等多种类别的城市B2B配送业务中都能看到九识无人车的身影。
大佬云集,思路清晰,九识智能才可以在创立两年半的时间里,迅速实现自动驾驶技术的强落地应用。这样一支团队即便在无人驾驶高手汇聚的苏州,也会很快被资本发现。
美团、百度都跑来投
天眼查信息显示,九识智能在创立一年时,便完成了第 一轮3000万美元的战略融资。这在自动驾驶赛道中的末端配送方向上,已经是非常亮眼的存在。
近日九识智能完成A轮融资,本轮融资由美团领投,在跟投的机构中还有BV百度风投,以及老股东蓝湖资本和建发新兴投资。