新浪财经

乔治白:2023年净利润同比增长67.21% 拟10转0.1股派2元

中证网

关注

风险点:报告期内非经常性损益达3.43亿元。

优势点:存货周转率持续高于行业平均水平;风险点:应收账款周转率持续低于行业平均水平。

中证智能财讯 乔治白(002687)2月29日披露2023年年报。2023年,公司实现营业总收入14.92亿元,同比增长16.63%;归母净利润2.03亿元,同比增长67.21%;扣非净利润1.92亿元,同比增长57.49%;经营活动产生的现金流量净额为4.39亿元,同比增长563.56%;报告期内,乔治白基本每股收益为0.4元,加权平均净资产收益率为14.94%。公司2023年年度利润分配预案为:拟向全体股东每10股转0.1股派2元(含税)。

以2月28日收盘价计算,乔治白目前市盈率(TTM)约为11.64倍,市净率(LF)约1.54倍,市销率(TTM)约1.59倍。

公司近年市盈率(TTM)、市净率(LF)、市销率(TTM)历史分位图如下所示:

资料显示,公司主要从事“乔治白”品牌的职业装、男装及休闲服饰的生产和销售。

数据统计显示,乔治白近三年营业总收入复合增长率为11.08%,近三年净利润复合年增长率为12.18%。

分产品来看,2023年公司主营业务中,衬衫收入4.44亿元,同比增长17.15%,占营业收入的29.76%;上衣收入3.49亿元,同比增长4.22%,占营业收入的23.37%;西裤收入2.93亿元,同比增长10.47%,占营业收入的19.64%。

截至2023年末,公司员工总数为3647人,人均创收40.91万元,人均创利5.57万元,人均薪酬9.47万元,较上年同期分别增长15.89%、66.15%、6.67%。

2023年,公司毛利率为49.86%,同比上升2.89个百分点;净利率为13.84%,较上年同期上升3.91个百分点。从单季度指标来看,2023年第四季度公司毛利率为49.13%,同比上升4.45个百分点,环比下降3.23个百分点;净利率为15.42%,较上年同期上升2.08个百分点,较上一季度上升0.33个百分点。

报告期内,公司前五大客户合计销售金额1.05亿元,占总销售金额比例为7.05%,公司前五名供应商合计采购金额1.73亿元,占年度采购总额比例为30.43%。

数据显示,2023年公司加权平均净资产收益率为14.94%,较上年同期增长5.94个百分点;公司2023年投入资本回报率为12.96%,较上年同期增长4.29个百分点。

2023年,公司经营活动现金流净额为4.39亿元,同比增长563.56%;筹资活动现金流净额-7321.78万元,同比减少93.19万元;投资活动现金流净额-2462.77万元,上年同期为-4632.18万元。

进一步统计发现,2023年公司自由现金流为3.64亿元,相比上年同期增长24323.91%。

2023年,公司营业收入现金比为115.44%,净现比为216.07%。

营运能力方面,2023年,公司公司总资产周转率为0.71次,上年同期为0.65次(2022年行业平均值为0.53次,公司位居同行业8/35);固定资产周转率为3.24次,上年同期为2.68次(2022年行业平均值为5.61次,公司位居同行业27/35);公司应收账款周转率、存货周转率分别为3.87次、2.77次。

2023年,公司期间费用为4.6亿元,同比增长6829.47万元;期间费用率为30.8%,同比增长0.22个百分点。其中,销售费用同比增长27.18%,管理费用同比增长11.57%,研发费用同比增长0.45%,财务费用-965.59万元,去年同期-634.61万元。

资产重大变化方面,截至2023年年末,公司货币资金较上年末增加70.67%,占公司总资产比重上升12.38个百分点;固定资产较上年末减少8.37%,占公司总资产比重下降4.66个百分点;存货较上年末减少16.89%,占公司总资产比重下降3.98个百分点;应收账款较上年末增加1.88%,占公司总资产比重下降1.94个百分点。

负债重大变化方面,截至2023年年末,公司应付账款较上年末增加132.69%,占公司总资产比重上升3.31个百分点;其他应付款(含利息和股利)较上年末减少48.97%,占公司总资产比重下降1.70个百分点;合同负债较上年末增加10.82%,占公司总资产比重下降0.14个百分点;应交税费较上年末增加25.97%,占公司总资产比重上升0.29个百分点。

从应收账款账龄结构来看,截至2023年年末,公司账龄在1年以内的应收账款余额为3.64亿元,较上年末下降189.47万元,占应收账款总额比例为80.83%,较上年末下降3.22个百分点。

从存货变动来看,截至2023年年末,公司存货账面价值为2.45亿元,占净资产的16.01%,较上年末减少4980.11万元。其中,存货跌价准备为1.24亿元,计提比例为33.56%。

2023年全年,公司研发投入金额为8634.81万元,同比增长0.45%;研发投入占营业收入比例为5.79%,相比上年同期下降0.93个百分点。此外,公司全年研发投入资本化率为0。

在偿债能力方面,公司2023年年末资产负债率为28.35%,相比上年末上升0.40个百分点;有息资产负债率为0.21%,相比上年末上升0.02个百分点。

2023年,公司流动比率为2.65,速动比率为2.24。

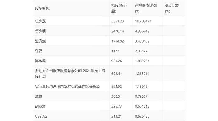
年报显示,2023年年末公司十大流通股东中,新进股东为招商量化精选股票型发起式证券投资基金、UBS AG,取代了三季度末的高盛公司有限责任公司、余林建。在具体持股比例上,许磊、浙江乔治白服饰股份有限公司-2021年员工持股计划持股有所下降。

筹码集中度方面,截至2023年年末,公司股东总户数为1.77万户,较三季度末下降了864户,降幅4.66%;户均持股市值由三季度末的13.81万元上升至15.08万元,增幅为9.20%。

指标注解:

市盈率

=总市值/净利润。当公司亏损时市盈率为负,此时用市盈率估值没有实际意义,往往用市净率或市销率做参考。

市净率

=总市值/净资产。市净率估值法多用于盈利波动较大而净资产相对稳定的公司。

市销率

=总市值/营业收入。市销率估值法通常用于亏损或微利的成长型公司。

文中市盈率和市销率采用TTM方式,即以截至最近一期财报(含预报)12个月的数据计算。市净率采用LF方式,即以最近一期财报数据计算。

市盈率为负时,不显示当期分位数,会导致折线图中断。

加载中...