新浪财经

被讨债的西安商业大佬

每日经济新闻

关注

每经记者 夏子博    实习生 胡露露    每经编辑 贺娟娟

提起10年前古城西安的商业风云,百盛立丰商场绕不过去。

1987年,毕业于西安交大、在碑林区和平路街道办事处干了近8年的颜明,嗅到了改革开放的风向,成为陕西省第一个辞职下海的公务员。

由政入商后的颜明,通过旗下的立丰系与马来西亚金狮集团合作,将“百盛”这一国际品牌引入西安,曾主导西安立丰百盛购物中心、西大街时代百盛、小寨百盛、东大街立丰百盛等项目开发,成为一代人的商业记忆。

但从2016年开始,随着西安商业“跳出”城墙,百盛旗下西安商超因业态陈旧、客流减少等原因逐渐闭店,让位于遍地开花的商业新秀。

当百盛不盛、立丰不丰,开发新项目又坎坷不断,似乎让长袖善舞的颜明也到了“举步维艰”的窘境,作为限高对象面临多方讨债。

被执行总金额5.85亿

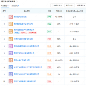
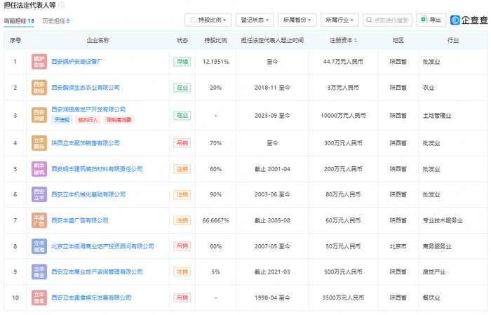
企查查显示,颜明已经被列为被执行人及限高对象:存在被执行总金额5.85亿元,限制高消费记录高达221条。

目前,银行、业主、供货商等均在向颜明、王绪春及立丰系公司追债。

2024年1月17日,中国裁判文书网刊登的《平安银行西安分行与颜明、Wang Xu Chun等借款合同纠纷执行异议裁定书》【(2023)陕0103执异342号】显示,立丰(西安)商业运营管理公司曾经从平安银行西安分行处获得贷款,截至2023年2月21日,未结清的贷款本息合计为4.42亿元,颜明和王绪春需要对贷款承担连带担保责任。

两份申请人为信托、银行的执行裁定书及企查查显示,颜某、王某某及相关房地产公司因未履行生效法律文书确定的义务,被强制执行借款本金、利息及违约金,执行中,法院查封了被执行人两家相关房地产开发公司名下共594套房产。

《每日经济新闻》记者注意到,2023年前后,颜明就在迅速注销相关公司,并卸任管理层,退出股东行列。

例如其一手创立的西安立丰企业发展投资(集团)有限公司(以下简称:立丰发展),企查查显示,在2023年01月13日,颜明及王绪春分别将93.6207%、6.3793%股权交给了自然人股东边佳、李胜利。

目前,颜明仅担任三家公司法人,分别为西安锅炉安装设备厂(持股12.1951%)、西安鹮保生态农业有限公司(持股20%)、西安润银房地产开发有限公司(未持股)(以下简称:西安润银)。

据法院方面披露的一份裁判文书,颜明的妻子——王绪春似乎已经是外籍身份,名叫“Wang Xu Chun”。而有关颜明的公开消息是于2023年9月,在时代人物杂志社官微作为商会前辈分享经验,目前难以判断颜明和王绪春是在国内还是在国外。

对此,记者联系立丰发展,显示电话已关机,记者同时联系立丰城开发方西安润银,对方表示自己是一线员工,不了解相关情况,且部门仅面向业主,无法提供其他联系方式。

商业项目问题不断

颜明打造的项目不少,其中两个比较知名的项目为——东二环边上的立丰国际购物广场和城南的立丰城。

2008年,西安东二环的立丰国际购物广场横空出世。这个定位为中高端的购物商城曾引领东二环商业,与当时的钟楼、南门商圈等均是年轻人逛街首选,也让颜明成为本地明星企业家。

然而过去近20年,西安商业浪潮汹涌向前,无数商场开业迎宾、又黯然闭店,东二环的立丰国际购物广场亦传出北区停业消息。

记者来到现场发现:立丰国际购物广场南区及底层的沃尔玛仍在正常经营,但北区停业已有一段时间,仅商场外部沿街的麦当劳星巴克等在正常经营,商场内部的商户已基本全部关闭,仅剩部分清仓甩卖的服装档口,再往上几层则是一片漆黑。

如果说立丰百盛广场的“冷清”是老牌商超的宿命,那象征“第二春”的立丰城则从诞生起便时运不济,命运多舛,并直接造成了立丰系的衰败。

立丰城于2014年前后立项,是立丰系开启下一个十年的接棒作品,位于丈八东路与子午大道十字西南角上,是包括15万平的大型购物中心、LOFT高层、写字楼、住宅、公寓等的城市综合体项目。

但从2018年开始,立丰城的公寓、住宅因未按期交房,成了西安著名的维权项目,多次在工地现场上演维权、承诺、违约戏码。

立丰方在裁判文书中给出的原因是:案涉工程连续遭遇总包更换、冬季“禁土令”以及2020年新型冠状病毒肺炎疫情的影响,导致工程多次停工。

据每日经济新闻此前报道,在给业主的回复中,立丰称:原总包施工单位(中铁航空港建设)施工进度一直缓慢。我们于2019年以放弃向中铁追索延期违约赔偿(对业主的违约赔偿已超千万并还在扩大;同时项目增加的额外财务成本亦达数亿元之巨)为代价更换了新的施工总包单位(开城建设)。

由此撕开的口子,直至今日也仍未消弭。

首先是业主方,开发方西安润银有关商品房预售合同纠纷的裁判文书近100份,不仅要应对逾期交房违约金、补偿金、资金占用费等,还有不少业主要求退房,截至目前,裁判文书显示西安润银已无财产可供执行。

供货方也是同样情况,据中国裁判文书网,日立电梯(中国)有限公司曾向立丰城供应149台电梯,合同款为444.80万元,但在履行了电梯的供货义务后却未收到合同款。被告润银公司辩称,对合同的款的金额认可,因资金紧张,暂无力支付。

融资难、融资贵?

作为本土明星创业者,颜明还身兼一些社会职务,据中国民主同盟官微,(曾任或现任)比如全国项目中心建设委员会主席、西北项目中心主席、陕西省晋商商会名誉会长等。

风光时,颜明关心教育、地产转型等,而开发遇困后的颜明,题换成了解决中小企业融资难、融资贵问题。

2022年3月,颜明向华商报表示,近两年来,中小企业融资难、融资贵问题凸显。大量的中小企业从金融机构无法获得资金支持,只能无奈转向抵押门槛低、手续流程快、但利率畸高的民间借贷“怀抱”。

实际上,在地产行业不景气情况下,近年因资金问题延期交房的西安房地产商并不在少数,有的走上了民间借贷路,有的则破产重整,还有的在艰难维持,房价上涨红利退去,还有人工、材料的成本上涨,民营房企的艰难可想而知。

与颜明的商业走势有诸多相似之处的,还有曾问鼎陕西首富的吴一坚。两者均是西安商业推动者,一个引进了立丰百盛,一个自创了世纪金花,且两人都是发迹于西安的晋商,都曾担任陕西省晋商商会会长。

而在金花系的处境走向下坡路之时,作为民营企业,银行系统的突然断贷,给了严重依赖信贷的金花系致命一击,为了续命求生存,吴一坚甚至连年利率超过20%的高利贷都借过。

在《时代人物杂志》采访中,颜明曾自称自己是时代的幸运儿,在时代的发展中抓住机会,获得了财富。当选择从公务员辞职下海时,他是这样想的,“成功了当然好,但如果失败了,我还是我,我本来就是个穷光蛋,失败了无非是接着做穷光蛋。”如今,不知又是作何感想。

加载中...