新浪财经

桂林航空复航掀风波,两大股东隔空“互怼” 究竟谁才是控股股东?

每日经济新闻

关注

每经记者 王帆  杨煜    每经编辑 董兴生    

去年11月,因国资股东与另一股东海航航空集团存在纠纷,后者切断服务保障,桂林航空陷入停航风波。三个月后的2024年2月1日,桂林航空宣布正式复航。

然而,几天后,2月7日零时许,海航航空集团突然发布声明,称桂林航空的复航决策完全由桂林方单方决定,未征询海航航空集团作为实际控股股东的意见。桂林航空实质上长期处于“脱网”运行状态,桂林航空的一切安全、服务、运行、经营等责任均与海航航空集团无关。

同日傍晚,桂林航空国资股东桂林市交通投资控股集团有限公司(以下简称“桂林交投”)发布声明回应表示,其是桂林航空的合法控股股东,将全力维护国有资产不流失。

至此,海航航空集团与桂林航空国资股东的矛盾无疑已经公开化。《每日经济新闻》记者注意到,桂林航空已经开始着力“去海航化”。而遭遇断供的三个月,桂林航空如何填补软件、硬件的缺口?随着矛盾摆上台面,到底谁才是桂林航空的控股股东?这场复航风波又会走向何方?

复航后遭海航方面控诉

桂林航空成立于2015年,是由海航航空集团与桂林当地国资共同筹建的地方性航司。组建初期,其所有飞行、签派、乘务、安全、IT等专业技术人员都是从海航引进,海航还向其派出管理人员、工程维修师等,安全运营也主要在海航“一张网”下进行保障。

2023年11月初,据多家媒体报道,因两大股东存在纷争,海航航空集团认为桂林航空已脱离控制并停止为桂林航空提供航材供应、航空维修等保障服务,导致桂林航空在无相关服务支持下选择停航。

三个月后,今年2月1日,桂林航空正式复航。启航仪式颇为隆重,据桂林航空官方微信公众号,桂林市委副书记、市长李楚,桂林市委常委、常务副市长蒋春华,桂林市政府秘书长李一飞,桂林市国资委主任蒋平华,桂林市投资控股集团党委书记、董事长陈静,以及桂林航空与桂林机场等相关单位领导出席。

上述文章还表示:“启航活动的成功举办,标志着桂林航空回归大众视野,重新翼展云端,这是桂林航空时隔三个月以后的首次飞行,也是历经磨砺后的全新出发。”

然而,过了不到一周,海航航空集团作为桂林航空的股东之一,直接发表声明控诉,表示对桂林航空复航后的运行不担责。

根据海航航空集团微信公众号2月7日凌晨发布的声明,其表示:“现获悉桂林航空已于2024年2月1日复航,该复航决策完全由桂林方单方决定,未征询我司作为实际控股股东的意见,其复航相关准备工作及后续安全、服务、运营等生产经营管理我司均未参与,我司及体系内企业也未提供相关服务保障。”

海航航空集团进一步表示:“桂林航空作为海航航空板块引战企业之一,依据海南省高院2021年10月31日裁定批准的《海航集团有限公司等321家企业实质合并重整案重整计划》及引战投资协议,应纳入新海航‘一张网’管控运行。但由于桂林国资股东方未执行重整计划,并对桂林航空实施全面管控,桂林航空实质上长期处于‘脱网’运行状态。”

这份声明直指桂林航空国资股东“过错”,如此一来,桂林航空两大股东的矛盾正式摆到台面上。海航航空集团还表示:“在我司无法对桂林航空实施任何管控且未参与其安全运行管理及保障的情况下,在此郑重声明:桂林航空的一切安全、服务、运行、经营等责任均与海航航空集团无关。”

遭遇断供后忙招聘、找合作

在上述桂林航空关于复航的报道文章中,公司称,本次复航是“历经磨砺后的全新出发”。这一说法颇具特殊意味,反映的是桂林航空遭遇断供后的艰难自救。

“桂林航空能够复航,主要是需要有人对其机务、飞行、乘务、售票、IT等进行保障。海航停止了(服务),就得找新的人来承接。”一位民航业内人士向《每日经济新闻》记者表示,“桂林航空的机型比较简单,大多数国内航司都能承接。”

记者从航班管家获取的数据显示,桂林航空现运营有10架飞机,其中8架A320、2架A319。

记者搜索发现,从去年11月停航至今,桂林航空在桂林人才网、广西人才网等多个当地招聘网站发布了招聘信息,岗位包括机务维修、IT助理、航线维修技术员等。

一位知情人士对记者表示,在人员上,桂林航空的维修业务是招聘原来海航技术(有限公司)在桂林的部分人员和南航广西公司部分不愿意去南宁的人员;在硬件上,购买航材是市场行为,有需要就可以买到;在运行和销售上,有第三方支持,例如使用吉祥航空的软件系统,借助OTA平台同程旅行售卖机票等。

上述民航业内人士也向记者表示,桂林航空目前是吉祥航空在提供支持。

记者就此向吉祥航空求证,公司表示:“暂时没有更多信息提供。”

在复航仪式上,桂林航空总裁瞿涛在接受《桂林晚报》采访时,也介绍了停航三个月期间的准备工作:“在这三个月,我们着力夯实安全基础,提升安全系统建设,开展了多项安全准备工作。按照民航局的总体要求,经过专业的审核,我们顺利通过复航前的各项安全审定工作,今日开始复航。”

记者也拨打了桂林航空客服热线,询问复航后航班运行安全性的问题,接线人员表示:“我们是通过民航局审批、符合规定之后才能飞的,请放心。”而对于记者进一步询问公司如今机队的维保情况,对方表示不在其业务范围内,无法回答。

谁才是桂林航空的控股股东?

《每日经济新闻》记者注意到,地方政府与专业航司的合作组建模式,催生了许多国内地方航司,桂林航空是其中的典型代表。一方面借助头部航司力量获得专业的服务支撑,另一方面又依靠当地政府的资金和资源支持,可谓是双赢之举,但也潜藏着隐患。

“业内类似矛盾不常见,大多数都不会公开。这个没有什么解决方法,分也不是,合也不是,通常只能另起炉灶。”一位民航业内人士向记者表示。

从最开始双方股东的蜜月期,到因控制权争议导致停航,再到把矛盾摊到台面上,桂林航空的这次风波,受影响的是地方形象、企业经营和旅客体验。

工商资料显示,桂林航空目前有两大股东——桂林交投持股60%,桂林航空旅游集团有限公司持股40%,前者穿透后的股东为桂林市国资委,后者穿透后的股东为海航关联公司及桂林市国资委。

初创时,桂林航空的双股东结构较为清晰,但随着2021年原海航集团执行重整,桂林航空是否在重整范围内,是否属于重整后的新海航之列,成为双方争议的焦点。按照海航航空集团的说法,桂林航空是重整后新海航的组成部分,应当纳入集团管控。然而,对于这一说法,桂林国资股东予以反驳。

2月7日,桂林交投发布的声明称,桂林交投是桂林市属国有独资企业,是桂林航空的合法控股股东,多年来一直实际履行控股股东义务,确保了桂林航空的平稳运行和发展。

“近几个月以来,桂林航空在自身努力和各方支持帮助下,已顺利完成维修体系与运行系统的搭建和升级等工作,经国家民航监管部门严格审查验收,依规依法取得复航许可,并于2024年2月1日复航,全力投入安全运营。桂林航空不属于已破产重整的海航航空集团(民营企业)控股,也不属于原海航集团破产重组实施合并重整的321家企业之列。涉及法律层面问题,交由司法机关依法处理,我司将全力维护国有资产不流失。”桂林交投如是表示。

海航航空集团称自己是桂林航空的“实际控股股东”,桂林交投称自己是“桂林航空的合法控股股东”,究竟谁才是桂林航空的控股股东?双方各执一词。不过,显而易见的是,桂林航空已经开始“去海航化”,强调本土身份。

例如,在去年11月,桂林航空官网仍称“桂林航空由桂林市政府与海航航空集团共同筹建”,但2月7日,记者查询发现,公司简介已经删除了与“海航”相关的字眼,仅表示其为“一家以桂林国际旅游胜地为主运营基地、为旅客提供特色差异化服务的地方性旅游航空公司”。

再例如,本次复航后的宣传报道中也明确表示桂林航空是“桂林人自己的航空公司”,“单飞”运营、自立门户的意愿已经跃然纸上。

不仅如此,去年12月2日,桂林航空发布一则《关于桂林航空退出金鹏俱乐部常旅客计划合作的公告》称,12月3日(含)起退出与金鹏俱乐部的常旅客计划合作,金鹏会员购买桂林航空机票,桂林航空不提供任何金鹏会员专享优惠及服务。值得一提的是,金鹏俱乐部为海航系十余家成员航司共享的全球性常旅客奖励计划。

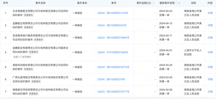
不仅是公开声明的你来我往,近期,海航航空集团旗下多家公司将桂林航空诉诸公堂。企查查显示,2024年以来,桂林航空涉诉案件数量陡增,达到30余件,均作为被告,而原告主要是易航科技、海南航空学校、金鹏航空、广西北部湾航空、北京首都航空等海航系公司,案由主要为“合同纠纷”。

对于桂林航空股东纠纷的起因和进展,《每日经济新闻》记者向海航航空集团发去询问,截至发稿未获回复。同时,记者就此向桂林市负责宣传工作的相关人士咨询,对方表示正在了解情况,并向记者转发桂林航空国资股东方的声明。

(每经记者舒冬妮对本文亦有帮助)

加载中...