新浪财经

带崩五粮液,泸州老窖“自绝”高端?

界面新闻

关注

先涨后“降”,泸州老窖搞崩了自家股价。

自11月1日,泸州老窖宣布60版特曲的38度、43度、52度三个款类将上调结算价后,才过去一个月,12月11日就有市场消息称,12月18日起,52度国窖1573将从原打款价每瓶980元降至930元,同时泸州老窖特曲打款价也将从每瓶340元下降至290元。

如此离奇的操作,直接搞蒙了投资市场。进入12月后股价本就持续走低的泸州老窖,在11日当天开盘后跳崖式暴跌7.35%,当场跌破180元关口,即便午后有所回升,但最终仍维持在4.45%的跌幅。

最糟糕的是,这一轮避险情绪的高涨,已经扩散到整个白酒市场。自泸州老窖股价闪崩后,白酒股一片“惨绿”,哪怕泸州老窖很快做出回应,结算价格并未改变,而是针对部分客户进行的利润前置调整,也没能止住白酒板块的持续下跌。

行情低迷的程度,甚至让有记录以来从未有过增持动作的五粮液,在12月14日宣布拟增持4亿元-8亿元的计划。

结合泸州老窖的业绩表现和白酒市场现状,我们得出以下认知:

1.泸州老窖针对中高端、高端白酒产品的利润前置调整,引发了极大的市场悲观情绪反馈,未来在高端化推进过程中,或许会造成极为不利的影响。

2.白酒市场的股价下跌浪潮中,五粮液等头部酒企尚且无法独善其身,在白酒股估值偏低的当下,马太效应或将进一步加剧。

“降价”的传闻,可能直接击碎了泸州老窖的高端白酒梦。

10月30日晚间发布的三季度财报显示,2023年第三季度泸州老窖实现73.50亿元的营业收入,同比增长25.41%;实现归属净利润34.76亿元,同比增长29.43%。

稳健增长的业绩,给了泸州老窖极大的信心,因此在财报发布的同时,泸州老窖也宣布对旗下聚焦中高端市场的产品进行了提价。如果没有一个月后利润前置调整招惹来的“降价”传闻,泸州老窖2023年的高端进程几乎可以完美画上句号。

甚至于此前多次声称要实现“争三保四”的行业竞赛,也有希望得到实质性进展。毕竟在上半年财报发布后,泸州老窖的业绩表现不仅大幅落后于排名第三的洋河,更是遭到山西汾酒的反超,痛失第四的排名。

根据山西汾酒的同期财报,三季度实现营收77.33亿元,同比增长13.55%;净利26.64亿元,同比增长27.12%。尽管营收表现仍高于泸州老窖,但无论是业绩增速,还是利润表现,都已经被泸州老窖所超越。

随着市场竞争的日益激烈,“争三”的目标愈发困难,但至少“保四”的压力并没有那么大。

可是在“降价”风波之后,泸州老窖不仅遭到投资市场的大规模质疑,而且在银箭财观看来,高端形象的受挫,也将迎来消费者群体的不信任。甚至可能会影响到第四季度,以及年末白酒销售旺季的销量表现。

在过去两年中,泸州老窖不断致力于提升品牌形象和品质,在高端市场取得了一定的成绩。然而,与“茅五洋”等领军企业相比,泸州老窖在品牌影响力、市场份额和产品线布局方面仍有较大的提升空间。

国窖1573作为泸州老窖的高端品牌,在市场上取得了一定的认可度,但与“茅五洋”等高端品牌的影响力相比,仍有一定的差距。至少在高端产品的市场流通量上,泸州老窖的布局相对较弱,极大限制了其市场竞争力。

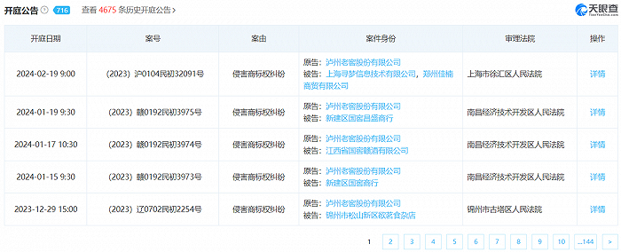
通过天眼查可以看到,作为泸州老窖的核心产品,国窖1573的商标长期面临着被侵权、被盗版的风险,有关侵害商标权纠纷的开庭公告,甚至已经排到了2024年2月。这或许也指向了国窖1573的市场存量过少,才会给侵权方留下太多利用空间。

从2023年前三季度的业绩表现来看,泸州老窖虽然在高端市场取得了一定的成绩,但在整体业绩上仍然与“茅五洋”等高端白酒品牌有一定的差距。即便是以“保四”为目标,也需要持续提升品牌形象、扩大市场份额、完善产品线布局,才能保住目前的市场优势。

更关键的是,长期以来,泸州老窖的高端化进程都离不开涨价的推动。综合市场消息,2023年以来,泸州老窖已经先后对老字号特曲、晶彩特曲、1952等产品进行了提价。

涨价的同时,泸州老窖也参考了茅台的高端营销方案。对旗下核心高端产品,例如国窖1573等,长期以“断货”的方式控制产品流通量,人为增加市场稀缺度。

就像在2023年5月和6月,泸州老窖经销商都曾爆料称,52度国窖1573经典装产品、国窖1573经典装全系产品的销售订单遭到了暂停接收。

通过调控供需关系,以稀缺度来催动品牌溢价的增长,这并不是非常规的市场营销手段。但在国内白酒消费趋于疲软、存量竞争压力不断增大、价格倒挂现象难以根除的市场现状下,多少有些不合时宜。

如今因为利润前置调整,引发投资市场如此大的恐慌情绪爆发,或许就是强行“跟随”茅台脚步推行高端化进程后,透支市场信任的后遗症吧。

特别是经此一役,消费者或许很难再认可泸州老窖的高端形象。尽管泸州老窖并没有真的降价,但11月初的涨价浪潮已然引发了不小的争论,如今的舆论导向更是为泸州老窖贴上了中高端产品“价格不稳”的标签,为了恢复高端认知,泸州老窖将要付出成倍的努力才行。

接下来,该如何审视自己的高端化策略,又该如何在竞争环境越发恶劣的白酒市场中寻求破局方向,将会是泸州老窖最应当思考的问题。

2023年白酒板块行情的不明朗,早已埋下了失控的风险,很不幸,泸州老窖成为引爆一整年投资者“怨气”的发泄口。

在泸州老窖因“降价”传闻导致股价闪崩后,各个白酒股也遭受波及。贵州茅台、山西汾酒、五粮液、洋河股份、古井贡酒等,第一梯队白酒股在近段时间,大都跌超3%,个别酒企跌幅甚至超过了5%。

一轮“白酒股灾”似乎已经处于酝酿阶段,但若是将目光放得更加长远,不难发现,早在2023年上半年,就已经有不少白酒上市企业开始未雨绸缪了。

其中最为明显的,是主要白酒企业在2023年的业绩表现普遍低于预期,难以通过业绩提振股价,进而不少酒企发布了增持计划。

例如5月份,金种子酒发布公告称,拟于2023年5月23日起6个月内,通过集中竞价交易方式增持公司股份,合计增持金额320万-420万元;7月份,海南椰岛公告称,拟自2023年7月17日起6个月内,以自有资金通增持公司股份,增持金额1000万元-2000万元。

此外,也有不少酒企选择通过股价回购的方式,来应对股价的持续低迷。

例如12月5日,华致酒行公告称,计划回购1亿元-1.5亿元公司股份,用于减少公司注册资本或员工持股计划或股权激励;舍得酒业此前也曾宣布,拟以集中竞价交易方式回购1.85亿元-3.7亿元的公司股份。

在泸州老窖引爆白酒股下跌浪潮后,不仅是五粮液罕见地公布了增持计划,泸州老窖也紧随其后在12月14日晚间发布公告,声称收到公司控股股东泸州老窖集团有限责任公司的增持计划,预计将于公告之日起6个月内通过集中竞价交易增持公司股票,拟增持金额2亿元-2.5亿元。

在银箭财观看来,当前,白酒行业再度呈现出低情绪、低估值等特征,市场情绪波动远大于产业变化。考虑到白酒产业趋势与酒企经营保持稳健运行,且韧性相对较强,2024年市场主旋律,或许仍将以“去库存”为主。

根据国家统计局的数据,2023年1月至9月白酒行业产量跌幅收窄,规模以上白酒企业白酒产量达306.6万千升,同比下滑9%。

对于大多数酒企而言,过去的两年间都处于库存去化周期,但白酒消费需求的积弱,并没有缩短行业整体库存去化的周期。不仅2024年仍将考验酒企的去库存能力,未来长时间内,“库存”都将成为各个白酒的经营第一要务。

这也意味着马太效应也将进一步扩大,强者愈强的行业现状面临加剧趋势,中小酒企的生存空间将进一步恶化,末位淘汰的行业洗牌周期正在加速到来。

如此一来,泸州老窖的破局方向,似乎只剩下了年轻消费市场。

回顾2023年酒类消费,以梅见为首的青梅酒异军突起,锐澳、馥野百威为首的预调鸡尾酒增量显著,年轻人的酒水消费热度正在持续增长。

为了争夺年轻消费群体,各个头部白酒品牌都推出了更符合年轻人口味的低度酒,例如剑南春水晶剑38度、五粮液39度、竹叶青38度等等。连同泸州老窖自己,也推出了38度的国窖1573。

就像曾经爆火一时的江小白,如果泸州老窖能够讲好年轻人的白酒故事,未必不能在高端化进程受阻的当下,找到新的发展方向。

希望泸州老窖能够早日平息“降价”风波带来的不利影响,重拾国字号老品牌的自信,回到第一梯队之中吧。

加载中...