汪小菲被执行,一个逃避现实的男人
南风窗
昨日,12月26日,汪小菲被曝出正在面临重大法律和财务危机。
中国执行信息公开网显示,汪小菲新增一则被执行人信息,执行标的达到748万余元,由北京市第三中级人民法院执行。
图源:中国执行信息公开网
就在今天,12月27日午间,汪小菲现身麻六记官方旗舰店的直播,回应了网络上热议的“被执行748万”这一消息。
他说:“做企业难免有各种事,这都是关于我在创立麻六记之前的投资,现在还都在法院的审理过程中,没有最终的结果,是保全阶段,没有被强制执行。”
保全与执行的区别在于,前者是预防性和暂时性的措施,旨在维护诉讼期间的状态不变;而后者则是在诉讼结束后,对法院判决或裁定进行强制实施。
然而,一名法律行业从业者向盐财经记者表示,汪小菲的回应还需斟酌。
根据最高人民法院制定的《关于执行案件立案、结案若干问题的意见》第五条,执行实施类案件类型代字为“执字”,按照立案时间的先后顺序确定案件编号,单独进行排序;但执行财产保全裁定的,案件类型代字为“执保字”,按照立案时间的先后顺序确定案件编号,单独进行排序。
而根据中国执行信息公开网披露信息,汪小菲这一被执行案件的案号为(2023)京03执2184号,代字并非是执行财产保全裁定案件的“执保字”。
与此同时,公开信息显示,汪小菲所持有的3家公司的大量股权也被冻结。
麻六记不停开店,张兰直播不停赚钱,汪小菲却在不停欠款。
有网友认为,汪小菲的一系列行为属于逃避现实的表现。汪小菲也再次位于舆论旋涡的中心位置。
比起商人,在很长一段时间里,汪小菲更像个娱乐人物。与前妻徐熙媛的争执,曾牵扯出无数传闻、嘲讽、谜团。一条又一条社交平台的舌战,惹得张兰、大S母亲、狗仔纷纷发声,你方唱罢我登场,把热搜演成了戏台。
至于他的创业进展如何、餐馆经营状况怎样,作为“企业家”的汪小菲已经鲜有人关心。
S HOTEL母公司股权被冻结
值得注意的是,早在今年4月,汪小菲的财务状况恶化就出现了端倪。
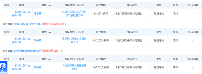
天眼查信息显示,他持有的包括合润麟(北京)食品有限公司、北京合尊置业有限责任公司和北京小汪麻六记文化科技发展有限公司在内的三家公司的大量股权,都已被北京市第三中级人民法院采取了冻结措施,股权价值分别为920万、347万和20万。冻结期限自2023年4月18日至2026年4月17日。
股权被冻结信息/图源:天眼查
其中,成立于2013年的合润麟(北京)食品有限公司,是汪小菲早期创业项目之一。公司主要产品是合润麟私家茶,由知名艺人大S代言。
合润麟私家茶海报图
尽管公司在市场上推广了“S茶”和“茶S”等系列商标,但这些产品最终在激烈的市场竞争中未能获得持久成功。
北京合尊置业有限责任公司成立于2015年,可以视为汪小菲进军房地产行业的一次尝试,公司主要业务涉及房地产开发,包括住宅和商业地产的开发、建设及施工服务。与前妻大S密切相关的“S HOTEL”便是其名下酒店。
S HOTEL外观图
北京小汪麻六记文化科技发展有限公司属于海南合尊地产成员,早期名为北京俏江南食品科技有限公司,在去年6月才更改为现在的名字。
汪小菲股权被冻结的具体原因,暂时不得而知。
流量消退,麻六记还在努力
此次汪小菲被列为执行人,让人不由关心起麻六记的经营情况。
12月10日,麻六记成立三周年。
麻六记起初的定位是人均消费100元左右、菜色传统简单但正宗、装修时尚的“线下小店”,第一家门店便开在了北京国贸。
2023年12月22日,麻六记全国第31家分店在上海环宇城开业/来源:麻六记官微
但由于当时线下生意受阻,麻六记便拓展了线上业务,销售酱料、速食、零食、火锅底料和预制菜等,转型为汪小菲口中的“食品公司”。
麻六记的线上销售渠道,主要依靠汪小菲及其母亲张兰的个人账号及“麻六记官方旗舰店”三个核心抖音账号。三个账号在抖音开播数月,但反响平平。
直到2022年11月21日,汪小菲在微博与前妻大S正面开撕,引爆网络,麻六记的线上销售命运被改变。
如果说微博是吃瓜的第一现场,张兰的直播间则是第二现场。
当晚,张兰不仅在直播中坚定支持儿子汪小菲,还大胆地回应关于儿子离婚的各种八卦。与此同时,麻六记旗下的产品链接,更是一个接着一个上。
在八卦的吸引和张兰的卖力吆喝下,当天直播间销售额超120万元,而前一晚仅10多万。
此后的几天,张兰巧妙地捕捉着每一个网络热点,直播间内,除了自家麻六记产品外,还推出了卤蛋、绿茶、床垫等,每一个产品都直指时下热点事件。
直播间售卖的卤蛋和绿茶/图源:张兰直播间截图
麻六记的品牌直播间也因此受益,不少产品被一抢而空。
然而,这场轰动一时的八卦热潮渐渐平息后,麻六记的品牌声量也随之降低。
面对流量消退,麻六记的选择是,增加直播场次,拉长直播时长。
蝉妈妈数据显示,近一年来,张兰的个人抖音账号“张兰·俏生活”直播了1868场,场均观看人次超44.3万人,日均销售额在100万至250万之间,由多个达人轮播,从每天7点开播至晚上11点。
张兰近365天直播带货情况分析/图源:蝉妈妈官网
“麻六记官方旗舰店”近一年开播了744场,近六成的单场直播时长都超过4小时,除介绍产品外,偶尔也会直播工厂内部环境、流水线作业等。
汪小菲在直播带货上并没有前两者积极,两年多以来,他一共直播了258场,其中带货场次为207场,超出120场都是在近一年内开播。
汪小菲近730天直播情况分析/图源:蝉妈妈官网
“麻六记目前线上业务营收为线下业务营收的2-3倍左右,此前直播带货月度销售额曾突破上亿元,其中单日销售额甚至曾超过千万元。”麻六记CEO安勇在今年10月接受媒体采访时说道。
与此同时,麻六记也在不断加快线下门店建设和零售销售渠道铺设的步伐。
窄眼数据显示,截至2023年12月4日,麻六记共有29家门店,其中超过11家门店开业于2023年,且门店多分布在一线和新一线城市。
在零售渠道方面,安勇透露,公司成立了专门的部门负责零售渠道,并进入沃尔玛超市、7-Eleven便利店和Today等。
汪小菲为自家酸辣粉拍摄的带货视频截图
汪小菲前不久前更是公开表示,明年麻六记将铺设一万个商超。
事端频出,离上市还早
今年11月,有消息称麻六记在积极接触投资人,或最早于明年在香港上市。
对此,张兰在接受媒体采访时表示:“多年前俏江南计划上市的时候踩过坑,所以现在麻六记不会轻易融资。”截至目前,麻六记没有公开融资信息。
在多事之秋的2023年,麻六记可能也没有心思准备上市。
今年3月,张兰被爆出在海外家族信托被击穿,导致其拖欠CVC基金1.42亿美元(约合人民币9.8亿元)及利息,张兰后对此回应称是“被资本算计”。
张兰在直播中回应海外家族信托资金被击穿一事
还未摆脱资本的纠缠,张兰又与前员工陷入纠纷。
同是在3月,麻六记直播间前运营团队负责人孟贺带走了团队内的20多人,并宣称麻六记拖欠其近90万元工资,而麻六记则反驳称已向团队支付超过1000万元佣金,并指控孟贺散布虚假信息,在直播中私售其他品牌产品,即使经过多次警告仍然违约。
数月后,张兰在直播中透露,孟贺的劳动仲裁案失败,麻六记无需赔偿。
张兰和孟贺
而作为一家餐饮公司,最重要的还是食品安全问题。
作为麻六记官方抖音账号上最畅销的产品,麻六记酸辣粉累计销量超1亿桶。但这一爆款产品却在今年的“3.15”消费者权益日当天被指含有20余种添加剂。
中国食品安全网发布的报告指出,麻六记的酸辣粉并非完全使用红薯粉,而是添加了木薯粉、蕨根粉等其他淀粉,并在产品中发现含有铝铵明矾,长期摄入含铝食品添加剂可能导致健康问题。这引发了消费者对麻六记材料掺假和虚假宣传的质疑。
按添加剂数量为市面常见的十款酸辣粉排序/来源:中国食品安全网
但此前张兰还在直播间向网友保证,自家酸辣粉品质有保障,并嘲讽靠贴牌的产品,满是科技与狠活。但事实上,麻六记旗下的预制菜产品也依赖的是工厂贴牌模式。
张兰后对此回应称,没有建自家的生产厂是由于投资成本过高,动辄需要几十亿元,但其产品代工厂内的材料、秘方和工人都是自己的。
然而,这种模式也可能埋下发展隐患。如果品牌方没有严格的生产监管标准,一旦供应商在供货能力或质量标准上出现问题,品牌方将直接面临风险,尤其是食品安全问题。
麻六记酸辣粉背后的代工厂“阿宽食品”就在冲刺上市的过程中饱受食品安全问题争议,前有阿宽面皮异物风波,后有此次代工的酸辣粉产品被官方点名。
即便如此,汪小菲仍对麻六记的上市满怀期待和野心,“希望十年后带着我妈去敲钟,圆她一个梦”。
张兰也是如此。在接受媒体采访时,她表示,自己现在的小目标是给麻六记站好最后一班岗。
“小菲同学带我去敲个钟,那我就要保证十年后要比现在更漂亮地站在舞台上。”张兰说。
本文首发于南风窗旗下财经新媒体盐财经