新浪财经

京东方、明阳电路、星宇股份等5家公司取得LED相关专利

LEDinside

关注

近日,明阳电路京东方星宇股份晶丰明源宝莱特相继取得最新LED专利,涉及Micro LED、车用照明、LED显示、LED照明等。

明阳电路取得Micro LED专利,提升芯片稳定性

12月,明阳电路的多个Micro LED发明专利有新动态。其中“一种micro-led芯片及其集成方法”发明专利获得授权,授权公告号CN116895726B,授权公告日2023年12月22日。

该专利可提高了Micro LED芯片的制作精度和效率,提高Micro LED芯片的产品稳定性。具体专利内容如下。

发明公开了一种Micro LED芯片的集成方法,包括如下步骤:在辅助膜上通过激光3D成型方法形成焊盘;在焊盘上形成与焊盘连通的线路图形;去除辅助膜,对焊盘进行双面沉金;并通过焊盘将线路图形连接至Micro LED芯片中。

本发明提供的一种Micro LED芯片及其集成方法,借助辅助膜以及激光3D成型方法形成焊盘,再在焊盘上形成线路图形,并采用焊盘形成芯片和线路图形的连接。

此外,明阳电路还公布了发明专利“一种micro-led芯板及其制备方法”,另外“一种micro-led芯片的封装方法”发明专利进入实质审查阶段。

资料显示,明阳电路主营业务为印制电路板(PCB)的研发、生产和销售。2020年投资成立半导体子公司明阳芯蕊,主营Mini LED 、Micro LED等封装基板和半导体引线框架等。

京东方获得LED显示专利,解决面板走线问题

近日,京东方A(000725)新获得一项发明专利授权,专利名为“触控模组及其驱动方法、LED显示屏”,专利申请号为 CN202010982422.9,授权日为2023年12月19日。

该发明提供一种触控模组及其驱动方法、LED显示屏,属于显示技术领域,其可至少部分解决现有的触控模组运用于触控精度比较高的显示面板或者尺寸比较大的显示面板中由于走线较多等因素而占用较多空间的问题。具体内容如下。

本发明的一种触控模组,包括:多个第一电极和多个第二电极;多个集成电路单元,与所述第一电极对应的所述集成电路单元沿所述第一方向间隔排列,与所述第二电极对应的所述集成电路单元沿所述第二方向间隔排列,每个所述集成电路单元的第一输入端与对应的所述第一电极或第二电极信号连接;控制单元,所述控制单元的输出端通过一条控制线与所有所述集成电路单元的控制端连接,所述控制单元的输入端与所有所述集成电路单元的输出端信号连接。

星宇股份获车灯系统专利,可替代矩阵芯片功能

近日,星宇股份新获得一项实用新型专利授权,专利名为“基于时间管理策略实现LED动态控制的车灯系统”,专利申请号为CN202321842773.5,授权日为2023年12月22日。

该实用新型的基于时间管理策略实现LED动态控制的车灯系统,替代矩阵芯片功能,解决目前LED矩阵控制芯片缺货难题。具体专利内容如下。

本实用新型涉及车灯控制技术领域,尤其涉及一种基于时间管理策略实现LED动态控制的车灯系统,包括:电源输入模块、LDO模块、单片机模块、开关电源电路、AD转换电路、信号检测电路、时钟发生器电路、移位寄存器电路、MOS管模块、LED光源模块;电源输入模块向LDO模块和开关电源电路供电,开关电源电路实现LED光源模块的恒流控制,AD转换电路和信号检测电路检测车灯输入的功能信号,经由单片机模块采集信号,并根据信号控制开关电源电路、时钟发生器电路以及移位寄存器电路,通过移位寄存器电路输出控制MOS管模块,MOS管模块控制LED光源模块。

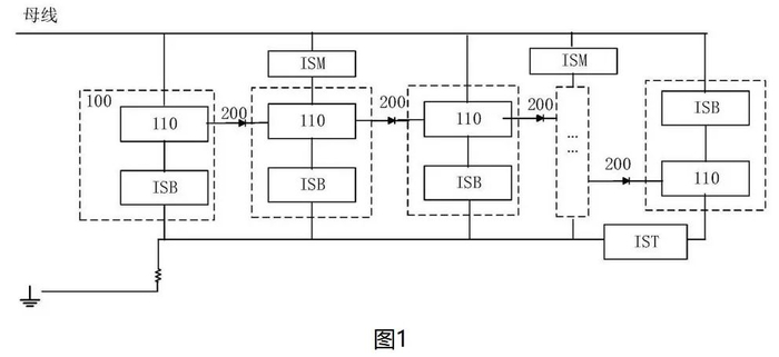
晶丰明源获得LED驱动专利,减少PCB走线数量

近日,晶丰明源获得一项实用新型专利授权,专利名为“多段线性LED驱动控制电路、驱动电源及照明系统”,专利申请号为CN202321772932.9,授权日为2023年12月22日。

本实用新型专利能够在显著减少PCB走线数量。具体专利内容如下。

专利摘要:本实用新型提供了一种多段线性LED驱动控制电路、驱动电源及照明系统。多段线性LED驱动控制电路的输入端连接母线,其包括至少3段LED灯串驱动控制子电路、至少1个主路恒流控制器和总恒流控制器,每段LED灯串驱动控制子电路的输入端均与母线耦接、输出端相互耦接;

每个LED灯串驱动控制子电路包括LED灯串和支路恒流控制器;靠近多段线性LED驱动控制电路的输入端的LED灯串的阴极通过二极管和与其相邻的LED灯串的阳极耦接;主路恒流控制器耦接在母线和对应的灯串LED的阳极之间,总恒流控制器耦接在其中一段的输出端和对应的LED灯串的阴极之间。

宝莱特取得LED灯调光技术专利,亮度和色彩调整更自然舒适

12月25日,国家知识产权局公告,广东宝莱特医用科技股份有限公司取得一项名为“一种LED灯调光系统及调光方法“,授权公告号CN109379804B,申请日期为2018年10月。

该专利以低成本、结构简单的方式优化了LED灯亮度和色彩的调整过程自然、变化过程柔和避免低频闪烁的现象,提高了驱动信号的稳定性和抗干扰性,保证了LED灯亮度和色彩调节过程可顺利完成。专利具体内容如下。

专利摘要显示,本发明公开了一种LED灯调光系统及调光方法,包括依次连接的调光模块、恒流驱动模块和LED灯显示模块,所述调光模块包括指数调光引擎、线性调光器、乘法器、Σ‑Δ调制器;所述调光模块通过将输入的强度挡数和调光数值转化为亮度值数字信号,并将亮度值数字信号转为PDM信号,所述调光模块输出PDM信号驱动恒流驱动模块输出相应的电流,从而驱动LED灯显示模块工作。

LEDinside Irving整理

更多Micro LED显示深入行情,欢迎了解TrendForce集邦咨询最新出刊的《2023 Micro LED市场趋势与技术成本分析报告》。

王春胜 Perry Wang

电话:+86-755-82838931 ext.6800

手机:13825284100 (微信同号)

邮箱:perrywang@trendforce.cn

关于我们

上下滑动查看

加载中...