新浪财经

张艺谋“下海”创业,刚刚又融资了

上观新闻

关注

转自:中国基金报 莫琳

一个80后和一个90后带着73岁的张艺谋,下场玩起元宇宙,刚刚,又融了数亿元……

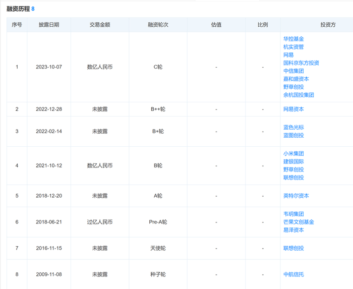
近日,北京当红齐天国际文化科技发展集团有限公司(简称“当红齐天”)完成数亿元C轮融资,由华控基金、“中国视谷”产业基金、网易、国科京东方、中信百年资产、嘉和盛资本以及野草创投联合投资。根据当红齐天的官网显示,著名导演张艺谋担任其联合创始人,同时出任当红齐天的艺术总监。

官网显示,当红齐天成立于2015年,是国家级高新技术企业、北京市“专精特新”企业,也是2022年北京冬奥会、冬残奥会和二十大新闻中心XR体验提供方。值得一提的是,此次参与融资的“中国视谷”产业基金,总规模30亿元,今年4月落户杭州高新区,由杭实资管作为管理人,力图打造国家经济地理新地标和杭州智能物联产业新名片。而此次投资当红齐天,正是该产业基金首笔出资。此轮融资后,当红齐天华东总部也正式落户杭州,成为“中国视谷”元宇宙标志性项目。众所周知,在刚刚结束的杭州亚运会上,杭州让人惊叹不已。从亚运史上首个“数字人”点火仪式、AI作画、数字烟花表演、AR孔明灯;到通过融合AI智能、数字孪生、VR等技术打造的三大创意空间、虚拟园区,以及随处可见的AR智能巴士和智能屏……一系列“科技与狠活”在这场国际赛事中贡献了无数个高光时刻。

三位创始人大有来头除了张艺谋之外,另外两位创始人齐笑和马子涵也大有来头。创始人兼董事长齐笑,曾受聘于北京2008奥运会组委会,2008年第29届 北京奥运会开幕式《画卷》制作人,闭幕式制作人之一 。2017年《财富》杂志评选中国40位40岁以下商界精英之一。

另一位联合创始人,马子涵,于1991年出生于广西壮族自治区柳州市,毕业于香港浸会大学,曾参与投资多部著名国内外影视作品,包括卡梅隆的《深海挑战》。现任当红齐天集团联合创始人、香港Web3.0协会副会长。

齐笑曾公开透露,这是张艺谋第一次以创始人的身份投资并加入一家公司。此外,张艺谋还把自己电影的 IP,包括最近在拍的、有把控权的IP都是拿过来做VR。对于加入当红齐天的原因,张艺谋曾在一个公开活动中透露:“我是一个对电影视觉和新技术非常敏感的导演,并且对VR技术也有所耳闻。但我一直觉得这是好莱坞才拥有的技术,没想到国内已经有人做出来了,所以在接到邀请时就一拍即合。”除了为国内多个重要活动赛事提供XR服务。截至目前,当红齐天集团线下大型沉浸式体验项目已落地全国16个城市和地区。其中,刚刚过去的2023服贸会上,首钢一高炉·SoReal科幻乐园亮相。这是由首钢集团和当红齐天集团共同打造的全球首个全沉浸式太空探索主题科幻综合体。

现场展示的是大空间VR竞技项目“零界特工-量子冲突”雷军、丁磊都来了去年,元宇宙是资本市场追逐的热点,但是到了今年,随着ChatGPT的爆发,元宇宙的融资似乎“熄火”了。有数据统计,截至9月14日,今年国内文娱行业(含传媒、游戏、元宇宙、社交、体育)共发生13起投融资事件,海内外共29起。2022年国内文娱领域投融资事件96起,2019年该数据为2158起。整体投融资事件都减少的情况下,相比2022年,国内元宇宙、社交的降幅均超过90%,传媒降幅达到83%,游戏行业降幅77%。恒砥资本管理合伙人周英为认为,越是寒冬越是能筛选出好项目,至今还在元宇宙赛道上坚持真正扎实做事的就是好项目。天眼查数据显示,截至目前,当红齐天已经融资了8轮。其中,B轮到B++轮集中在2021年10月至2022年12月期间,正是元宇宙投融资火爆的时候。值得注意的是,在这三轮融资中,雷军的小米集团、丁磊的网易资本以及中信集团、蓝色光标等知名企业的私募股权基金都参与其中。

业内人士告诉记者,2015年到2016年期间掀起了一场VR投资热潮,VR产业的企业数量从200多家爆发增长到近2000家。2016年5月,证监会突然叫停上市公司跨界定增收购或者募集资金投向VR行业。自那时起,VC/PE对于VR投资热潮急转直下,整个行业迎来一波大洗牌。

不同于其他VR公司主要面向C端用户,当红齐天则主打的是“B+C”。齐笑在2022年年初接受《创投智库》采访时表示,之所以做VR主题乐园,是因为在2018年,VR行业在消费者应用端的发展有限,所以团队集中精力在2B领域应用VR技术。

当红齐天的定位是“XR内容制作+载具研发+数字运营”整体解决方案及产品落地,业务涉及“XR+乐园”“XR+科技秀”“XR+电竞”“XR+体育”等多个领域。因此,当红齐天是轻资产模式,主要参与前期定位等工作。彼时团队有400余人,其中技术和内容方面的人员占比为70%,主要负责IP定位的项目仅有7个人。

正是因为技术和内容并行,以轻资产模式输出的商业模式,当红齐天在2018年获得了国际半导体巨头英特尔旗下基金的一笔A轮独家融资。

英特尔投资副总裁兼国际业务高级董事总经理林立中曾表示:“投资当红齐天,能够推进VR技术的产业化应用,为全球用户带来前所未有的出色体验,这一过程所产生庞大的数据流,将会对计算与通信能力提出更高的要求,进而加速数据经济向深度发展。”

加载中...