电影技术变革史
界面新闻
电影工业诞生一百多年来,从黑白“默片”到有声的彩色电影;从简单的靠真人演绎与二维动画,到科幻、战争各类影视题材百花齐放;从2D到3D,各类道具、特效技术的发展,电影的内容更加丰满,观感更加真实。
进入流媒体时代,电影的播放早已不仅限于大荧幕,随时随地观影,发弹幕 、评分、分享,拓宽了电影的传播渠道。
近些年,AIGC制作电影从纸上谈兵成为现实,让我们看到了电影产业发展的另一种可能。
回望电影产业发展,每一次变革背后,都离不开发明家与电影创作者的共同努力。而那些针对技术应用的争议与质疑,终究无法阻挡历史的车轮滚滚向前。
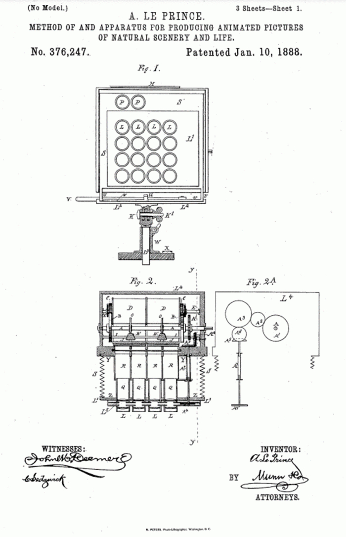
电影,本质上是一种视觉艺术作品。1888年10月,法国发明家路易斯·普林斯(Louis Le Prince)利用改进版的单镜头摄影机配合柯达公司生产的纸质胶片拍摄了《朗德海花园场景》(Roundhay Garden Scene)。这是世界上第一部电影,长度只有两秒,拍摄于英格兰的奥克伍德庄园。
(Le Prince, single-lens camera, 1888,)
为了让图像动起来,身为摄影师的普林斯利用他掌握的工程学知识,潜心研究了数年之久,并将其研究成果申请了专利。
(Method of apparatus for producing animated pictures of natural scenery and life, US376,247)
1888年1月,普林斯申请的“一种自然风光和生活动画图片制作装置的方法”在美国获得专利。该专利描述了一种由接收器或者照相机与传送器、立体视镜组合形成的装置,能够使快速投射到精细研磨的平板玻璃上的图片,通过“摄像接收器”在观众的视角中呈现出运动的效果。
(16 lens camera and projector,Made by Louis le Prince)
普林斯声称,该专利描述的设备可以用作电影摄影机,帧率是每秒16帧,传播介质是玻璃板和伊士曼纸膜。
之后,普利斯又试图在英国申请类似的专利,但只是在美国专利的基础上为设备添加更多的镜头。他在最终的提交版本中,他提到了一句关于“单镜头系统”的描述,但后人认为,这一简单的描述并不足以使他改良的单镜头相机获得专利保护。
彼时,西方的照相技术已经相对成熟,但让影像动起来还是一件稀奇事。美、英、法、德发明家们,都在研究活动影像技术。相较于普林斯将影片留作家庭内部欣赏,有的发明家开始尝试向商业化迈进。
想要通过放电影赚钱,首先要让更多的人看到内容,并且尽可能延长播放的时间。
留声机电灯泡的发明人——托马斯·爱迪生(Thomas Edison)和他的助手W.K.L.迪克生(W.K.L.Dickson)设计了一台制作和放映活动影像的机器。
(kinetograph camera,patented Aug, 1897, US589,168)
1891年,爱迪生和迪克生将活动电影摄影机(Kinetograph camera)和活动电影放映机观影箱(Kintograph viewing box)申请专利。
(Kintograph电影观影箱)
观众只需要投入一枚硬币,就可以通过设备上孔隙观看影片。放映的原理是,让胶片在设备中以一定的速度移动到镜头下方,当每一帧画面通过镜头时,快门都会发出短暂的闪光,这种视觉暂留现象,使得一系列相对静止的画面,在移动中以运动图像的形式呈现出来。
有了赚钱的设备,爱迪生和助手便着手做内容。1893年,两人将在新泽西的实验室改造成了一间小型的摄影棚, 命名为“黑玛丽”(Black Maria)。当时,影片放映的最大长度不过20秒,内容大多是体育人物的风采还有简单的喜剧小品。
(爱迪生的助手迪克生向美国国会图书馆询问版权申请的状态,照片来源:WIPO)
1894年1月,爱迪生工作室制作的电影Blacksmithing Scene (filmed 1893)在美国获得版权注册。这是迄今为止第一部获得版权登记的电影作品。
1894年4月14日,霍兰德兄弟在纽约百老汇开设了第一家活动电影放映室,拉开了电影商业化的序幕。
资料显示,观众支付25欧元的入场费即可观看电影,近500人成为首批电影的受众。这家电影播放室运营的第一年,每月收入在1400美元,运营成本估算在515美元左右。其中,接近一半的运营成本,是设备费用和电影版权费——
具体而言,每台电影播放机,爱迪生收取250美元的费用。经销商可以将机器自用或者转售给其他经销商。播放的影片需要另外付费,单部影片定价10美元。
(爱迪生制造公司业务损益统计,1893-1911;图源:Before the Nickelodeon Edwin S. Porter and the Edison Manufacturing Company, author Charles Musser, 1991)
商业化不到一年,通过销售观影机、胶片和辅助用品,爱迪生制造公司(Edison Manufacturing Company)的销售额约合17.8万美元,利润超8.5万。
但在房间内放置多个固定机位的播放器,并没有在根本上解决受众人数有限的问题。电影荧幕出现之后,这种电影放映室很快走向了没落。
第一次真正意义上的电影公映发生在1895年3月。由法国人路易·卢米埃创作的《工厂大门》(Workers leaving the factory)在巴黎进行了公映。之后,这部电影为科学和商业群体播放了六次。电影的播放采用的是路易与兄弟奥古斯特共同发明的一种移动式放映系统。
(LUMIèRE CINEMATOGRAPHE, 1895,CREDIT: SSPL/GETTY IMAGES)
该发明得益于父亲安托万的启发。1894年,安托万在巴黎参观了爱迪生的电影放映机展览。返回故乡里昂之后,他向善于发明的工业制品兄弟俩展示了爱迪生的胶片,并鼓励他们尝试开发更加轻便的放映机,并将影像投放到屏幕上,让更多的人看到。
之后,兄弟俩潜心实验,很快就发明出重量只有5公斤,可以移动且可以通过手柄操作的放映机,并将其投入到商业活动中。
卢米埃兄弟的商业公映票价只需要1法郎,观众就可以看到由十部单个时长约一分钟的短片组成的影片。最火的时候,一天放映了二十多场电影,观众们需要排长队观看。兄弟俩也因此获益颇丰。
同一时期,英美等国的发明家也开始制作各类移动式放映机,并进行商业化运营。得益于此,电影的播放不再局限于固定的场所,甚至可以走出国门,在世界各地放映影片。
电影诞生之后的很长一段时间,观众们看到的都是无声电影。为了让电影看起来生动有趣,有的电影院会请讲评人在电影播放时进行讲解,并邀请乐师伴奏。
直到1927年10月6日,华纳兄弟(Warner Bros)制作的电影《爵士歌手》(The Jazz Singer)上映,电影工业正式开启了有声时代。
(The Jazz Singer海报,1927)
从无声到有声的转变,不仅是技术突破,更是观念的革新。
这部电影上映之前,美国发明家德福雷斯特(Dr. Lee de Forest)对于有声电影的研究已有数年时间,并且将声音转化为电波的技术申请了专利保护。
创新成果只有实实在在应用于产品、服务于商业,才能真正的体现其价值。1924年,德福雷斯特成立了一家唱片公司,向剧院售卖他研发的音响系统。但当他试图向派拉蒙、环球影业的高管介绍他的发明时,大佬们持观望态度。他们认为,将声音植入电影当中,只会让那个电影业务复杂化。
彼时,西方电器(Western Electric)在向电影工业推广它的Vitaphone系统,也受到了类似的“冷遇”。该公司长期研究录音与音响技术,是美国电话、电报公司的子公司。Vitaphone是一种声音磁盘(sound on disc)技术,由西方电器与贝尔实验室共同研发,可以通过手动连接到电影放映机的乙烯基光盘,实现声音与画面的同步播放。
刚成立不久的华纳兄弟决定“赌一把”。1926年,华纳兄弟拿着高盛的投资,成立了Vitaphone公司,以80万美元的价格从西方电器手中租赁了这一技术。
《爵士歌手》电影上映当天,百老汇剧院里的众多名流见证了这一历史性的时刻。虽然这部电影只是让人们听到了几句即兴的台词,但获得了极高的赞誉。评论员、电影工作者将其称之为一场革命,认为这将极大的激发电影工作者的创作活力。
电影上映之后,获得了高达350万美元的票房利润。华纳兄弟在商业策略上的“冒险”,不仅挽救了自身的财务危机,也开启了30年代美国歌舞剧风潮。
1928年5月,好莱坞的电影公司与西方电器签订了声音转换技术许可合同。在此之后,有声技术被广泛应用于电影制作中,无声电影很快被市场淘汰。发明家们也通过不断的创新,降低了录制中的噪声,并让声音与画面的同步更加精准。后来,字幕的出现,让电影能够跨越语言障碍,传播的范围更广。
与有声电影的出现类似,彩色电影的普及也是一个循序渐进的过程。19世纪末至20世纪初,发明家们就已开始为商业电影增色。
1932年,美国电影《浮华世界》(Vanity Fair)上映。这是第一部采用特艺七彩(Technicolor)技术的电影。该技术利用光学原理,采用彩色滤镜、分光镜及三棱镜,纪录三色原光,并通过浸润洗印法为黑白底片染色,最终通过电影放映机播放彩色影片。
(US1,208,490“用于同时投影两张或多张图片的辅助配准装置”)
该技术最早可以追溯到1916年,由Technicolor Motion Picture(下统称Technicolor)发明并申请了专利保护。之后,经过多次技术改进,电影画面色彩更加饱和艳丽,特艺彩色技术成为好莱坞黄金时期广泛应用的色彩处理技术。
但Technicolor对于有色电影的技术垄断并没有持续太久。1950年之后,Eastmancolor、Anscocolor等更为便宜的替代方法出现,促使Technicolor开始新一轮的技术革新。
80年代,Technicolor推出名为ENR的胶片“跳漂处理”(Skip-bleach)技术,通过改变显影剂的强度,帮助控制影片的对比度和色彩饱和度。被广泛应用于数字电影的制作,斯皮尔伯格导演的《拯救大兵瑞恩》就用到了这个技术。
(Technicolor Creative Studios官网)
过去数十年间,Technicolor的所有权几次易主,至今仍活跃于影视制作、广告、动漫、游戏等领域。
2018年,专利许可授权公司Interdigital以1.5亿美金的对价,将Technicolor的18000件专利收入囊中,其中包含3000件视频编码技术专利。2022年,Technicolor宣布成立两家独立上市公司——Technicolor Creative Studios和Vantiva,前者年营收7.84亿欧元,后者年营收27.76亿欧元。
上个世纪30年代,电影特效(special effects)开始出现在好莱坞的各类电影制作中,为人们呈现了众多惊奇、壮观的画面,也在一定程度上帮助电影公司节约了拍摄成本。
(电影《金刚》,1933)
比如,通过定格动画(stop-motion)技术,将《金刚》中的小木偶转化成巨猿;利用光学印片机创作一些蒙太奇片段,用来展现时间的流逝;利用活动遮片技术,实现旧镜头的逐渐消失与新镜头的展现……
但这些物理特效能够完成的画面相对有限,想要完成大制作,不仅是钱的问题,更需要技术突破。
1975年,美国卢卡斯影业(LucasFilm)计划创作《星球大战》(Star Wars)。创始人乔治·卢卡斯(Geroge Lucas)的想象之中,这部电影讲述了一群正义的叛军与邪恶的银河帝国作战,最终取得胜利的故事。但在当时,没有一家特效公司有能力将卢卡斯描绘的太空场景和外星人的画面呈现出来。于是,卢卡斯选择自己组建一个特效团队,完成这个看似不可能的设想。
卢卡斯成立了一个由大学生、艺术家和工程师组成的团队,并将其命名为Industrial Light &Magic(译作“光影魔幻”,下称ILM)专门为《星球大战》做特效。
ILM团队创造了一种利用计算机控制摄像机的系统Dykstraflex,相较于传统的特效只能将太空舰船缓慢且僵硬的移动,这个系统可以让蓝屏中的一个位置拍摄宇宙飞船模型,同时摄像机在其周围移动,当不同的元素组合到一起时,就可以在荧幕中形成一个相对顺畅的运动错觉。
1977年,《星球大战》成为当时最赚钱的电影之一,全球票房7.754亿美元,制作成本只用了1100万美元。之后,光影魔幻着手创作续集,并计划在视觉特效上取得新的突破。
为此,卢卡斯聘请了计算机科学家艾德文·卡特姆(Edwin Catmull)担任计算机图形学部门的副主管,协助研发数字图像合成技术。
资料显示,卡特姆在博士论文中就提出了明确显示弯曲块状物而非多边形的突破性方法,在此基础上提出了3D环境中的Z缓冲(Z-buffering)和纹理贴图(texture mapping)。据称,这正是生成逼真的CGI的决定因素。
电脑特效技术的运用,并不必然导致成本的大幅上涨。2005年,《星球大战III 里斯的复仇》(Star Wars Episode VI The Revenge of the Sith)全球票房8.49亿美元,成本只上升至1.13亿美元。
(星球大战系列电影全球票房与成本对比,来源:Statistic)
1986年,史蒂夫·乔布斯(Steve Jobs)买下了卢卡斯影业的计算机部门,成立皮克斯动画工作室。在皮克斯,卡特姆主导开发了RenderMan渲染系统,能够将三维模型转化为逼真的数字图像。1995年,世界上第一部长篇计算机动画电影《玩具总动员》上映,这部电影制作就是应用了RenderMan技术。
2012年10月,迪士尼以40.5亿美元的对价,收购了卢卡斯影业,并囊括了所有现有星球大战电影的权利,以及基于该品牌创作新电影、电视节目和其他商品的权利。ILM也在收购的过程中并入迪士尼。
针对《星球大战》这一经典IP,卢卡斯影业将知产保护“武装到了牙齿”。不仅将电影中运用的各类视觉效果技术申请了专利保护,还将影片中的汽车、飞机、各类人物角色申请了外观专利。
(US2014/047457描述了一种生成用于3D环境中的动画装备的方法)
(ILM旗下业务领域,来源ILM官网)
截至2015年2月,凭借着在视觉特效领域的不断创新,ILM拿下了15座奥斯卡最佳视觉效果奖、25座奥斯卡科技成果奖,更是唯一获得美国国家科学奖章的特效公司。
星球大战的成功,成就了ILM,也将电影工业带入了计算机时代。而今,越来越多的电影特效依赖计算机技术,只有少数电影为了追求特殊的美学效果,采用物理特效。
近两年,随着大数据、深度学习等技术的快速发展,ChatGPT、Midjourney、Bard等AI工具的诞生与版本迭代,电影的技术升级进入深水区——从电脑特效到AI特效。
即便存在这些工具存在版权、隐私权侵权争议,但资本不会轻易放弃这种边际成本几乎为零的生意。数据显示,未来五年或将有10%~30%的图片AI参与生成,或有600亿以上的市场规模。
有多少传统内容工作者将因为AI失去饭碗?这一论调自ChatGPT诞生之时便争议不断。
美国时间8月13日,代表16万演艺人员的美国演员工会及广播电视艺人联合工会(SAG-AFTRA)宣布 ,他们与制片公司的谈判破裂,将从即日起罢工。
据报道,演员(主要是群演)和编剧的同时罢工,让好莱坞影视业面临创设63年以来的首次全面停摆。
群演的诉求是,制片方和流媒体公司不能用人工智能技术生成的面孔和声音替代他们。当前,一些3D扫描技术公司已经开始运用AI解决方案创造交互式3D演员模型,比如数字替身、虚拟双胞胎。
一位为漫威工作的年轻群演表示,他们用机器扫描了她三次人脸和身体,只支付她100美元,就永久拥有了他的肖像。
群演甚至明星不想被机器取代,编剧则不愿意自己辛苦创作的剧本成为AI的素材,也不想去修改AI创作的“混乱的”初稿。
但制片方却认为,人工智能作为辅助工具,能够提高创作效率,节省人工。Netflix和Disney聘请AI工程师的动向,已经说明它们在快速入场。
更有甚者,文章开头具有专业级的视觉效果,已经吸引了上百万的观看的纯AIGC电影预告片,你知道它的制片人是谁吗?
它不是由一家公司完成的,而是由德国大众 ELLI 产品经理Nicolas Neubert使用 Midjourney 和 Runway 工具制作完成。从概念、故事、剪辑、音乐,都只有他一个人。
("刚开始时,一切都是不可能的。但我们都有雄心和想象力。敢于说我们为什么不能?",来源:ILM官网)
毫无疑问,电影技术革命史上的一个新时代已经到来。