新浪财经

三连板盟固利提示风险 面对新股的活跃表现,投资者应如何操作?

第一财经

关注

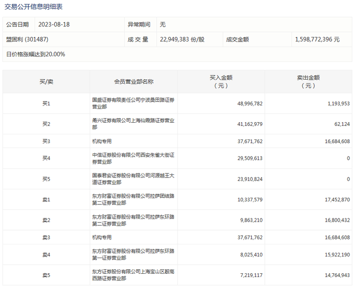
盘后龙虎榜数据显示,机构净买入2098.72万元。

8月18日,盟固利股价涨停,报73.30元,全天换手率42.14%,成交额15.99亿元。

盘后龙虎榜数据显示,机构净买入2098.72万元。

公司股票连续三日累计涨幅近73% 存在炒作风险

盟固利于晚间发布公司股价涨幅较大的风险提示公告称,截止2023年8月18日,公司股票静态市盈率为399.86倍,明显高于中证指数有限公司发布的证监会行业市盈率中化学原料和化学制品制造业平均静态市盈率15.70倍。2023年8月16日至8月18日连续三个交易日股票价格由42.42元涨至73.30元,累计涨幅达72.79%,涨幅较大,存在炒作风险。

盟固利表示,截至目前,公司日常经营情况未发生重大变化。经核查,公司未发现其他有可能对公司股价产生较大影响的重大事件;公司本次股票异常波动期间,公司控股股东、实际控制人及公司董事、监事、高级管理人员不存在买卖公司股票的行为。

上半年公司营业收入同比下降29.78%

业绩方面,2020-2022年度,公司营业收入分别为164,570.20万元、282,680.56万元及323,384.28万元,扣除非经常性损益后归属于母公司所有者的净利润分别为6,338.43万元、9,757.76万元及8,425.38万元。2023年1-6月,公司实现营业收入120,535.68万元,同比下降29.78%;公司扣除非经常性损益后归属于母公司股东的净利润为3,969.48万元,同比下降36.03%。

盟固利提示,公司上述经营业绩的波动受到包括行业周期性波动、原材料及销售价格波动、钴酸锂下游消费电子领域需求波动、三元材料市场开拓进展等多种因素的影响。公司面临的各项风险贯穿整个生产经营过程,未来若公司单一风险因素出现极端情况,或多个风险因素同时集中发生,将可能导致公司经营业绩下降,出现不利影响。

部分新股和次新股表现活跃,投资者应如何操作?

值得一提的是,盟固利上市首日(8月9日),股价出现暴涨,截至收盘,股价报98.02元,涨1742.48%,盘中最高大涨近37倍。

8月10日,蓝箭电子在创业板上市,股价盘中一度涨超360%,截至收盘,涨207.41%。

8月18日,威马农机登陆创业板,截至收盘,股价报收75.5元,上涨155.9%,盘中最高达到85.8元/股。

另外,与盟固利同日上市的威力传动和碧兴物联今日也录得涨停。市场对新股和次新股的热情似乎逐渐高涨起来。对此,投资者应该如何操作?

华金证券表示,需要重视新股定价适当性,应当平衡定价充分性和催化弹性,维持二条主线布局;一是前序新股下行周期末段或本轮上行周期前段,部分经过适当休整的近端人气新股,同时具备事件主题或业绩催化;二是近期上市,首日定价尚有空间或首日股价经过快速调整消化,有事件或主题等情绪催化预期的新股标的。

浙商证券指出,新股上市首日表现是刻画市场情绪的重要指标。通常而言,新股首日涨幅越高,意味着市场情绪越好。二季度期间,新股上市首日收盘价低于发行价的比例处在中高位,这意味着市场情绪处在低位。换言之,前期新股上市后的表现一直受到压制。随着夏季行情渐入佳境,受制于前期情绪低位而持续调整的近端次新迎来右侧布局时点,建议积极关注。

责任编辑:刘万里 SF014

加载中...