新浪财经

微博贴吧全在骂!斗鱼主播超级小桀遭粉丝怒喷:奸商都比你有良心

科技每日推送

关注

又一个大主播人设崩塌!

超级小桀,斗鱼游戏区头部主播,凭借着过硬的游戏技术、建免费游戏房之类的宠粉操作和乐于助人的性格,他在圈内外的风评很好,不少主播都会找他帮忙处理电脑、数码之类的问题。

前段时间他表示,自己想开一家装机店,主打的就是帮水友谋福利,对抗奸商,把装机价格打下来:“我们在这个店上是不赚钱的,有其他赚钱的业务......”

为此,不少粉丝满怀期待,甚至有人持币等了几个月。终于在8月16日,他的店铺正式上线,名称叫「小桀和他的朋友们」。

然后粉丝们发现,他确实消灭了奸商,可方向反了:“以前的奸商和杰哥的店一对比,都成良心商家了。”

五万多的电脑

用入门款主板

从超级小桀店铺的配置单来看,这些主机不仅性价比较低,而且搭配很奇怪。

一台售价51299元的主机,按理说各方面都能做到顶级。但超级小桀店铺给了它一块入门级别的B760-G主板,内存只有32GB,硬盘也只有2TB。

主板相当于“电脑”的树根,决定了你能发挥出CPU多少功力。一千多元的B760-G主板,根本无法发挥出i9-13900K这块顶级CPU的性能,更别提超频了。这和当初某旗舰手机,用eMMC闪存的操作异曲同工。

双16G的内存在5万的预算里根本拿不出手,这种级别的主机,内存通常是64G起步。固态硬盘也早已跌成白菜价,还只给了2TB,多下几套学习资料便塞满了。

最让人绷不住的是,仅有的一点好钢,它还给用在了刀把上。这台主机搭配的是ROG的创世神机箱,听到这名字大家也该清楚其定位了吧。

一位显卡吧和图拉丁吧的双黄牌网友,推测了下超级小桀店铺各配置单的大概利润:

6169赚750+

5289赚900+

1w2的赚1100+

2w2的赚1800+

3w5的赚4500+

5w的不带这个液冷也就3w出头的水平,而且液冷完全是摆设,一个没有市场化产品,后期硬件维修,更换都是问题。

除此之外,超级小桀店铺还有很多令人难以理解的操作。

六七千的主机居然还在用金河田电源,该品牌电源口碑一言难尽,贴吧里一堆满载后“炸机”的案例。

一份没有显卡的配置单,用上了后缀带F的无核显CPU,买回去根本没法亮机。

配置表把PCIe都写成了PCLE,990Pro说有HMB技术......

很多完全不懂电脑的小白,秉持着对超级小桀的信任,苦苦等待了几个月时间,下单了他家的主机,结果却遭遇了金钱和信仰的双重打击,怎一个惨字了得。

店铺老板另有他人

超级小桀只是挂名

开店之前,超级小桀曾宣称:“店铺我有绝对话语权,绝不是挂名。”

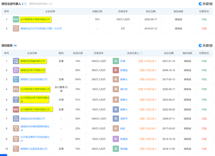
但很快有人扒出,「小桀和他的朋友们」这个店铺,关联公司为长沙冠哲达电子商务有限公司,实际控制人、大股东是一谭姓老板。

目前,谭老板对外投资有十余家企业,其中6家存续,如湖南斯兰达科技有限公司、湖南时运电脑有限公司等,其中大部分经营范围均涉及计算机软硬件销售等。

换句话说,超级小桀大概率只是一个挂名店长,背后一切都由谭老板的公司操盘。

在遭到微博、B站、超话、贴吧等平台用户的吐槽后,8月17日中午超级小桀开播回应了此事,态度相当强硬:“你觉得价格好你就买,你觉得价格不好就不买……我没有拿任何的利润,大的钱小的钱我一分钱通通都没拿”。

但随着此事热度越来越高,今日凌晨,超级小桀又针对装机店一事发布道歉视频。

他表示,准备将所有下单购买的用户,配置升级一个档位。另外,所有不合理硬盘将换成西数2TB的规格,并升级电源,1500元的办公机赠送24英寸显示器......

早知如此,何必当初。钱亏了,口碑也败光了。

如何配一台电脑

城市套路深,我要回农村。要不是这次闹得这么大,很多电脑小白,可能稀里糊涂地买了超级小桀店铺的主机,就这么用下去了。

想要最高的性价比,还得自己买配件来DIY。即便不想费心费力地DIY,了解一些这方面的知识,也能在下次购买主机时,减少被坑的可能。

为此,我整理了一些电脑硬件方面的知识,供小白用户参考。

CPU

CPU,电脑的核心。当你不知道一款CPU性能大概在哪个等级时,搜一下极速空间最新的CPU天梯图就行了。

i3/i5/i7/i9,R3/R5/R7/R9,数字越大,级别越高。但仅代表同一代CPU之间的定位,不同代无法比较,比如13代i5-13600K就远强于11代i9-11900K。

至于各种花里胡哨的后缀,具体含义如下。

英特尔

1.后缀F表示无核显

2.后缀K代表可以超频

3.后缀KS代表超频加强版

AMD

1.后缀G代表有核显

2.后缀X代表加强版

3.后缀XT代表超级加强版

4.后缀X3D代表游戏优化版

如果只是轻度办公家用,12100/13100、5600G都是不错的选择,不需要再购买独立显卡。

想要性能强一些,满足轻度视频剪辑和游戏,可以考虑5600/5600X、7600/7500F、12400/12490、13400/13490F。

再往上则是13700/13790,生产力的性价比选择。游戏发烧友或不差钱用户,13900KS/K、7950X走起。

显卡

显卡的用途主要是游戏、建模、机器学习等,有英伟达和AMD两个牌子可选。

通常来说,英伟达家的显卡在生态方面做得更好,尤其是游戏方面,有光追需求首选英伟达。

每款显卡的性能,同样可以参考极速空间最新的显卡天梯图。

由于矿卡这个坑爹玩意的存在,小白用户想要不踩坑,建议买以下几款不太容易是矿卡的型号。

中端显卡会推荐3060 12GB、4060Ti 16GB,中高端会推荐4070和4070Ti,高端推荐4080和4090。

主板

首先是确定好你的CPU是英特尔的还是AMD的,因为这两家接口是不通用的。

然后需要考虑的是主板供电(供电能满足CPU需求就不会对电脑性能有影响)、拓展性(多内存/显卡插槽、硬盘插槽、IO接口等)和WiFi/蓝牙功能(需要这两个功能主板,需要选择带WiFi后缀的版本)。

越高端的主板包含的功能越多,超频能力也越强,如果没有超频需求,在满足自身拓展性需求的情况下,选择供电够的主板即可,主板不提供性能,花太多钱不划算。

内存&硬盘

内存和硬盘的话,当然是越大越好了。

以目前安卓手机都用上24GB内存的情况来看,电脑内存最好在16GB以上,如果有视频剪辑、游戏之类的需求,那就选32GB以上的。购买时注意选2根组成双通道,同等条件下其效能大于单通道。

另外,内存还有DDR4和DDR5的区别,游戏用户依旧可以选DDR4,性价比较高,而生产力用户可以根据预算选择D4或者D5。

至于硬盘,趁着如今的白菜价,买大容量的固态硬盘(SSD)就完事了,机械硬盘(HDD)这种能不用就不用。

电源&散热&机箱

散热分为风冷和水冷,两者各有优缺点。风冷安全且简单,但性能上限较低,而水冷在外观、性能方面有很大的优势,缺点就是相对比较贵,还有漏液风险。

电源是给整个主机所有硬件供电的设备,功率最好买大一点,不要让它长期处于满负载运行的状态,不然容易“炸机”。

机箱的话,买尺寸合适的就好了,实在不行找个桶装上去也能用~

以上只是配电脑的一些基础知识,具体大家可以在知乎或相关论坛,按月份搜最新电脑配置推荐,如“2023年8月装机电脑配置推荐”即可

也可以在显卡吧、电脑吧发帖询问,有大神会根据价位和需求给出推荐——注意不要去“图拉丁吧”,不然3000预算进去,出来可能就是9万8了。

具体装机的话,B站有详细的配电脑视频,手把手教学;实在不想弄,花钱摇人,或找装机猿之类的装机UP。

当然,有钱又不想那么麻烦的话,直接买各大平台的整机,如联想拯救者、惠普暗影精灵之类的,性价比低一些,但售后有保障。

最后,祝大家都能买到合适的电脑。

加载中...