新浪财经

总投资超90亿元,这家医院突然申请注销!发生了什么?

山西晚报

关注

号称“亚洲最大肿瘤医院分院”的河北中国医学科学院肿瘤医院,近日突然宣布申请注销。

河北青年报8月9日刊载的一则注销公告显示,河北中国医学科学院肿瘤医院拟向组织登记管理机关申请注销登记。请债权人于公告发布之日起45日内向清算组申报债权,逾期不提出的按相关规定处理。

项目总投资超90亿元

据中国新闻网,河北中国医学科学院肿瘤医院的名称前后发生多次变化,一开始叫“中国医学科学院肿瘤医院分院”“中国医学科学院肿瘤医院廊坊院区”,河北省卫健委批复的名字为“中国医学科学院肿瘤医院河北医院”,而在民政系统登记的名字为“河北中国医学科学院肿瘤医院”。

据廊坊市人民政府官网显示,2019年2月2日,中国医学科学院肿瘤医院廊坊院区签约仪式在廊坊举行。廊坊市委书记、市长、中国医学科学院肿瘤医院院长等双方领导干部出席。

2019年5月13日,廊坊经济技术开发区管委会、中国医学科学院肿瘤医院、中国冶金科工股份有限公司在北京签订中国医学科学院肿瘤医院廊坊院区项目三方合作框架协议。

2020年1月22日,廊坊日报报道称,中国医学科学院肿瘤医院分院(廊坊院区)项目正式开工建设。

据河北省人民政府官网显示,中国医学科学院肿瘤医院廊坊院区总投资达94.6亿元,其中肿瘤医院廊坊院区投资87.6亿元

据新华社2020年1月报道,该项目定位为以肿瘤诊疗为特色,集综合医疗、教育、科研、预防功能为一体的国际一流、国内典范的三级甲等肿瘤医院。

项目一期工程中的放疗综合楼、特需体检楼共600张床位,计划2021年投入使用;住院楼、门诊楼、医技楼和质子中心,共有1000张床位,计划2022年竣工投用。项目二期工程的住院楼、舒缓中心、筛查早诊中心、国家癌症中心共1000张床位,计划2024年建成投用。

据河北省卫健委官网显示,2020年11月24日,河北省卫健委批复同意中国医学科学院肿瘤医院、中冶吉信健康产业有限责任公司共同设置中国医学科学院肿瘤医院河北医院

2022年5月3日,据廊坊电视台的报道显示,该项目的名称则为“河北中国医学科学院肿瘤医院”。

据廊坊市政府今年4月25日的一则信息公开显示,项目名称又变为中国医学科学院肿瘤医院分院(廊坊院区)。

目前,公开报道显示,该项目的最新进展为2023年4月21日,河北中国医学科学院肿瘤医院项目3号综合住院楼主体结构封顶

参与企业曾被质疑“假国企”

全国社会组织信用信息公示平台显示,河北中国医学科学院肿瘤医院社会组织类型属于“民办非企业单位”,成立时间为2021年11月5日,注册资金为200万元。

值得注意的是,当时三方签约的主体之一是中国冶金科工股份有限公司,而河北省卫健委正式批复的设置方则变为了中冶吉信健康产业有限责任公司。

据企查查显示,该公司成立于2019年9月23日,注册资本4.79亿元,法定代表人为孙修善。

其控股股东为康和信(大连市)健康医疗管理有限责任公司(简称“康和信”),中冶吉信另一股东为中国中冶的全资子公司中冶国际,但持股仅0.42%,并未控股。企查查显示,中冶国际出资时间为2022年10月12日。

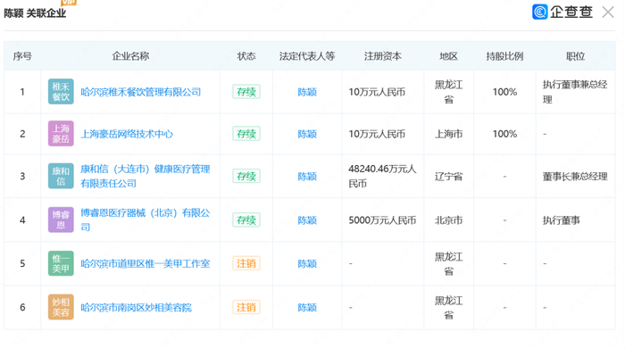
企查查显示,康和信成立于2020年11月9日,法定代表人为陈颖,由吉林省信托有限责任公司100%持股。

今年7月,据中新经纬报道,有举报称,中冶吉信疑似为“假国企”。经过核查,中冶吉信控股股东康和信注册资金来源不明,社保参保人数为0,股权变更亦存在疑点,康和信工商登记信息中的控股股东为吉林省信托有限责任公司,但在其官方资料中查不到康和信的身影。记者曾致电吉林信托询问康和信是否属于其子公司,接线工作人员表示,并没有听说过有康和信这一子公司。

康和信的法定代表人陈颖的关联企业共有6家,其中四家存续为存续状态,注销的两家分别为一家美甲店和一家美容院。陈颖全资控股的上海豪岳网络技术中心为个人独资企业,出资方式为“以个人财产出资”,出资额10万元人民币,于2020年6月19日成立。其2022年度报告显示,该公司参保人数仅1人。

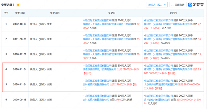
值得注意的是,中冶吉信的股权变更记录显示,2020年11月16日,康和信全资收购了一家自然人独资公司北京康养建筑设计咨询有限公司(简称“北京康养”),随后就在2020年11月24日河北省卫健委批复设置河北医院的这一天,中冶吉信发生了2次控股股东变更:

北京康养出资2.98亿元收购吉林信托持有的中冶吉信的全部股份,随后康和信又出资2.98亿元收购了北京康养持有的中冶吉信的全部股份。

不过,不论是国家企业信用信息公示系统,还是企查查等企业信息查询平台,均注明股东及出资信息“由该企业提供,企业对其报送信息的真实性、合法性负责”。

据中新财经,北京市高默克律师事务所资深律师宗海潮表示,法律上,申请注销登记意味着原开办单位(股东)想要终止该民办非企业单位的法律主体资格,有可能是注销不开了,也可能是换一种开法,具体要看投资人和政府主管部门的决策。这也间接证明了该项目设立、审批、投资、操作过程中可能会存在一些问题,无法简单调整完善,只能采取注销模式。

值得注意的是,7月份,中国医学科学院肿瘤医院官网上曾有“河北医院”字样,但点击无法打开,而目前再查看其官网,“河北医院”字样已经变为“廊坊院区”,但点击仍无法打开。

2023年7月份中国医学科学院肿瘤医院官网还有“河北医院”字样。

加载中...