新浪财经

港通医疗深交所上市:IPO前甩掉包袱,分包公司资质有瑕疵

市场资讯 2023.07.31 15:50

作者 李作森

经过一年半时间的IPO之路,2023年7月25日,四川港通医疗设备集团股份有限公司(下称:港通医疗)终于在深交所创业板成功挂牌。

港通医疗主营业务为医用气体装备及系统、医用洁净装备及系统的研发、设计、制造、集成及运维服务,致力于解决医用气体供应及医疗感染问题,为各类医疗机构提供安全、稳定、高效、智能的生命支持系统和生命支持区域。

IPO前甩掉包袱

截至2022年12月31日,港通医疗共拥有2家分公司、7家全资子公司和1家参股公司。值得注意的是,在报告期内(2020年至2022年),港通医疗对外转让了两家参股公司的股权。

2020年5月,港通医疗将持有的山东三维海容科技有限公司(下称:三维海容)17.96%股权分别转让给原股东赵起超、梁德利、蒋再伟,转让价格根据公司前期增资价格和三维海容经营情况,由股权转让双方友好协商确定。本次转让完成后,港通医疗不再持有三维海容股权。

2021年11月,就在港通医疗IPO申请被深交所受理前夕,港通医疗再次转让了一参股公司的股权。

四川港通医疗工程有限公司(下称:港通工程,为港通医疗全资子公司)将持有的资阳市中小企业融资担保有限责任公司(下称:企业融资担保公司)全部股权转让给四川简阳港通经济技术开发有限公司(下称:经开公司),定价依据为对应股权截至2020年12月31日经审计的账面价值,转让总价款为24.28万元。

据招股书,经开公司为港通医疗实控人陈永控制的其他企业,陈永在此公司出资比例为57.05%,主营业务为“物业管理、股权投资等”。

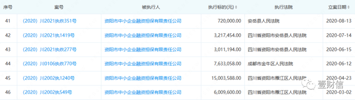
查询企查查发现,企业融资担保公司劣迹斑斑,频繁被纳入失信被执行人、被限制高消费。仅2020年至2021年11月,企业融资担保公司就有21条被强制执行的记录,金额数目也较大。

同时,在2021年8月,企业融资担保公司还被列入失信被执行人名单,涉案金额为79.24万元,另外还有1.17万元受理费;不仅如此,企业融资担保公司在2021年内也多次被限制高消费。

企业融资担保公司频上黑榜,港通医疗的实控人陈永在IPO前夕将持有此公司股权全部转让给自己控制的其他企业,或为及时撇清港通医疗与企业融资担保公司之间的关系。

虽然在IPO前及时从失信参股公司中抽身,但报告期内港通医疗的大客户也不省心。

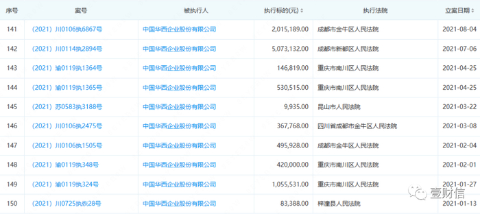
中国华西企业股份有限公司(下称:华西股份)为港通医疗2021年排名第二的大客户,港通医疗向其销售医用气体装备及系统990.09万元、医用洁净装备及系统3,614.85万元,合计销售4,604.94万元,占该年销售收入比例6.76%。

查询企查查发现,华西股份仅在2021年就有多达23条被法院执行的记录。

分包单位资质被问询

据招股书,报告期各期港通医疗的第一大供应商类型皆为施工分包类公司,其中2022年第一大供应商为四川一州劳务有限责任公司(下称:一州劳务),港通医疗向该公司采购施工分包服务,采购额为3,999.64万元。

据企查查,一州劳务成立于2001年9月,经营范围包含:劳务派遣、成建制劳务输出、劳务分包、社保代理服务。其在2022年与港通医疗合作期间,就有生产安全事故被处罚的记录。2022年8月16日,简阳市应急管理局对一州劳务处以罚款31.00万元,违法事实为“生产安全一般事故案”,处罚依据为“依据《中华人民共和国安全生产法》第一百一十四条第一款第(一)项”。

报告期内,港通医疗对外采购主要包括原材料及设备采购、施工分包和少量的外协加工。其中,各期施工分包采购额为5,879.34万元、5,914.81万元、8,508.15万元,分别占各期采购总额的16.43%、13.08%、18.53%。

施工分包是指建筑业企业将其所承包的房屋建筑和市政基础设施工程中的专业工程或者劳务作业发包给其他建筑业企业完成的活动,分为专业工程分包和劳务作业分包。深交所在第二轮问询中也针对施工分包情况对港通医疗提问,并要求“补充说明发行人外购设备的供应商是否均完整持有销售医疗器械资质,外购施工的供应商是否均持有完整施工资质。”

据港通医疗问询回复及公开信息,《壹财信》发现其存在与抽检抽查出问题的分包单位和几家无资质的分包单位进行合作的情形。

四川启创建恒建筑工程有限公司(下称:启创建恒)是港通医疗报告期各期合作的劳务分包单位。据企查查,在2022年10月25日四川省市场监督管理局完成的2022年度“双随机、一公开”抽查工作中,启创建恒各项抽查项目的抽查结果均为“通过登记的住所(经营场所)无法联系”。

《壹财信》还发现,在报告期期初港通医疗的大部分劳务分包单位均为无资质的公司。据第二轮问询回复,2020年港通医疗合作的9家劳务分包公司中有6家不具有资质、2021年合作的9家劳务公司中有5家不具有资质。

根据《房屋建筑和市政基础设施工程施工分包管理办法》《建筑业企业资质标准》的规定,劳务分包供应商应当具备施工劳务资质。报告期内,港通医疗部分劳务分包商未取得相关资质而承接公司业务,存在法律瑕疵。

不仅如此,港通医疗的外购设备供应商也存在相应处罚。

据第二轮问询回复,港通医疗2020年向山东力文医疗器械有限公司(下称:山东力文)采购医疗器械。企查查显示该年山东力文因生产不符合经注册的产品技术要求的手术无影灯(规格型号:CreLite700/500),被济宁市市场监督管理局没收不合格产品并处2万元罚款。

加载中...