齐齐哈尔坍塌事故致11死,涉事施工企业近年承揽当地多项政府工程
中国宁波网
转自:中国宁波网
7月23日,齐齐哈尔市第34中学(下称:34中)体育馆屋顶发生坍塌事故。目前,现场搜救工作结束,此次事故共造成11人死亡。
这是7月24日拍摄的齐齐哈尔市第34中学体育馆楼顶坍塌事故搜救现场。新华社 图
据新华社报道,
经现场初步调查,
与体育馆毗邻的教学综合楼施工过程中,
施工单位违规将珍珠岩堆置体育馆屋顶。
受降雨影响,
珍珠岩浸水增重,
导致屋顶荷载增大引发坍塌。
目前,教学综合楼施工单位责任人
已被公安机关控制。
34中教学综合楼的一处施工牌显示,该工程的建设单位为黑龙江嘉美建设有限公司(下称:嘉美公司)。
公开信息显示,嘉美公司成立于2009年7月6日,注册资本5000万元,法定代表人为程子锋。该公司的经营范围(许可项目)包括住宅室内装饰装修;建设工程施工;文物保护工程施工;建筑物拆除作业(爆破作业除外)。
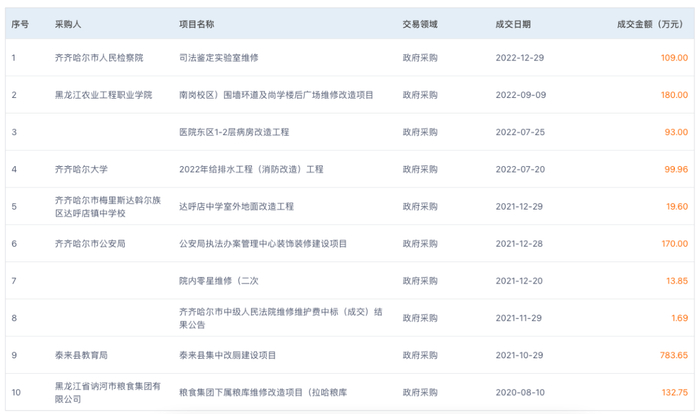
记者注意到,在近3年时间里,嘉美公司中标了包括齐齐哈尔市公安局、齐齐哈尔市检察院、34中在内的17个建设项目。17个项目中,有10个为“政府采购”,7个为“工程建设”。“政府采购”的项目的采购方有齐齐哈尔市公安局、齐齐哈尔市检察院、齐齐哈尔市中级法院、齐齐哈尔大学、泰来县教育局等,中标价格从1.69万元至783.65万元不等;“工程建设”的招标机构包括发生坍塌事故的34中、齐齐哈尔市第一医院、齐齐哈尔市梅里斯达斡尔族区哈力中学校等,中标价格从121万元至3295.96万元不等。在这17个中标项目中,中标价格最高的就是齐齐哈尔市第三十四中校园新建附属综合楼项目(二次)。
齐齐哈尔市第三十四中校园新建附属综合楼项目(二次)的定标结果公示显示,该项目的开标时间为2022年11月11日9时,定标委员会依照定标纪律、规则和流程在介绍项目情况、招标情况、评标情况后按照定标办法进行定标活动,定标全过程在监督单位齐齐哈尔市龙沙区教育局的监督下进行,全程影音记录,由招标人负责保管存档;对3名中标候选人的投标文件相关内容和承诺进行核实并根据评标委员会提出的评标报告和推荐人选,按照实力信誉评审情况,最终确定预中标单位。定标委员会最终确定嘉美公司为预中标单位。
7月24日,记者拨打定标结果公示所留的招标人电话,被挂断。
全国公共资源交易平台信息显示,今年5月31日,黑龙江住建厅向嘉美公司下发“D223214107”资质证书,包括建筑装修装饰工程专业承包贰级、特种工程结构补强专业承包不分等级、建筑工程施工总承包贰级、消防设施工程专业承包贰级、建筑幕墙工程专业承包贰级等,该证书有效期至今年12月31日。
7月24日,记者拨打了天眼查所显示的嘉美公司公布的6个电话号码,仅有一个能打通,但对方表示,他不是嘉美公司的工作人员。
来源:澎湃新闻