铁岭新城实控人变更 新老板与金风科技子公司有合作投资
每日经济新闻
每经记者 胥帅 每经编辑 杨夏
今日,刚刚“摘帽”的铁岭新城(SZ000809,股价4.21元,市值34.72亿元)发布公告称公司控制权即将变更,具有风电背景的与北京和展中达科技有限公司(“和展中达”)折价受让公司25%股份成为新实际控制人。
然而今年一季度,铁岭新城净利润亏损3043.17万,营业总收入598.17万元。如何为上市公司注入带来现金流的资产,这是新实际控制人的挑战。《每日经济新闻》记者注意到,受让方同名者以及受让方股东投资公司可与风电龙头金风科技产生联系。比如和展中达股东投资的天皓新能源有限公司,其第一大股东是北京天润新能投资有限公司,后者是金风科技全资子公司。
股权转让期收监管函
今日(7月12日)晚间,铁岭新城公告称,公司控股股东铁岭财政资产经营有限公司(以下简称铁岭财经)于7月12日与和展中达签署《股份转让协议》,约定和展中达以3.5337元/股的价格受让铁岭财经持有的铁岭新城2.06亿股股份(占公司总股本的25%),合计转让价款为7.29亿元。实际上,双方约定的股权转让价较二级市场折价,公司目前股价为4.21元/股。
本次交易后,铁岭财经将持有铁岭新城9.29%股份,和展中达将持有铁岭新城25%股份。本次权益变动完成后,上市公司控股股东将由铁岭财经变更为和展中达,实际控制人由铁岭市财政局变更为刘名、杨宇。
《每日经济新闻》记者注意到,铁岭新城披露了和展中达的股权关系,第一大股东是北京风光无限风能有限公司,持股比例40%,其次则是天津纳晟有限责任公司,持股比例30%。2023年5月16日,北京风光无限风能有限公司与宁波绿信科技有限责任公司签署不可撤销的《一致行动协议》,约定自协议生效之日起3年内。
图片来源:公告截图
实际上,铁岭新城易主早有预期,早在5月,铁岭新城就披露了控股股东拟协议转让公司部分股份公开征集受让方的进展公告。当时仅收到和展中达一家的申请材料。
不过在股权转让期间,铁岭新城收到监管函。铁岭新城在2023年1月18日披露《2022年度业绩预告公告》显示,预计2022年归属于上市公司股东的净利润为亏损2300万元至2500万元。而在4月29日该司披露的《2022年年度报告》中,2022年经审计的归母净利润为亏损3612万元,业绩预告披露的净利润与年报披露的经审计净利润相比存在较大差异。
铁岭新城表示,上述监管函对公司的正常经营管理活动以及大股东控股权转让事项无影响。
受让方与金风科技子公司合作投资
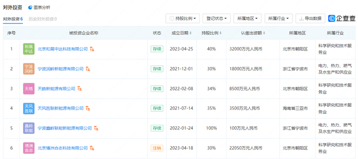
不过从公开资料来看,北京风光无限风能有限公司和天津纳晟有限责任公司的资料甚少。北京风光无限风能有限公司的经营范围是风力发电和太阳能发电,其投资的公司包括天风胜联新能源有限公司、宁波润岭新能源有限公司、宁波鑫岭联能新能源有限公司、天皓新能源有限公司等。不过从被投资公司的成立时间来看,基本上都在两年以内。
北京风光无限风能有限公司对外投资公司。 图片来源:企查查截图
有意思的是,被投资公司的合作方还涉及到A股风电龙头金风科技(SZ002202,股价10.78元,市值455亿元)。企查查显示,和展中达股东投资的天皓新能源有限公司,其第一大股东是北京天润新能投资有限公司,后者是金风科技全资子公司。
天皓新能源有限公司股权结构。 图片来源:企查查截图
《每日经济新闻》记者查询公开资料发现,与此次受让方杨宇也与金风科技投资的其他公司高管同名。比如已注销的内蒙古巴彦淖尔富汇风能电力有限公司,该公司董事长名为杨宇,而北京天润新能投资有限公司持有其51%的股权。已注销的甘南县富汇风能有限公司,董事也名为杨宇,北京天润新能投资有限公司的持股比例同样是51%。
天润新能投资的内蒙古巴彦淖尔富汇风能电力有限公司董事长也名为“杨宇”。 图片来源:企查查截图
尽管有偏风电的背景,但新能源领域与铁岭新城房地产开发主业差距甚远。今年一季度,铁岭新城净利润亏损3043.17万,营业总收入598.17万元。如何为上市公司注入带来现金流的资产,这是新实际控制人的挑战。
封面图片来源:视觉中国-VCG41N831762884