新浪财经

发生了什么?天风证券多起违规爆发,投资者艰难维权!

市场资讯 2023.07.10 13:20

湾区007

天风证券的投资者维权事件,仍在继续发酵。

而此间又继续爆出天风证券多起违规事件。

7月6日,福建证监局披露了3张“罚单”。因存在为客户之间的融资提供中介便利的违规行为,天风证券福建分公司及相关负责人和员工被出具警示函。

这些违规事件多少与公司的经营管理上不规范有关,目前公开资料显示的天风证券高管团队,显示董事长为余磊:

据披露,天风证券福建分公司(原名天风证券股份有限公司福州曙光路证券营业部)原负责人林素文和员工许辛海存在为客户之间的融资提供中介便利的违规行为,反映出公司合规管理不到位,未能严格规范工作人员执业行为。

福建证监局决定对该分公司采取出具警示函的措施,并要求该分公司提交书面整改报告。此外,林素文和许辛海均被采取出具警示函的行政监管措施。

根据天眼查,天风证券股份有限公司福建分公司前三大股东(发起人)为湖北宏泰集团有限公司(流通A股,持股数11.99亿股)、武汉商贸集团有限公司(流通A股,持股数7.61亿股)和宁波信达天赢投资合伙企业(有限合伙)(流通A股,持股数2.07亿股 )。

工商信息显示,福建分公司的前身曙光路营业部成立2017年5月,2021年12月升级为分公司。

2020年4月,福建分公司的负责人由从“林素文”变更为“张弦”;2022年8月,从“张弦”变更为“张帆”;同年12月又从“张帆”变更为“张友忠”。

伟海精英数据显示,林素文女士最早执业于闽发证券,其后曾在东兴证券、天信投资、中信浙江和民生证券任职。而许辛海的任职履历几乎与其上司重合,同样历任闽发证券、东兴证券、天信投资、中信浙江、民生证券和天风证券。并且两位早在2020年从天风证券离职。也就是说,两人的违规行为发生在2017年到2020年期间。

时隔数年,对券商从业人员违规充当“掮客”的监管处罚,虽迟但到。

充当掮客曾有先例。颇为巧合的是,这也不是天风证券首次因违规充当“掮客”被罚。

就在一年前的2022年5月,天风证券曾有一起类似的罚单,并且同样是营业部从业人员。

广东证监局〔2022〕63号行政处罚函披露,当事人李东亮在天风证券东莞鸿福路营业部任职期间,介绍他人进行账户管理,并作为担保人签署相关协议。为此,广东证监局认定其为不适当人选,期限一年。

伟海精英数据显示,当事人自2009年起相继在广发证券东莞长安证券营业部,中金财富证券东莞国贸中心营业部任职;2020年6月执业于天风证券东莞鸿福路营业部,事发后离职注销,未在证券机构执业。

那么,三名券业人士,在此前十余年的职业履历中,未出现此类违规事项,却在加入天风证券不久后被监管查处。这是因为“深藏不露”,还是因为“橘生淮南”呢?

分支机构屡屡犯规不说,天风证券特色鲜明的总部部门,也发生了情况。

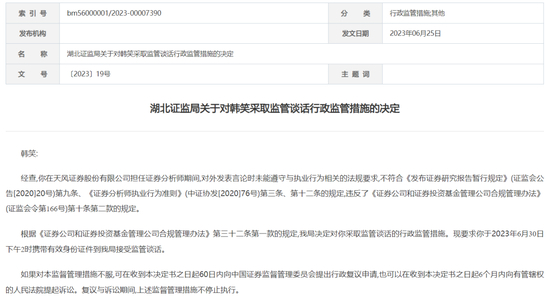
就在一周前的6月30日,湖北证监局约谈了时任天风证券分析师韩笑,原因是其任职期间对外发表言论时未能遵守与执业行为相关的法规要求。

通过公开渠道,未能查到这位可能是“语出惊人”的分析师,究竟发表了什么言论。但一则指向了天风证券的微博信息,称天风证券江苏分公司人去楼空,投资者贴大字报要求还钱。

据工商信息,天风证券江苏分公司成立于2016年10月;2021年10月,营业地址由“南京市建邺区庐山路168号新地中心二期1709室”迁址“南京市建邺区应天大街888号金鹰世界A座20层A1区”。

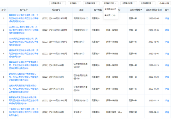
而这家分支机构有多则涉诉信息,涉及委托理财、民间借贷和劳动争议,但未见公开判决。

责任编辑:石秀珍 SF183

加载中...