新浪财经

发病率万分之一!2岁男孩频繁抽搐,患上罕见病

环球网

关注

来源:健康杭州

“太感谢刘主任了,不仅帮孩子的癫痫发作控制住了。我家孩子的性格也开朗了很多,讲话也比以前利索了。感谢医生!”

杭州市儿童医院神经内科主任刘占利的诊室,一位癫痫患儿家长不停地说着感谢。

01

“孩子还有治吗?”2岁男孩频频癫痫发作

孩子皮皮(化名)今年2岁9个月了,从婴儿期开始就出现频繁抽搐。父母带着孩子辗转了省内外多家医院就医,先后使用了不同的药物进行抗癫痫治疗,可效果不理想,皮皮的病情一直不见好转。

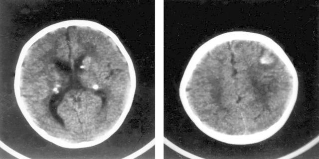
今年1月中旬,皮皮的父母慕名找到了刘占利。在门诊,他们拿出一摞厚厚的病历资料,包括在过去多家医院的头颅CT、核磁共振、视频脑电图报告、心脏肾脏超声、血液检测治疗等检查结果。

刘主任一一详细翻阅,然后全面细致地给孩子进行了查体,皮皮被确诊为发育性癫痫性脑病。

“孩子还有的治吗”“孩子会不会变傻”面对焦急的家长,刘主任耐心解答,为皮皮调整治疗方案,加用新抗癫痫药物。

半个月后,父母带着孩子再次来到门诊,一进门就激动地说:“孩子用药3天,发作就完全控制了!”

等到一个月后的第3次复查,皮皮不仅癫痫发作控制了,说话也比以前利索,性格也开朗了很多。随访至今孩子癫痫仍无发作。

02

为什么从婴儿期

就开始频繁癫痫发作?

追踪病史,原来皮皮存在TSC1基因杂合突变,头颅MRI提示结节性硬化症病变。癫痫发作顽固并且难以控制,正是由TSC1基因突变所致神经罕见病结节性硬化症所引起的。

结节性硬化症为9号或11号染色体突变的罕见病,因其发病率为1/6000-1/10000。该病常常导致儿童难治性癫痫,频繁反复癫痫发作,会导致患儿的认知、智力、运动、语言等神经发育落后。因此,早期诊断及早期治疗尤为重要,可大大改善降低癫痫发作频率,改善患儿的远期预后。

市儿童医院设有罕见病诊疗中心,刘占利担任罕见病诊疗中心主任,神经内科开设了罕见病多学科联合门诊,引入治疗儿童罕见病的专科药物,积极推动儿童罕见病的规范化诊治。

刘占利于2015年开始专注于结节性硬化症的临床研究,治疗该疾病患儿200多名,患者来自浙江、安徽、江西、福建、河南、云南、贵州等省市,积累了丰富的临床经验,目前大多数患者的病情得到了有效控制。

03

关于结节性硬化症

这些要知晓

01

什么是结节性硬化症?

结节性硬化症(Tuberous Sclerosis Complex,TSC)是常染色体显性遗传性疾病,可累及多个器官系统,主要表现为脑、心、肺、肾、眼睛、皮肤等多器官良性肿瘤(错构瘤)。

02

结节性硬化症的原因?

结节性硬化症主要是TSC1基因或/和TSC2基因突变所致,本病有阳性家族史者占20~30%,60~70%无阳性家族史(患者自身TSC1基因或/和TSC2基因突变)。此外,临床上仍有15%~20%患者,检测不到TSC基因突变,这部分患者症状通常较轻。

03

结节性硬化症的临床表现?

结节性硬化症临床表现复杂多样,以癫痫发作、面部皮脂腺瘤、智力障碍最为常见。部分患者完全无症状,在影像学或病理检查时发现。

本病的临床特点为受累部位不同,临床表现各异。

神经系统:癫痫发作、精神发育迟滞、自闭症、皮层下及室管膜下结节等。

皮肤:面部血管纤维瘤、色素脱失斑、鲨鱼皮斑等。

肺脏:肺淋巴管肌瘤病(LAM)。

肾脏:肾囊肿、肾血管平滑肌脂肪瘤、肾细胞癌等。

心脏:心脏横纹肌瘤。

眼睛:视网膜结节。

骨骼:牙齿病变。

由于临床症状会出现在多系统器官,且病情的发生发展有一定阶段性,结节性硬化症患者常分散在多学科就诊,也往往因此容易漏诊和误诊。

04

如何预防结节性硬化症?

作为一种常染色体显性遗传病,它意味着如果夫妇双方中有一方携带了该病的致病基因变异,那么他们的后代将会有50%的发病风险。因此,若该病的患者有怀孕计划,应尽早进行遗传咨询,通过现代技术手段,从源头将遗传病阻断。

供稿丨杭州市儿童医院

加载中...