新浪财经

重磅!2023年中国及31省市两轮电动车行业政策汇总及解读(全)

前瞻网

关注

转自:前瞻产业研究院

行业主要上市公司:爱玛科技(603529);新日股份(603787);久祺股份(300994);雅迪控股(01585)等

本文核心数据:国家两轮电动车相关政策;各省市两轮电动车相关政策

1、政策历程图

2019年以前,我国出台《中国自行车行业“十二五”规划 》、《轻工业发展规划》等政策推动两轮电动车行业发展,扩大两轮电动车市场需求,而随着不少电动自行车产品逐渐变得越来越大、越来越重、越来越快,部分指标超出了原标准的规定,对消费者的生命财产安全造成威胁,因此,需要通过修订现行标准,加强对电动自行车的管理,切实保护人民群众生命财产安全。2019年4月15日,《电动自行车安全技术规范》(GB17761-2018)正式实施,我国两轮电动车产品标准和质量进一步提高,行业规范有序发展。

2、国家层面两轮电动车相关政策汇总及解读

——国家层面两轮电动车行业相关政策汇总

我国是全球电动自行车生产和销售第一大国,经过多年的发展,电动自行车逐渐成为消费者日常短途出行的重要交通工具,目前,全社会保有量将近4亿辆。我国也不断出台两轮电动车行业相关政策对电动车蓄电池、消防安全等问题作出规范,以及指导行业在锂离子蓄电池、智能电动车等关键核心技术领域的发展。

——两轮电动车新旧国标对比及解读

2017年2月10日,国家标准委正式下达了电动自行车行业GB17761-1999国标修订计划;2018年5月17日,GB17761-2018《电动自行车安全技术规范》强制性国家标准由工信部正式发布,并已于2019年4月15日正式实施,成为电动自行车行业新的国家标准。与旧国标相比,新国标对两轮电动车有了更加明确的规定和要求,同时新国标将电动两轮车细分为电动自行车、电动轻便摩托车和电动摩托车三类,并且按照不同的类型进行管理。新国标的实施有利于提高电动两轮车的出厂质量和维护交通安全同时将促进市场分化,淘汰不符合要求的相关企业,进一步提升行业的市场集中度,提高产品的价值。

3、各省市两轮电动车相关政策汇总及解读

——各省市两轮电动车行业相关政策汇总

随着2019年4月15日《新国标》的出台,各省市陆续出来电动车管理新规,主要对两轮电动车生产、销售、注册登记、上路约束、违规处罚等方面进行约束。

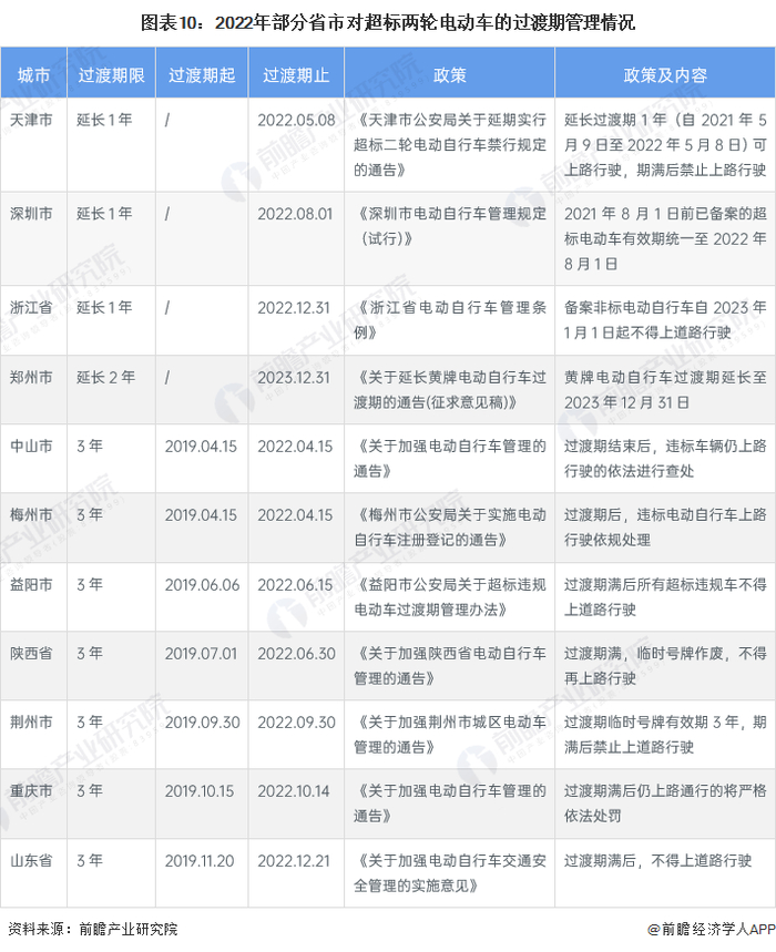
——《新国标》实施后各省市过渡期管理情况

新国标出台后,各省市先后出台了超标车过渡期政策,浙江、河南等电动车保有量大省的部分城市的过渡期截止日期设定为2021年,而山东、江西、广西、安徽、江苏等几个电动车保有量大省的过渡期则陆续在2022-2024年截止。由于各省市超标车过渡期政策不一,预计新国标替换需求将于2022年-2024年达到高点。

2022年是《新国标》政策实施的第三年,多城市过渡期临时牌照失效或即将失效,两轮电动车迎来新一轮换购利好小高峰。2018年1月16日工信部发布《电动自行车安全技术规范》(GB17761-2018)要求自2019年4月15起强制实施,对2019年4月15日前购买不符合《新国标》的两轮电动车实行3-5年过渡期管理。其中,北京、上海、天津,及广东省、浙江省、江苏省、福建省、广西省、江西省等多地明确规定,过渡期内未上牌或过渡期满后登记为临时牌的两轮电动车禁止上路行驶。部分地区结合自身实际情况,采取了延长过渡期或限制骑行区域等方式进行管理,这部分地区的换购需求将会相对减小。

更多本行业研究分析详见前瞻产业研究院《中国电动车行业市场需求预测与投资战略规划分析报告》。

同时前瞻产业研究院还提供产业大数据、产业研究报告、产业规划、园区规划、产业招商、产业图谱、智慧招商系统、IPO募投可研、IPO业务与技术撰写、IPO工作底稿咨询等解决方案。

更多深度行业分析尽在【前瞻经济学人APP】,还可以与500+经济学家/资深行业研究员交流互动。

加载中...