新浪科技

大众汽车撤资,合营企业已出售,出门问问AIGC成色究竟如何?

澎湃新闻

关注

如何去定义由前谷歌科学家李志飞创办的企业出门问问(Mobvoi Inc. )?一家制造智能手表的硬件公司?还是一家从事语音交互的AI公司?答案都不是。

5月30日,在出门问问在港交所递交的招股书中,“AIGC”成为出门问问叙事的核心。

根据招股书信息,出门问问是一家领先的以生成式AI与语音交互技术为核心业务的AI公司。灼识咨询报告表示,出门问问是亚洲为数不多的具有建立通用大模型能力的AI公司之一。按2022年AIGC解决方案收入计,出门问问是中国最早一批起步、营收最高的专注于AIGC技术的AI公司。

出门问问成立于2012年,智能手表、语音交互、AIGC正是李志飞长时间创业以来,不同阶段寻求的业务重点。智能手表业务发光时,出门问问C轮获得了谷歌投资;后因语音交互技术,吸引了大众汽车[包括Volkswagen Finance Luxemburg S.A. 、大众汽车(中国)投资有限公司,统称为“大众汽车”]投资1.8亿美元,成为出门问问D轮融资的独家投资方,并联手成立了一家合资公司。

然而,出门问问招股书显示,作为“现金流”重要来源的智能手表业务在2022年出现下滑,将出门问问估值带至新高的车载语音业务被分家,最重要的资方大众汽车消失在D轮投资者名单中。

原来,一年前,出门问问已经回购大众汽车(主体为Volkswagen Finance Luxemburg S.A. )投资份额,同时,出门问问也退出了双方合资公司。

如今,出门问问官方介绍中,仍然写着“大众汽车集团等达成投资与战略合作”。双方的合作究竟发生了怎样的变化?

出门问问对澎湃新闻诸多提问称,“现在我们已经进入了上市申请的程序,按照合规要求,目前不方便接受访问,内容方面可以参阅港交所披露的招股书文件。”

大众汽车则对澎湃新闻的采访给出“不予置评”的回复。

已回购大众汽车D轮投资份额

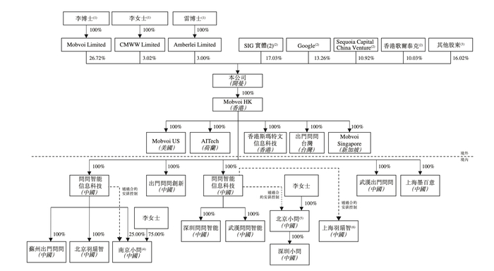
从2013年3月至2019年9月,出门问问进行了7轮融资。目前,单一最大股东集团,即李志飞、李媛媛及雷博士以及彼等各自的全资投资控股公司(即MobvoiLimited、CMWWLimited及AmberleiLimited)为一组一致行动人及实体,合计持有32.74%权益。

此外,SIG海纳亚洲是出门问问的最大外部股东,通过SIG实体持股17.03%;Google通过Google Ireland Holdings Unlimited Company持股13.26%、红杉通过Sequoia Capital CV IV Holdco, Ltd持股10.92%、歌尔声学通过香港歌尔泰克有限公司持股10.03%、真格基金通过Zhen Partners Fund I, L.P持股3.07%。港股上市公司圆美光电(08311.HK)则通过Skyteam Resources Limited持股1.79%。

然而,澎湃新闻注意到,出门问问D轮融资的独家投资方大众汽车却消失在股东名单中。

出门问问与大众汽车集团曾有过一段“蜜月期”。据人民网2017年4月报道,大众汽车[主体为大众汽车(中国)投资有限公司]与出门问问宣布达成战略合作协议。大众汽车将出资1.8亿美元(约合12.4亿元),与出门问问共同成立一家合资企业[大众问问(北京)信息科技有限公司,简称“大众问问”]。同时,大众汽车也成为出门问问的D轮独家投资者。

然而,4年后,大众汽车却撤资了?

招股书信息显示,根据日期为2021年10月29日的框架协议,出门问问于2021年12月20日与大众汽车(Volkswagen Finance Luxemburg S.A.)订立股份购回协议,出门问问以对价1700万美元向大众汽车购回6967万股普通股、2.89亿股D-1轮优先股及3094万股D-2轮优先股。 

1.8亿美元投资额为何能够以对价1700万美元回购?

澎湃新闻同时注意到的另一则信息是,2022年9月,出门问问将合营企业Mobvoi JV所持50%的股权以1500万美元的价格,全部出售给汽车附属公司A。

出门问问表示,Mobvoi JV为公司参与的唯一一家合营企业,注册于2017年4月,注册资本为8000万美元,且出门问问与汽车附属公司A各持股50%。

澎湃新闻记者发现,Mobvoi JV上述注册时间、注册资本、持股方与持股比例等信息与大众问问天眼查信息一致,汽车附属公司A通过双方共同专利查询后能与大众汽车(中国)投资有限公司画上等号。

这或许意味着,出门问问与大众汽车进行了股权置换。即出门问问将持有的大众问问股权转让给大众汽车,大众问问则从双方合营企业转变为大众汽车全资子公司。而大众汽车退出了原本对出门问问的持股,出门问问完成股份回购。

车载语音市场拓展如何?

大众汽车曾是出门问问非常重要的投资方。

2017年3月30日,出门问问从大众汽车获得了1.8亿美元的融资。该融资规模不仅是出门问问前五轮融资总额7578万美元的两倍以上,使得出门问问的投后估值达到了7.44亿美元,更重要的是,大众汽车帮助出门问问成功拓展了车载语音交互市场。

根据出门问问官方公众号2021年7月1日的文章,在2017年与大众汽车集团的宣布合作之后,出门问问在两年内研发完成一整套离在线结合的高性能车载语音交互系统。截至2021年7月,出门问问主导研发的前装车载语音交互系统平台已用于奥迪A4L、帕萨特、新迈腾等多款主力畅销车型,并预计2023年前装量将达到1500万辆。

出门问问在文章中展望车载语音市场时表示,“至2023年底,大众汽车集团将在中国总共推出8款ID.车型,出门问问也致力于持续点亮整个ID家族及大众其他崭新车型的高光时刻。”

然而,出门问问在文章中期待的“高光时刻”并未到来。一年后,曾经“密切合作”的双方进行了“分家”。

出门问问持股1.79%的股东Skyteam Resources Limited,为上市公司圆美光电(08311.HK)附属公司。圆美光电于2022年9月发布的公告称,获悉出门问问与大众汽车(主体为Volkswagen AG)签订了协议。该份协议涉及三个方面:一是,出门问问从大众汽车手中回购股权;二是,出门问问将大众问问股权出售给大众汽车;三是,双方签订了知识产权协议。

其中,知识产权协议内容是,出门问问将大众汽车部分汽车项目中与汽车语音对话系统相关的多项知识产权的一半转让给大众汽车的一家联属公司,并由出门问问相关附属公司向大众汽车的联属公司就部分知识产权提供技术支援及培训。

圆美光电在公告中表示,出门问问与大众汽车解除深度绑定之后,此举还将有利于出门问问拓展其他汽车企业的发展机会,同时,出门问问将继续成为大众汽车及其联属公司的长期技术供应商。

而在此之前,大众问问已经是车载语音市场排名前五的厂商。根据盖世汽车研究院报告,2022年1-8月国内车载语音市场,科大讯飞、Cerence分列市场前二,合计占有率超过70%。而大众问问排名第四,市场占有率4.5%。不过,目前,大众问问已经是大众汽车全资子公司。

在“失去”大众问问之后,出门问问在汽车市场拓展情况如何?

出门问问在招股书中披露到,截至目前,已与一家中国领先的汽车公司签订一份协议,以提供源编码服务,并与多家全球和中国领先的汽车公司达成了全面的技术合作协议。截至2022年12月31日, 出门问问在汽车垂直领域的AI企业解决方案已被七家汽车制造商采用,并嵌入到不同车型中;2020年以来汽车领域前装语音助手的汽车超过200万辆。200万辆的规模,与出门问问在2021年提出的1500万辆的期望数据相差甚远。

一个可供参考的数据是,国内车载语音市场占有率第一的科大讯飞在2022年年报中曾披露,公司智能汽车业务仅在2022年新增前装出货量超过710万套,累计出货量超过4610万套。

此外,澎湃新闻注意到,大众汽车在车载语音供应商的选择上似乎较为多元。大众汽车官网在售的ID.6 CROZZ为大众问问智能语义交互,而在ID. 7 VIZZION则是联手科大讯飞推出了智能AI助手。

AIGC公司的成色几何?

不得不说,大众汽车与出门问问签订的知识产权协议为出门问问2022年带来了巨额收益。

根据招股书披露,截至2021年及2022年12月31日止年度,该协议分别产生收入320万元及2.13亿元,占出门问问各年度总收入的0.8%及42.6%。 

出门问问主要分为AI软件解决方案以及AIoT解决方案两大业务板块。2020年、2021年,AIoT解决方案一直为出门问问主要收入来源,营收贡献比均超过80%,AI软件解决方案营收贡献不足20%。由于大众汽车产生了2.13亿元的知识产权相关收入,归纳于AI软件解决方案业务板块,导致该板块业务收入近3.03亿元,在2022年同比暴增408.9%。AI软件解决方案也超过AIoT解决方案,成为出门问问第一大收入来源。

在未来几年,大众汽车是否能够为出门问问带来同等规模的收入?出门问问并没有披露相关细节。

毕马威会计师事务所在财报中表示,出门问问与大众汽车的合作协议的对价被分配至各个不同且独立的可交付或履约义务中,有关可交付或履约义务根据其公允价值从协议中确认。出门问问在履行履约义务时确认收入。

“由于贵集团(出门问问)所有销售合同的原始预期期限为一年或更短,因此贵集团并未披露剩余履约义务。 ”毕马威会计师事务所在招股书中进一步表示。

如果刨除大众汽车知识产权协议带来的巨量影响,2022年,出门问问主要收入来源将依旧为AIoT解决方案。

AIoT解决方案包括各种AIoT智能设备,例如AI智能手表TicWatch系列及AI智能跑步机Mobvoi Home Treadmill Incline等。其中,AI智能手表TicWatch系列为出门问问拳头级产品,也是出门问问最初切入消费级市场的产品。5月25日,出门问问发布新一代旗舰新品TicWatch Pro 5,已经是该系列第五代产品。

值得注意的是,AIoT解决方案在2022年收入及毛利率出现了下滑。2022年,AIoT解决方案收入为1.97亿元,同比下滑41.69%,甚至不及2020年的2.20亿元;毛利率也从2021年的33.1%下降至2022年的26.4%。对于AIoT解决方案收入锐减,出门问问在财报中解释称,主要是由于TicWatch新旗舰产品的推出延迟,而旧产品进入产品生命周期的后期阶段。

此外,出门问问多项数据显示,AIoT解决方案面临挑战。一方面,三年来,出门问问AIoT设备分销商数量大幅下降,2020年末,出门问问拥有141家分销商,2021年末降至101家分销商,2022年更是进一步缩减至58家分销商。由于新旗舰产品延迟推出及现有产品的销售低于预期,出门问问的存货周转天数由2021年的159.2天增加至2022年的242.5天。 

招股书数据显示,截至5月30日,TicWatch系列已销往100多个国家及地区,自2020年以来,累计销售100多万件。

不过,根据市场研究机构Counterpoint数据显示,中国智能手表出货量前五分别为华为、苹果、步步高、小米、360,AMAZFIT、荣耀、OPPO并列第六,TicWatch系列未在其中。

同样根据市场研究机构Counterpoint最近发布的全球智能手表型号追踪报告显示,2022全球智能手表市场营收前八分别为苹果、三星、华为、印度品牌Noise、印度品牌Fire Boltt、Garmin、AMAZFIT、印度品牌boAt,TicWatch系列同样并未在其中。

从2019年9月进行最后一轮融资后,出门问问直至递交招股书的3年半时间内,再也没有获得资本青睐。出门问问账上的货币资金已经从2020年的2.15亿元,降至2022年末的4025万元。如今招股书中,出门问问叙事的主线既不是主力产品智能手表,也不是曾经的招股车载语音,而是专注于AIGC技术的AI公司。

在招股书中,出门问问援引灼识咨询报告表示,出门问问是亚洲为数不多的具有建立通用大模型能力的AI公司之一。按2022年AIGC解决方案收入计,出门问问是中国最早一批起步、营收最高的专注于AIGC技术的AI公司。同时,出门问问也致力于打造国际领先的通用大模型,通过AI技术、产品及商业化三位一体发展,成为全球AI CoPilot的引领者。

不过,2022年,出门问问来自AIGC解决方案的收入仅有3986万元,远不及以智能手表为主的AIoT解决方案的1.97亿元。从主营业务收入的角度来看,出门问问硬件厂商的底色或许比AIGC更足。

加载中...