新浪财经

这家公司严正声明:已完全退出笑果文化!不持任何股份,无任何业务关联

每日经济新闻

关注

5月19日,华人文化集团公司通过官博发布声明:近日,公司关注到,网上有一些自媒体作者在不同渠道和平台上发布文章图片和视频,引用各种不实信息,牵强附会,恶意关联,无端揣测,渲染丑化,对我司声誉构成严重的侵害。在此,我公司做出以下严正声明:

1、我公司已于2021年6月完全退出笑果文化,现已不持有笑果文化的任何股份也无任何业务关联。

2、我公司与网上传言的所谓Raine基金没有任何权属关系,与网上传言的有关美方人士也没有任何业务往来。

同时,公司已向主管部门报案,向有关网络平台举报,并展开调查取证工作,启动相关法律程序,坚决追究相关造谣者的法律责任。

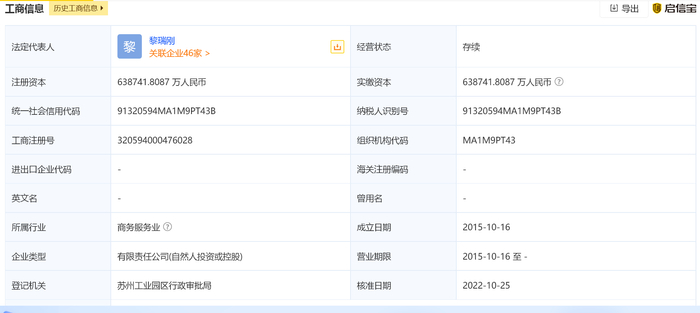
据启信宝app,华人文化有限责任公司成立于2015年10月16日,注册地位于苏州工业园区苏虹东路183号东沙湖股权投资中心19栋215室,法定代表人为黎瑞刚,经营范围包括文艺创作、文化艺术交流策划;设计、制作、代理、发布国内外各类广告;图文设计制作;知识产权代理;货物运输代理;会务服务;展览展示服务;投资咨询、投资管理、企业管理;网络科技、信息科技、软件科技领域内的技术开发、技术转让、技术咨询;电子产品的研发、销售。

此前,5月17日,北京市文旅局和北京警方对上海笑果文化传媒有限公司(下称“笑果”)旗下子公司及涉事艺人做出处罚和立案后,行业协会和上海文旅局也出面表态。

大麦平台显示,笑果的全国表演均已取消。

目前,在笑果文化小程序上已无法搜索到任何城市、任何日期的演出门票。

公开资料显示,笑果文化经历了8次融资,估值超过40亿元,笑果文化的灵魂人物——脱口秀演员李瑞超(艺名:李诞)去年已卸任董事。

另据上游新闻,重庆执业投资顾问王先生分析认为:“按国家上市管理办法相关规定,笑果文化至少3年内不能在国内IPO(首次发行股票)上市。”

据启信宝APP显示,笑果文化成立于2014年5月,法定代表人为叶烽,注册资本约208万人民币,法人叶烽持股31.57%系大股东,广西腾讯创业投资有限公司持股12.55%位列第3,而笑果文化标志性人物李诞(本名:李瑞超)以4.58%的持股比例与张瑛婕并列第7大股东。  

根据公开披露信息,笑果文化在2016年至2021年共完成8轮融资。

最早一笔发生在2016年6月,来自游族网络的天使轮投资。根据游族网络2016年年报,其对笑果文化投资2125万元,持股比例为15%,彼时估值约为1.4亿元。仅三个月后,王思聪的普思资本再次投资数千万。

2017年4月,笑果文化获得1.2亿元A轮融资,黎瑞刚领导的华人文化领投,南山资本和游族网络、普思资本等跟投。此后几年,笑果文化完成多轮融资,最新一笔投资款是在2021年3月,腾讯关联公司广西腾讯创业投资有限公司入股,笑果估值随即水涨船高超过40亿元。

加载中...