新浪财经

票据持续逾期 雅居乐旗下30家公司被公示

中国质量新闻网

关注

中国质量新闻网讯(顾爱龙) 近日,上海票据交易所票据信息披露平台发布《截至2023年4月30日持续逾期名单》。名单显示:2023年1月1日至4月30日,发生3次以上承兑人逾期的承兑人数量为1629家。南京滨江雅居乐、辽宁雅居乐、句容雅居乐房地产开发有限公司等雅居乐旗下30家公司在列。

此次公示的持续逾期名单中,广州番禺雅居乐房地产开发有限公司所控股的公司共计约21家,详情如下:

海南雅居乐房地产开发有限公司

常州雅居乐房地产开发有限公司

扬州雅居乐房地产开发有限公司

腾冲雅居乐旅游置业有限公司

西双版纳雅居乐旅游置业有限公司

镇江雅居乐房地产开发有限公司

南京滨江雅居乐房地产开发有限公司

天津雅逸房地产开发有限公司

海南雅恒房地产发展有限公司

湛江雅高房地产开发有限公司

天津雅润房地产开发有限公司

济南雅和房地产开发有限公司

台山市雅晟房地产开发有限公司

河南雅晟置业有限公司

镇江雅润房地产开发有限公司

广州雅宏房地产开发有限公司

南京雅鸿房地产开发有限公司

常州雅劲房地产开发有限公司

湖州雅致房地产开发有限公司

中山市雅建房地产发展有限公司

南京雅宁房地产开发有限公司

四川雅居乐房地产开发公司所控股的企业为7家,详情如下:

商丘雅居乐置业有限公司

巩义雅居乐置业有限公司

汉中龙腾雅居房地产开发有限公司

西安常雅房地产开发有限公司

重庆雅恒房地产开发有限公司

四川雅润房地产开发有限公司

许昌雅瀚置业有限公司

在持续逾期名单中的句容雅居乐房地产开发有限公司大股东为南京雅居乐房地产开发有限公司。

值得注意的是,作为控股旗下众多企业:广州番禺雅居乐房地产开发有限公司、四川雅居乐房地产开发有限公司同样因商票逾期被上海票据交易所于2023年5月1日被公示,广州番禺雅居乐房地产开发有限公司逾期余额显示为:2,022,569.03元;四川雅居乐房地产开发有限公司逾期余额显示为:836,317.48元。

公开资料显示,作为大股东的广州番禺雅居乐房地产开发有限公司不仅近日被广州市越秀区人民法院列为被执行人(案号:(2023)粤0104执10175号),旗下控股的众多企业也频被列为被执行人。

常州雅居乐房地产开发有限公司因与日立电梯(中国)有限公司江苏分公司相关票据付款请求权纠纷,被江苏省常州市新北区人民法院,常州市新北区人民法院于2023年5月6日列入被执行人。(案号:(2023)苏0411执2868号,(2023)苏0411执2819号)

扬州雅居乐房地产开发有限公司因与南京速达建筑机械工程有限公司相关票据追索权纠纷,被扬州经济技术开发区人民法院于2023年4月20日列入被执行人。(案号:(2023)苏1091执614号)

包括海南雅恒房地产发展有限公司、济南雅和房地产开发有限公司等公司均在今年4月份期间,先后被多地法院列为被执行人。

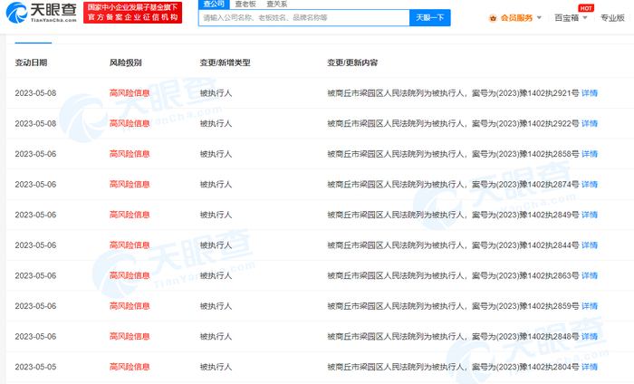
此外,四川雅居乐房地产开发公司旗下的商丘雅居乐置业有限公司仅在5月期间,列入被执行人信息高达数十条。其涉及到的案件多为相关商品房销售合同纠纷。

除了列入被执行人之外,四川雅润房地产开发有限公司事涉借款合同纠纷案件、西安常雅房地产开发有限公司事涉借款合同纠纷等多家四川雅居乐房地产开发公司旗下公司均在近期发生法律诉讼案件。

针对雅居乐旗下多家公司票据持续逾期且多家公司均存在逾期发生额的情况,本网工作人员电话咨询了上海票据交易所,对方称只要在披露中能显示逾期发生额,就说明此项票据持续逾期问题未处理。

加载中...