新浪财经

曲婉婷的法拍豪宅被接盘了

新浪房产

关注

2012年,一首《我的歌声里》在《中国好声音》舞台爆火,创作者曲婉婷也因此声名远扬,并借此拿下了第20届中歌榜年度金曲、最佳作曲等多项大奖,以黑马之姿爆火乐坛。

这样的日子没持续多久,因其母张明杰“落马”,曲婉婷在数年前避走加拿大,至今鲜少出现在公众视野。

而日前,一则法拍事项让大众将目光又重新聚焦在这位颇受争议的歌手身上。

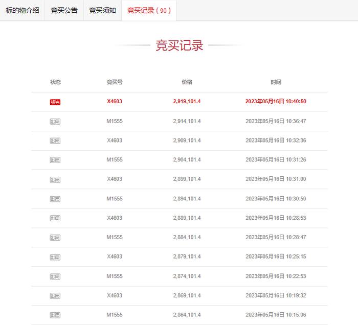
5月16日早间,位于黑龙江省哈尔滨市道里区富力江湾新城的两套住宅竞拍结束,被摆上拍卖席的主角分别为江湾新城一期2号楼1单元的1801室及1802室,二者的起拍价均较评估价打了近7折,起拍单价约14031元/平方米,加价幅度为5000元。

尽管在同楼栋同楼层,但两个标的的命运走向却截然不同,1801室最终因无人报名流拍;而1802室则在拍卖结束前的一个小时内引来3人报名,竞买人“X4603”在9点54分出手报价,另外两名竞拍人迅速跟上,上演三人争霸赛”,40多个来回后,“O1114”退出,剩余两人你来我往,互不相让,最终90轮竞价后“X4603”以291.91万元成功将其收入囊中,成为最大赢家,较起拍价溢价约20.4%。

根据竞买公告介绍,1801室面积148.76平方米,评估价298.17万元,起拍价208.72万元,保证金约41.74万元;1802室面积更大一些,为172.77平方米,起拍价242.41万元,评估价346.3万元,保证金48.48万元。

尽管难以与法拍平台上那些动辄价值过亿的别墅相提并论,但在哈尔滨,江湾新城是高端住宅的代表,该项目是富力进入哈尔滨的扛鼎之作,占据了哈尔滨市核心区松花江最后一段黄金岸线,紧靠哈尔滨太阳岛风景区、冰雪大世界。

公开信息显示,江湾新城总建筑面积约94万平方米,由住宅及公建两部分组成,住宅部分为江景豪宅外滩壹号,整体由北向沿江超高层11栋观江豪宅组成,并由香港豪宅御用设计师梁志天打造。

某中介平台上,江湾新城在4月的二手房参考价为21928元/平方米,2020年至今共成交了8套,其中单价最低为18708元/平方米,最高为27143元/平方米。其最近的一次成交是在2022年10月,一套面积190平方米、4室2厅的住宅最终以374万元的价格卖出,成交周期为685天,单价19685元/平方米。

目前,该平台仍有95套房源在售,记者注意到,这之中有房源的挂牌单价已经达到31701元/平方米。以此来看,此次上架法拍平台的两套住宅性价比高出不少,但从详情介绍来看,标的仍有一些瑕疵。

例如,这两套住宅虽为曲婉婷2014年购买,但截至目前仍未办理产权证,可能存在拖欠取暖费、物业费、水电煤气等相关费用;且标的物过户登记手续由买受人自行办理,所涉及的一切契税费用及其他可能存在的费用均由买受人承担。

有相关报道指出,该住宅的物业费为每年1.5万元左右,以此计算,2014年至今每套房产已合计拖欠物业费13.5万元。

未能办理产权证的原因是,曲婉婷母亲张明杰因涉嫌贪污、受贿与滥用职权罪在2014年9月22日被刑事拘留,当月30日被逮捕

据悉,张明杰于1956年4月17日出生于黑龙江省齐齐哈尔市,为原哈尔滨市城镇化建设领导小组办公室主任、哈尔滨市道里区人民政府副区长,彼时主管哈尔滨市原种繁殖场(下称“原种场”)国有企业改制工作,并任道里区改制领导小组组长。

2009年7月,哈尔滨产权交易中心发布有关原种场整体产权转让公告,底价6160万元,且转让不包含国有土地使用权。而后,张明杰在与东江公司法定代表人魏奇等人共谋后,在相关讨论稿中加入了有关国有土地使用权转让的内容,并以多种理由蒙蔽原种场及其上级主管单位有关人员在相关文件中签字。

2009年8月,在主管原种场职工安置工作过程中,张明杰未按规定由转让方负责发放职工安置款,而是同意将6160万元违规转入由东江公司实际控制的以原种场名义开设的银行账户中,并由受让方东江公司负责发放职工安置款,致使其中1146.72万元至今未归还。

2010年至2011年间,张明杰利用职务之便再与魏奇等人共谋,在哈尔滨市哈齐铁路客运专线工程建设领导小组办公室、哈尔滨市土地储备中心市城市建设投资集团有限公司分中心征收土地过程中,虚构原种场土地使用权已转移的事实,骗取征地款共3.5亿元左右,并在2012年签订协议,约定利益均分;2011年春,张明杰利用其主管农村征地工作职务之便,收受下属好处费10万元。

2021年11月,哈尔滨中级人民法院一审宣判,对张明杰以受贿罪判处无期徒刑,剥夺政治权利终身,并处没收个人全部财产;以滥用职权罪判处有期徒刑十年,决定执行无期徒刑,剥夺政治权利终身,并处没收个人全部财产;2022年3月,其受贿、滥用职权案二审裁定驳回上诉,维持原判。

加载中...