新浪财经

中际旭创:5月9日公司高管王伟修、王晓东减持公司股份合计248万股

证券之星

关注

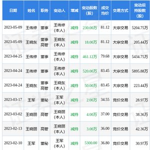
证券之星讯,根据5月10日市场公开信息、上市公司公告及交易所披露数据整理,中际旭创(300308)最新董监高及相关人员股份变动情况:2023年5月9日公司董事王伟修、董事,高管王晓东共减持公司股份248.0万股,占公司总股本为0.3097%。变动期间公司股价上涨5.81%,5月9日当日收盘报81.94元。

中际旭创近半年内的董监高及核心技术人员增减持详情如下:

中际旭创的高管列表及最新持股情况如下:

融资融券数据显示该股近5日融资净流入1.18亿,融资余额增加;融券净流出28.27万,融券余额减少。

该股最近90天内共有27家机构给出评级,买入评级23家,增持评级4家;过去90天内机构目标均价为89.91。根据近五年财报数据,证券之星估值分析工具显示,中际旭创(300308)行业内竞争力的护城河良好,盈利能力一般,营收成长性良好。财务相对健康,须关注的财务指标包括:应收账款/利润率。该股好公司指标3.5星,好价格指标2星,综合指标2.5星。(指标仅供参考,指标范围:0 ~ 5星,最高5星)

以上内容由证券之星根据公开信息整理,与本站立场无关。证券之星力求但不保证该信息(包括但不限于文字、视频、音频、数据及图表)全部或者部分内容的的准确性、完整性、有效性、及时性等,如存在问题请联系我们。本文为数据整理,不对您构成任何投资建议,投资有风险,请谨慎决策。

加载中...