新浪财经

“丫丫”终于回国! 大熊猫经济爆发:谁在抢注动物IP商标?

市场资讯 2023.04.28 10:06

文 | 新浪财经 刘丽丽

大熊猫“丫丫”终于安全到家。

经过近16个小时的飞行,运送旅美大熊猫“丫丫”的货运专机已经于北京时间4月27日16点23分在上海浦东机场降落,比预计时间提前到达。

当地时间4月26日,“丫丫”离开美国田纳西州孟菲斯动物园,前往机场。航旅纵横数据显示,“丫丫”由专机运送回国,北京时间27日16:43左右落地上海浦东国际机场。

“丫丫”还没踏上中国土地,国内网友就已群声鼎沸。“丫丫启程回国”话题已登上热搜前十名,阅读量突破5亿。

面对动物界的顶流,很多人也在抢抓熊猫带来的商业机会。

天眼查显示,“大熊猫丫丫”“丫丫熊猫”“熊猫丫丫”已被多方申请注册商标,当前商标状态多为已注册。申请人包括玩具、生物科技、文化传播等公司以及多名自然人,分类涉及广告销售、方便食品等。还有人在各个领域打出了“熊猫牌”。

“熊猫IP”带火了谁?

除了在海外的熊猫“丫丫”等让网友牵肠挂肚,国内的顶流熊猫莫过于成都大熊猫繁育基地的“花花”和北京动物园的西直门三太子“萌兰”。它们凭借一己之力,让基地和动物园客流量大增,一票难求。

(北京动物园大熊猫“萌兰”)

很多到成都大熊猫基地的游客都是奔着“花花”来的。面对激增的游客,成都大熊猫繁育研究基地近期已经发布公告称拟试行全网实名线上预约、分时限流入园措施,每日限量6万张,上下午各3万张。

很多游客来这里的主要目标就是来看熊猫界的顶流“花花”。花花,大名叫和花。它因为脖子较短,坐下来的时候像个三角饭团的形象而走红。除了外表可爱,花花也因不善爬树、性格温顺常常被抢食等特点,受到网友宠爱。现在想去看“花花”,需要排很长时间的队。

动物明星还带动了周边文创产品的热销。在成都大熊猫繁育研究基地,熊猫头饰、熊猫小包配饰等绝对是游客必备的时尚单品。成都也在构建熊猫IP全产业链体系。在成都的各种旅游景区、文创商店里,各式各样的熊猫周边产品也是琳琅满目,从熊猫发箍、公仔到书包、盲盒、装饰戒指应有尽有,还有拼图、盲盒等。还有商家把熊猫的形象运用到茶饮、糕点等食品中。

出行平台的数据显示,今年一季度,与熊猫相关的酒店预订量同比增长3.2倍,其中位于大熊猫基地周边的酒店与熊猫主题酒店各占五成。

还有报道称,在山东菏泽有一个团队生产1.5月龄、3月龄、5月龄的高仿真大熊猫玩偶,一只玩偶可以卖到上千元,并且供不应求。

团队带头人胡玉路表示,产品畅销原因是因为和普通玩偶相比,这种高仿真玩偶的毛发质感、外形重量感以及填充物的手感,都更加接近真实熊猫的体验。“今年第一季度累计销量是5000多只,销售额是600多万元,比去年同期增长了5倍左右。”

(熊猫界顶流“花花”)

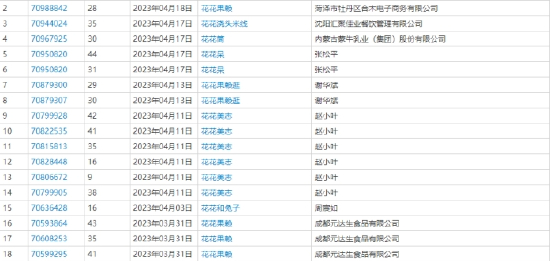
谁在抢注动物IP商标?

从中国商标网可以查询到目前有关熊猫“丫丫”的商标已经为数不少。尤其是一部分商标是近两个月申请的,明显是借网友关注“丫丫”的热度而来。“萌兰”的商标也是类似的情况。

涉及“花花”的商标申请数量也很多,尤其是“花花果赖”这个梗,也被申请成了商标。“花花”的一个外号叫“果赖”。因为管理员谭爷爷对它很照顾,喜欢用成都话叫他:果赖(过来)。网友们也叫它“果赖”,觉得叫“花花”可能它听不懂。

这些申请有的处于等待实质审查阶段,有的还正等待受理,申请企业所在行业五花八门,有饮品、电商、印刷等,还有以个人名义申请的,不排除以后用于商标交易的可能。

专业人士认为,在注意力经济大行其道的当下,但凡能吸睛之词都入了商标抢注者的法眼,主要还是因为有利可图,违法违规成本很低。因为我国采用的是在先申请原则,申请商标注册成本低廉,手续简便。一旦将热词注册成功,就可坐等买家上门。现有机制下,只靠注册部门发现和打击恶意抢注,还有局限性,对恶意抢注者也缺乏明确规制。

但上述人士也提示,抢注商标并非一本万利,如不能及时转让,就会闲置。目前商标法上已有“撤三”机制,即如果被抢注商标在注册3年后没有使用的话,任何公司及个人都可以向商标局提出撤销该商标的申请。如果商标“撤三”成功,抢注人则自动失去该商标。

加载中...