新浪财经

天承科技子公司新设分公司未披露,大客户曾遭强制执行

市场资讯 2023.04.26 15:47

作者 | 李作森

3月3日,广东天承科技股份有限公司(下称:天承科技)科创板IPO成功通过上市委会议。天承科技主要从事PCB所需要的专用电子化学品的研发、生产和销售,主要产品包括水平沉铜专用化学品、电镀专用化学品、铜面处理专用化学品等,应用于沉铜、电镀、棕化、粗化、退膜、微蚀、化学沉锡等多个生产环节。

偿债能力较好,募资补流近五成

2019年至2022年(2022年数据未经审计),天承科技分别实现营收16,778.80万元、25,724.89万元、37,549.84万元、37,444.79万元,分别实现净利润2,298.53万元、3,878.01万元、4,498.07万元、5,505.36万元,盈利状况良好。

据招股书,天承科技2019年至2022年1-9月(下称:报告期)各期末负债总额分别为3,788.76 万元、3,562.59 万元、7,258.86万元和 6,432.54 万元。合并口径下的资产负债率分别为30.96%、16.09%、21.54%、17.01%,母公司资产负债率较合并口径稍高,但也处于较低水平,分别为34.37%、21.03%、27.83%、16.99%。

而同期同行可比公司光华科技三孚新科、安美特、JCU的合并口径资产负债率均值分别为42.87%、44.61%、38.18%、33.61%,均比天承科技高。同时,除2019年外,天承科技的流动比率和速动比率两项偿债能力指标也皆领先于同行均值。据招股书,报告期各期天承科技流动比率(倍)分别为3.03、5.94、5.87、6.76,速动比率(倍)分别为2.49、5.14、4.89、5.69。而同行可比公司的流动比率(倍)均值分别为3.55、3.10、3.83、3.53,速动比率(倍)均值分别为3.03、2.72、3.33、3.10。

可见,报告期内天承科技的偿债能力较好。不仅如此,报告期内天承科技还进行了多次的现金分红:2020年5月现金分红1,800.00万元、2020年6月27日现金分红1,200.00万元、2022年2月现金分红1,000.00万元。

而此次IPO,天承科技拟募集资金40,108.85万元,投入至年产3万吨用于高端印制线路板、显示屏等产业的专项电子化学品(一期)项目(下称:一期项目)、研发中心建设项目和15,000.00万元的补充流动资金项目。

一期项目共投资17,052.70万元,其中包含了预备费516.11万元、铺底流动资金3,214.43万元;研发中心建设项目共投资8,056.15万元,其中包含了预备费383.63万元。综上,此次天承科技共计补流19,114.17万元,占募资总额的47.66%,接近五成,占比较高。

子公司新设分公司未披露

《壹财信》研究招股书时还发现,本次天承科技募投项目中一期项目和研发中心建设项目的实施主体湖北天承有限公司(下称:湖北天承)的注册资本还未足额缴纳。

湖北天承成立于2021年1月25日,天承科技持有其100%股权。招股书披露,湖北天承注册资本为4,000.00万元,实收资本仅50.00万元,截至2022年9月末其净利润为-10.36万元。

天承科技报告期内共有6家子公司,2020年注销子公司江西天承科技有限公司。截至招股书上会稿签署日(2023年2月22日),天承科技在招股书中披露其有5家全资子公司,无参股公司,并且没有披露分公司情况。

但值得注意的是,《壹财信》查询企信网发现,天承科技全资子公司上海天承化学有限公司(下称:上海天承)还存在一家分公司。上海天承成立于2020年5月21日,法定代表人为童茂军,2022年3月28日上海天承广州分公司设立,负责人亦为童茂军,童茂军为天承科技的实际控制人。

根据《公开发行证券的公司信息披露内容与格式准则第41号——科创板公司招股说明书》中第三十九条规定:“发行人应采用方框图或其他有效形式,全面披露持有发行人 5%以上股份或表决权的主要股东、实际控制人,控股股东、实际控制人所控制的其他企业,发行人的分公司、控股子公司、参股公司,以及其他有重要影响的关联方。”作为全资子公司新设立的分公司,天承科技或应在招股书中对其进行披露。

不仅如此,天承科技的子公司还曾存在被责令整改及行政处罚的情况。

2021年12月和2022年7月,上海天承接连因“特种设备/日常检查”不合规被上海市金山区市场监督管理局责令整改。

据招股书,2019年4月9日,天承科技子公司苏州天承化工有限公司因“办公区域和车间的防火门闭门器、顺序器脱落,消防设施未保持完好有效”及“车间的疏散指示标志设置不符合要求”,被苏州市公安消防支队吴中区大队两次处罚,罚金共2.00万元。

供应商、大客户不省心

除了自身被整改、处罚外,天承科技的上下游合作伙伴也不那么让其“省心”。

根据《上海证券交易所科创板企业发行上市申报及推荐暂行规定》的规定,并结合主要产品和核心技术情况,天承科技属于新材料领域的先进石化化工新材料行业。

作为电子产品化学品的供应商,天承科技采购的原材料主要包括硫酸、二甲基胺硼烷、氯化钯等。报告期内,天承科技主要原材料的采购额(不含税)分别为7,050.82万元、13,645.00万元、20,853.41万元、12,811.60万元。

西安建大博林科技有限公司(下称:建大博林)为天承科技2020年、2021年第一大供应商,2020年天承科技向其采购硫酸钯金额为4,093.26万元。查询企信网发现,2020年建大博林的社保缴纳人数为0人。

广州市博之源化学有限公司(下称:博之源化学)为2019年、2020年和2022年1-9月天承科技前五大供应商之一,各期向其采购额分别为400.32万元、900.63万元、1,048.35万元。而据企信网公示的博之源化学工商年报,其自2019年开始与天承科技合作期间的社保缴纳人数也都为0。

同时,还有大供应商被相关部门责令改正及受到环保处罚的情况。

上市公司贵研铂业自2020年开始登上天承科技前五大供应商榜单。2022年1-9月天承科技向其采购硫酸钯、氯化钯(液体)产品金额6,931.02万元,为该期第一大供应商。

据企查查,在2022年进行的“2022年高新区企业综合服务部危险化学品生产、经营(带仓储设施)企业安全生产抽查检查计划”中,贵研铂业的“对危化品企业人员和资质的检查”、“对化工和危化品工艺管理情况的检查”等事项检查结果为“发现问题已责令改正”。

另一家大供应商广东光华科技股份有限公司(下称:光华科技)在与天承科技合作期间也收到了环保罚单。2021年8月17日,光华科技因生产了尚未办理新化学物质环境管理登记手续的化学物品,被处罚1.50万元。

不仅如此,天承科技选择的外协加工供应商也存在一些问题。

佛山市三水三角洲化工有限公司(下称:三角洲化工)为报告期内天承科技的外协供应商。据企查查,三角洲化工于2022年9月购买了19.35吨易制毒化学品(硫酸),后未按规定登记记录,于2023年1月被公安机关发现查获,并处以3.00万元罚款。

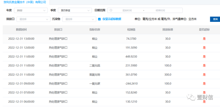
据绿网显示,另一家外协供应商贺利氏贵金属技术(中国)有限公司在2022年也有不少排污超标记录,大多为烟尘、二氧化硫、一氧化碳等废气排放量严重超标。

报告期内,天承科技还有大客户曾被法院强制执行。

重庆方正高密电子有限公司(下称:重庆方正)、珠海方正科技多层电路板有限公司、珠海方正科技高密电子有限公司凭借向天承科技的合并采购金额,登上了天承科技报告期内前五大客户榜单,各期合计交易额分别为1,880.19万元、2,412.67万元、3,765.86万元、2,680.30万元。

据企查查,三家公司皆有被法院强制执行的记录,其中重庆方正2021年被执行金额达到2,422.04万元。

加载中...